EN
产业资讯 政策法规 研发追踪 医改专题
两针13300元真的能预防新冠?全球唯一一款新冠预防药已在海南开放使用!
产业资讯 生物探索 2022-07-12 3031

全球唯一一款新冠预防药Evusheld(恩适得)将在海南使用,目前售价已披露。据悉一次性注射两针价格为13300元!Evusheld究竟是何方神药?据瑞金海南医院和博鳌超级医院称,两家医院都于7月9日开始对首批预约者进行用药。目前两家医院预约注射预防药登记人数各有十几人。

中国大陆首次先行先试

准入全球唯一的新冠预防药

7月5日,海口海关所属博鳌机场海关日前为中国大陆首次进口的中和抗体Evusheld(恩适得)(图1)完成入境特殊物品审批,货值共计2198.02万元。该药品主要用于成人和青少年(≥12岁,体重≥40kg)的新型冠状病毒肺炎暴露前预防。Evusheld在海南获批,标志着目前全球唯一一款可以用于新型冠状病毒感染预防的药物,在中国大陆首次先行先试准入。尽管尚未在我国上市,但根据“国九条”相关政策,Evusheld可在海南博鳌乐城国际医疗旅游先行区使用,尚不能使用医保结算,一次性注射两针价格为13300元。

图1 Evusheld(图源:阿斯利康官网)

Evusheld是两种长效抗体tixagevimab和cilgavimab的组合。2021年12月,Evusheld获得美国食品和药物管理局(U.S. Food and Drug Administration,FDA)的紧急批准,用于在接触病毒之前预防新冠肺炎病毒感染。此外,对新冠疫苗有副反应的人群也可接受Evusheld治疗。根据FDA公告,Evusheld需通过肌肉注射给药。两个抗体需分开、连续注射。

Evusheld是tixagevimab替沙格韦单抗(AZD8895)和 cilgavimab西加韦单抗(AZD1061)两种单克隆抗体的组合药物,源自感染SARS-CoV-2病毒后恢复期患者捐赠的B细胞。这些人类单克隆抗体由范德堡大学医学中心发现,并于2020年6月授权给阿斯利康,它们具备与SARS-CoV-2 S蛋白上的不同位点结合的能力,并由阿斯利康进行优化,延长半衰期,减少Fc效应功能(免疫球蛋白Fc部分c末端的受体)。与传统抗体相比,半衰期的延长使其作用的持久性增加到三倍多。III期PROVENT试验数据显示,保护作用至少持续6个月。降低Fc效应功能的目的是最大限度降低出现抗体依赖的疾病增强作用(即病毒特异性抗体促进而不是抑制病毒感染和相关症状的现象)的风险。

Evusheld已在欧盟获得上市许可并在英国获得有条件上市许可,用于COVID-19病毒暴露前预防。Evusheld在美国也已获得应急使用授权。Evusheld还在全球其他几个国家获得使用和销售许可。阿斯利康正在全球范围内申请将Evusheld用于COVID-19疾病预防和治疗。欧洲药品管理局在一份声明中表示,建议在12岁及以上的人接触新冠病毒之前使用Evusheld,以防止未来的感染。不过FDA强调,Evusheld无法取代疫苗,仍鼓励民众“应种皆种”。

Lancet子刊证实:Evusheld

可降低新冠重症和死亡风险

2022年6月,阿斯利康披露已将Evusheld在TACKLE III期临床试验的积极成果发表在Lancet Respiratory Medicine,研究表明Evusheld可降低新冠重症和死亡风险。

图2 研究成果(图源:[1])

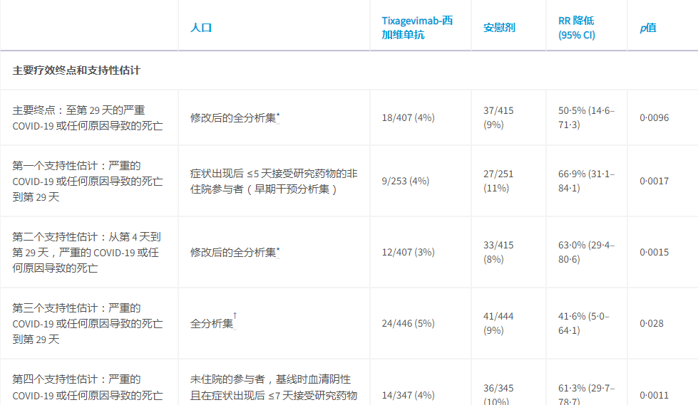
对患有轻至中度COVID-19的未住院成人早期肌肉注射SARS-CoV-2中和单克隆抗体组合tixagevimab-cilgavimab具有预防疾病进展的潜力。我们旨在评估tixagevimab–cilgavimab在预防进展为严重COVID-19或死亡方面的安全性和有效性。本次研究的试验结果显示(图3):

Evusheld在门诊治疗轻度至中度新冠患者时可将进展为重症或死亡(任何原因)的相对风险显著降低50%;

对于出现症状后三天内接受治疗的参与者,Evusheld将该风险降低了88%

对于出现症状后五天内接受治疗的参与者,Evusheld将该风险降低了67%

图3 试验数据(图源:[1])

尽管其他SARS-CoV-2中和单克隆抗体已在治疗环境中显示出对抗COVID-19 的有效性,tixagevimab-cilgavimab的肌肉注射可能具有临床优势,尤其是在门诊和初级保健机构中。Tixagevimab-cilgavimab是专门为肌肉注射而配制的,可进行早期干预并易于获取。tixagevimab-cilgavimab的半衰期延长了90天(其他SARS-CoV-2中和单克隆抗体的半衰期为18-32天),由特定的YTE基因修饰产生,还可能对有症状的COVID-19 提供长期保护。尽管抗病毒疗法对COVID-19的治疗有效,但人体可能对特定药物产生耐药性,在针对COVID-19的医治中需要多种治疗方案。

bioRxiv:Evusheld可中和

Omicron所有亚变种

2022年3月,华盛顿大学发表Evusheld首个体内试验研究成果(图4),数据显示,Evusheld可减少所有受试的Omicron变异株亚系的肺部的病毒载量。

图4 研究成果(图源:bioRxiv)

多项体外以及体内研究证实,Evusheld或可有效抑制SARS-CoV-2奥密克戎变异株的复制。Evusheld特别是对具有高度传染性的BA.2变异株具有中和活性,该变异株是目前全球流行的主要毒株。这项研究还表明,Evusheld降低了所有奥密克戎变异株BA.1, BA.1.1和BA.2的病毒负荷,并减轻了肺部(体内)炎症。用于 Omicron BA.1、BA.1.1 和 BA.2.9 牛津大学的一项新临床前研究表明,Evusheld还保留了对新兴Omicron BA.4和BA.5变体的中和活性

由于SARS-CoV-2变体不断出现,编码刺突蛋白中越来越多的氨基酸变化,因此需要持续监测抗体对抗效果。当BA.1 Omicron病毒于2021年底出现时,有五种mAb疗法处于临床后期开发阶段或已获得EUA授权。用假病毒和真病毒进行的体外试验证实,来自Regeneron(REGN10933 和 REGN10987)、Lilly(LY-CoV555 和 LY-CoV016)和 Celltrion(CT-P59)的mAb疗法显示对BA的中和活性完全丧失。随后在K18-hACE2小鼠中进行的实验证实,REGN-COV2 mAb鸡尾酒完全失去了对抗BA.1变体的功效。近期,另一种抗体(LY-CoV1404,bebtelovimab)对一系列 SARS-CoV-2 毒株显示出相当大的中和活性,已获得了EUA授权,尽管还没有针对 VOC(包括Omicron)的体内保护数据发表。

▌Evusheld优先适用于免疫低下人群

据海南博鳌超级医院介绍,Evusheld优先适用于免疫低下人群,免疫功能低下者和不能接种疫苗者对该药需求更迫切,包括正在接受化疗的恶性血液肿瘤或其他肿瘤患者,器官移植后用药的患者,透析患者,正在使用免疫抑制药物的多发性硬化症和类风湿性关节炎等疾病患者

Evusheld最初获EUA授权的给药方案参考PROVENT III期暴露前预防试验的剂量,即替沙格韦单抗和西加韦单抗各150 mg肌肉注射。我国目前流行病株为Omicron BA.2变异株,因此只需要替沙格韦单抗和西加韦单抗各150 mg 肌肉注射。Evusheld给药后可能立即产生保护效果;接种疫苗的个体需要具备正常的免疫系统功能,并且在接种疫苗后经过几周时间才能产生有效的免疫应答。既往接受Evusheld用于治疗、预防新冠的个体,可随时接种新冠疫苗。而对于已接种COVID-19疫苗的个体,Evusheld应在接种疫苗后至少两周进行给药。

参考资料:

[1]Montgomery H, Hobbs FDR, Padilla F, et al. TACKLE study group. Efficacy and safety of intramuscular administration of tixagevimab-cilgavimab for early outpatient treatment of COVID-19 (TACKLE): a phase 3, randomised, double-blind, placebo-controlled trial. Lancet Respir Med. 2022 Jun 7:S2213-2600(22)00180-1. doi: 10.1016/S2213-2600(22)00180-1. Epub ahead of print. PMID: 35688164; PMCID: PMC9173721.

[2]Case JB, Mackin S, Errico JM, et al. Resilience of S309 and AZD7442 monoclonal antibody treatments against infection by SARS-CoV-2 Omicron lineage strains. Nat Commun. 2022 Jul 2;13(1):3824. doi: 10.1038/s41467-022-31615-7. PMID: 35780162; PMCID: PMC9250508.

[3]全面解读!备受关注的全球首个新冠预防药物Evusheld是如何预防新冠的 https://mp.weixin.qq.com/s/00ez41llCMIIoZ3XM58zmw

您可能感兴趣
强生自免“双子星”崛起
强生自免“双子星”崛起
产业资讯 药智网 2026-04-28 32