EN
产业资讯 政策法规 研发追踪 医改专题
2022 年 8 月药企「弹药填充」榜单出炉!
产业资讯 Insight数据库 2022-09-02 3248

开疆扩土,弹药先行。中国市场历来是兵家必争之地,刚刚过去的 8 月份,全球药企有哪些在国内新弹药准备最充足?又有哪些子弹装填最为精良?让我们从这个月的国内临床试验登记来一探究竟。

9 月第一篇文章,Insight 将带读者们一览过去一个月国内创新药临床试验登记概况,再从品种 TOP3企业 TOP3关键临床试验精选 3 个维度作回顾介绍。

据 Insight 数据库显示,8 月份国内一共公示启动了 120 项新药临床试验。其中不乏国产新药首次启动临床、关键新适应症开拓、进口重磅新药国内临床研究……

可视化分析显示,8 月份开展的临床中以早期临床试验(I 期 + I/II 期)为主,占到 58.34%;III 期临床亦有 18 项开展,占到 15%。地区分布来看,16 项(13.33%)属于国际多中心临床试验,其中 4 项有中国药企参与。

8 月国内临床试验登记分期、地区概况

来自:Insight 数据库网页版(http://db.dxy.cn/v5/home/)

靶点分布上看,多数临床试验仍然聚焦热门靶点如 PD-(L)1、CTLA4、HER2、CD19、LAG3 等,不过这些热门靶点临床试验多数处于后期;成分类别分布中化药和单抗自然是一骑绝尘,不过 ADC 已经爬到第 3 位,双抗、抗体融合蛋白也不甘落后,三者代表的下一代抗体新药正呈蓬勃发展之势。

8 月国内临床试验登记成分类别、靶点分布

来自:Insight 数据库网页版

企业 TOP3

8 月份,共 8 家药企在国内登记了至少 3 项创新药临床试验。其中 TOP3 分别为:恒瑞医药(7)、三生制药(4)、阿斯利康(4)。

8 月国内新药临床试验申办者 TOP20

来自:Insight 数据库网页版

恒瑞医药 布局广泛,多适应症齐头并进

从新药临床试验登记数量来看,曾被称为「创新一哥」的恒瑞无疑是遥遥领先的 TOP 1。其新药开发历来布局广泛,不仅限于肿瘤,还包括 2 型糖尿病、高尿酸血症等代谢疾病,以及感染、镇痛等。

7 项临床试验适应症一览

来自:Insight 数据库网页版

其中,HRS-8427 是 8 月份首次启动临床的新药。该药通过抑制细胞壁的生物合成发挥抑菌杀菌作用,临床前显示其在多个标准菌株和临床分离菌株构建的小鼠感染模型中发挥抗菌药效,安全性良好。7 月 25 日,该药首次在国内获批临床,8 月 15 日恒瑞就公示了 I 期临床试验,治疗革兰氏阴性菌感染(试验登记号:CTR20222003)。

以下为恒瑞 8 月启动的创新药国内临床试验列表:

阿斯利康 PD-1/TIGIT 双抗、PCSK9 ASO 首次启动临床

阿斯利康向来深耕中国市场。在 8 月份国内新药临床试验登记中,阿斯利康是 TOP5 榜单中唯一上榜的外企,4 个新药登记了新的临床试验。

阿斯利康 8 月新药 CDE 临床试验登记一览

其中,有两款新药是首次在国内登记临床试验,即 PCSK9 寡核苷酸药物 AZD8233 和 PD-1/TIGIT 双抗 AZD2936。

AZD8233 来源于阿斯利康与 Ionis 的合作,也称为 ION 449。这是一款 GalNAc(N-乙酰半乳糖胺)ASO 药物,可靶向抑制肝细胞内 PCSK9 mRNA 的翻译和蛋白合成。在全球范围内,该药已经进展至 II 期,今年 4 月阿斯利康公布了 IIb 期试验 ETESIAN 的积极结果,该研究旨在评估 AZD8233 在高胆固醇血症患者中的疗效、安全性和耐受性。

结果显示,AZD8233 在 50mg 剂量达到主要终点,降低低密度脂蛋白胆固醇(LDL-C)基线水平达 73%(95% CI:-77%,-68%)。此外,还达到了次要终点,包括50mg PCSK9 水平显著降低 89%(95% CI:-91%,-86%),并在给药期间维持该降低水平,到第 14 周(最后一次给药后 6 周)剂量为 50 mg。

ETESIAN 临床试验结果

来自:Insight 数据库网页版

不仅是注射剂,阿斯利康还在探索将 AZD8233 开发为口服制剂,相关试验结果于 2021 年 5 月发表于 Science Translational Medicine 期刊(DOI: 10.1126/scitranslmed.abe9117)。

AZD2936 则是一款 PD-1/TIGIT 双抗,其 TIGIT 抗体序列来自于 Compugen 公司的 COM902。2018 年,两家公司达成合作,Compugen 授予阿斯利康开发该公司 TIGIT 单特异性抗体衍生的双特异性和多特异性抗体产品的独家许可,交易金额首付款为 1000 万美元,在 2021 年 AZD2936 临床试验启动之时,Compugen 公司又收到了阿斯利康的 200 万美元里程碑付款,里程碑潜在总额高达 2 亿美元。

AZD2936 目前仍处于 I/II 期临床试验当中,全球和国内的进度保持一致。阿斯利康预计将在 2023 年度拿到其 I 期临床数据。

来自:阿斯利康官方资料

三生制药 加快管线推进!3 款新药进展至新阶段

三生制药同样有 4 项新药临床试验登记。在 8 月份,该企业临床进展迅速,3 个新药都推进到了新的阶段:SSGJ-611、SSGJ-610 进入 II 期临床开发,601A 首次启动 III 期临床。

611 是三生国健自主研发设计、筛选并人源化的抗 IL-4Rα 单克隆抗体,具有全新的氨基酸序列。611 能够通过特异性的结合 IL-4Rα,阻断 IL-4 和 IL-13 的信号传导达到缓解特应性皮炎等疾病的作用。2020 年度三生国健取得 611 的 IND 批件,并在 2021 年末启动临床,其首发适应症为特应性皮炎。

SSGJ-611 国内适应症开发甘特图

来自:Insight 数据库网页版

610 是 IL-5 单抗,具有全新的抗体可变区序列,其工艺稳定、产品质量可控、制剂稳定,在各项毒理学研究中均未发现明显的毒性反应,安全性好。拟开发适应症包括重度嗜酸粒细胞哮喘、高嗜酸性粒细胞综合症、变应性肉芽肿性血管炎、嗜酸性食管炎等。

SSGJ-610 国内适应症开发甘特图

来自:Insight 数据库网页版

601A 是采用 DNA 重组技术在 CHO 细胞中高效表达的重组 IgG1κ 型单克隆抗体,由鼠源抗人 VEGF 抗体的互补决定区和人免疫球蛋白 IgG1κ 框架构成,上市后有望在临床上成为包括湿性年龄相关性黄斑变性(wAMD)、糖尿病黄斑水肿(DME)、视网膜静脉阻塞(RVO)、病理性近视脉络膜新生血管(mCNV)等眼部疾病的候选药物。此外,该项目也是上海市科技支撑项目。

三生国健期望通过 601A 实现眼科相关治疗领域的全面覆盖。本月,该药已经启动 III 期临床研究。

SSGJ-610 国内适应症开发甘特图

来自:Insight 数据库网页版

品种 TOP3

8 月份有 4 个新药登记了不止一项临床试验,成为本月品种 TOP3:齐鲁制药的 PD-1/CTLA4 单抗复方 QL1706、东阳光药丙肝新药安泰他韦、正大天晴 PD-L1 单抗 TQB2450、百利药业 CD19/CD3/PD-L1/4-1BB 多特异性抗体 GNC-038。

QL1706 进攻宫颈癌、鼻咽癌,挑战恒瑞 PD-1

8 月份,齐鲁制药的 PD-1/CTLA4 抗体药 QL1706 新登记了 3 项临床试验。值得注意的是,除了两项针对宫颈癌的 II 期及 III 期临床之外,QL1706 还启动了一项 II/III 期临床,比较 QL1706 与卡瑞利珠单抗分别联合吉西他滨和顺铂一线治疗复发或转移性鼻咽癌的有效性和安全性。看来国产新药之间的相互 PK 也已经开始了,今年正大天晴的 PD-L1 单抗 TQB2450 还曾直接头对头百济神州替雷利珠单抗。

8 月 QL1706 新临床试验登记

来自:Insight 数据库网页版

齐鲁制药拥有自主研发的 MabPair 抗体专利平台,QL1706 正是来自该平台。MabPair 可实现一个细胞系表达两种抗体,且两个抗体间的比例稳定,一个产品可以同时覆盖两个靶点,阻断不同信号传导的通路,达到治疗效果叠加的效应,降低患者的经济负担。

与常规双特异性抗体平台相比,MabPair 开发的新药在结构上更接近天然抗体,成药性高,在两个抗体之间比例的配置及 Fc 骨架的选择灵活性方面有很大的优势。该平台基于电荷不同相互作用方式解决了轻、重链错配问题,更大程度地确保了抗体药物的稳定性。

MabPair 平台 vs 单抗联用/双抗

来自:Sound Biologics

据 Insight 数据库显示,QL1706 在 2020 年首次启动临床,目前已经针对宫颈癌、小细胞肺癌、结直肠癌、鼻咽癌、肝细胞癌、肾细胞癌都开展了临床研发。

QL1706 国内临床试验甘特图

来自:Insight 数据库网页版

TQB2450 国内 28 项临床推进中!深度协同自研管线

TQB2450 是正大天晴开发的 PD-L1 单抗。8 月份该药启动了两项新的临床试验,一项 II 期临床联用自家管线安罗替尼一线治疗晚期子宫内膜癌(CTR20221688),一项 Ib/II 期临床联用自家 TIM3 单抗 TQB2618(CTR20221911)。

8 月 TQB2450 新临床试验登记

来自:Insight 数据库网页版

PD-(L)1 单抗已经成为肿瘤领域的一大基石疗法,联用方案的开发成为后续发展大势之一。各大药企都在围绕自家产品展开广泛的内部联用和外部合作,正大天晴也不例外,安罗替尼是 TQB2450 的最常见联用搭档,28 项 TQB2450 临床试验中有 21 项都联用了安罗替尼。不过,TIM3 单抗 TQB2618 还是首次启动联用临床。

目前,TQB2450 已经针对 5 大癌种启动了 III 期临床。

TQB2450 III 期临床试验进展

来自:Insight 数据库网页版

GNC-038 首个四特异性抗体

GNC-038 是百利药业研发的 CD19/PD-L1/4-1BB/CD3 四特异性抗体,也是首个进入临床的四特异性抗体。该药针对非霍奇金淋巴瘤开发,2020 年 10 月首次启动临床,目前已经登记了 4 项临床试验,其中两项都在 8 月份启动。

8 月 GNC-038 新临床试验登记

来自:Insight 数据库网页版

百利的多特异性抗体 GNC 技术(Guidance navigation and control )在 IgG 基础上串联 3 个 scFv 搭建对称的四特异性抗体。其中 PD-L1、4-1BB、CD3 为免疫调节功能,第 4 个靶点为肿瘤抗原。

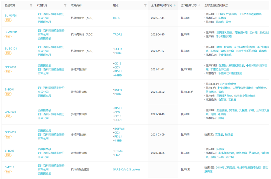
百利药业在美国西雅图设立了一家全资子公司西雅图免疫(Systimmune)。这是一家创新型生物药研发公司,聚焦中、美均高发的恶性肿瘤领域,研发真正满足临床需求、疗效有重大突破的原创抗体药物。通过在美国设立该研发公司,百利希望分享前沿的研发成果和丰富的科学家资源,在中国配套开发与生产,力争同步进入中、美、欧市场。

目前,来自 Systimmune 的 9 个新药项目已经在国内进入临床开发阶段,其中包括另外 2 款来自于 GNC 平台的多特异性抗体 GNC-035(ROR1)、GNC-039(EGFRvIII)、3 款 ADC,以及其他抗体药物。

Systimmune 国内启动临床的新药管线

来自:Insight 数据库网页版

重磅临床试验回顾

除登记数量榜上有名的企业和品种之外,8 月份亦有不少重磅临床试验在中国启动。在这一部分,我们列举其中三项代表性临床试验做简单介绍。

第一三共 HER3 ADC 国内挺进 III 期临床,能否成为 EGFR-TKI 耐药破局者?

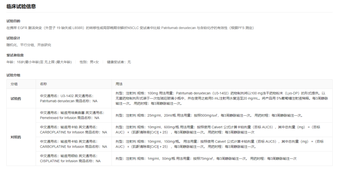
8 月 31 日,据 Insight 数据库显示,第一三共在国内启动了 HER3 ADC 新药 Patritumab deruxtecan(研发代号:U3-1402)的 III 期临床试验(试验登记号:CTR20222222)。

这是国际多中心临床 HERTHENA–Lung02 研究的中国部分,在携带 EGFR 激活突变(外显子 19 缺失或 L858R)的转移性或局部晚期非鳞状 NSCLC 受试者中比较与含铂化疗的有效性,主要终点为 BICR 评估的 PFS。试验由吴一龙教授牵头,计划在国内 20 个中心招募 84 例患者。

临床试验详情

来自:CDE 官网

据 Insight 数据库显示,U3-1402 最早在 2021 年 5 月在中国首次申报临床,迄今为止,已经登记启动了两项临床试验,包括一项三线治疗 EGFRm NSCLC 的 II 期注册临床 HERTHENA–Lung01 研究,和本次启动的二线治疗 EGFRm NSCLC 的 III 期 HERTHENA–Lung02 研究。

HER3 是 HER 受体酪氨酸激酶家族的成员之一,在多种类型的癌症中均有表达,其过表达可见于结直肠癌、胃癌、头颈鳞癌、乳腺癌、肺癌等。HER3 过表达与 NSCLC 癌细胞的转移及患者存活率降低有关,因此有望成为晚期、转移性 NSCLC 的新治疗手段。

U3-1402 的首发适应症为 NSCLC,在去年和今年的 ASCO 中,第一三共分别公布了 1 期临床队列 1 和队列 2 的数据,前者评估了 U3-1402 针对 EGFR 突变患者的临床数据,取得了令人惊艳的结果。尤其是对于曾接受 EGFR-TKI 治疗后各类耐药的患者,其疗效数据均与其他患者相似,这意味着 U3-1402 有望克服 EGFR-TKI 耐药。

后者则在 NSCLC 患者中广泛评估了不同类型基因突变的疗效,包括 KRAS G12C/G12D 突变、EGFR 外显子 20 插入突变、RET 融合等等,U3-1402 表现出了值得期待的疗效和可控的安全性。

U3-1402 @2021ASCO

U3-1402 @2022ASCO

来自:ASCO

康方生物双抗新药 AK112 头对头挑战 K 药,拟突破性疗法认定

8 月 26 日,据 Insight 数据库显示,康方生物登记公示了一项随机对照的多中心 III 期临床研究(登记号:CTR20222137),旨在评估 AK112 对比 pemprolizumab 一线治疗 PDL1 阳性局部晚期或转移性非小细胞肺癌(NSCLC)患者的疗效和安全性。

作为 PD-1/VEGF 双抗药物,AK112 拥有无抗血管相关出血这一安全性优势,有望使难以应用抗血管生成治疗的肺鳞癌患者获益,这也是该项 K 药头对头临床值得期待的原因之一。昨日,CDE 刚刚公示拟将该项适应症纳入突破性疗法,详见今日 Insight 次条文章《康方生物双抗新药 AK112 拟纳入突破性疗法!NSCLC 头对头挑战 K 药,底气何在?》。

近年来,国内企业已经启动了多项 K 药头对头临床试验:

国产新药头对头挑战 K 药,Insight 数据库不完全整理

礼来新一代 BTK 抑制剂 LOXO-305 霸气一挑三,国内临床已全面启动

8 月 8 日,据 Insight 数据库显示,礼来在中国启动了新一代 BTK 抑制剂 LOXO-305(Pirtobrutinib,吡托布鲁替尼)头对头伊布替尼治疗慢性淋巴细胞白血病/小淋巴细胞淋巴瘤(CLL/SLL)的 III 期开放标签、随机临床研究(登记号:CTR20221907)。这是全球多中心 III 期临床 BRUIN-CLL-314 研究的中国部分。

BRUIN-CLL-314 研究中国临床登记

来自:Insight 数据库网页版(http://db.dxy.cn/v5/home/)

吡托布鲁替尼是一款非共价的口服 BTK 抑制剂。基于与 Bruton's 酪氨酸激酶(BTK) 的可逆结合,吡托布鲁替尼可在获得性耐药 C481 突变下保持活性,提供持续的高靶向覆盖率,还可避免其他非共价 BTK 抑制剂脱靶所致的不良反应。

吡托布鲁替尼被认为是潜在 Best-in-class 的下一代 BTK 抑制剂,2019 年礼来以 80 亿美元收购 Loxo Oncology 囊获这款药物。

目前,礼来/Loxo 已经启动了 5 项关键全球大 III 期临床,覆盖超过 2000 名患者,霸气一挑三伊布替尼、阿卡替尼和泽布替尼,可谓是底气十足。 BRUIN-CLL-314 研究启动后,这 5 项临床也已经悉数在中国启动。

5 项全球 III 期临床的中国登记

来自:Insight 数据库网页版

8 月登记的重磅临床试验还远远不仅如此,文章篇幅有限,仅择取部分做简要介绍。更多新药临床动态,可关注 Insight 数据库公众号,或进入 Insight 医药情报助手小程序,随时随地查询更多数据。

您可能感兴趣
波士顿科学,大赚355亿
波士顿科学,大赚355亿
产业资讯 赛柏蓝器械 2026-04-27 140
IL-2新药biotech,融资3.25亿美元
IL-2新药biotech,融资3.25亿美元
产业资讯 药融圈 2026-04-27 133
AbbVie决定在这投资14亿美元,并融合AI
AbbVie决定在这投资14亿美元,并融合AI
产业资讯 药融圈 2026-04-27 132