EN
产业资讯 政策法规 研发追踪 医改专题
Claudin 18.2 赛道风起云涌!奥赛康、科济、荣昌…谁将突围?
产业资讯 Insight数据库 2022-09-09 4079

由于 PD-1 单抗同质化严重、赛道竞争激烈,使得「下一个 PD-1」成为了市场焦点。

基于此,TIGIT、LAG-3、TIM-3、B7-H3、Claudin 18.2 等靶点,成为了药企竞相布局的对象。

其中,在胃癌、胰腺癌等多种恶性肿瘤中被广泛激活的 Claudin 18.2 靶点,近期高光无限。各大药企竞相布局,单抗、双抗、ADC、CAR-T 细胞疗法等多种药物类型百花齐放,下一个重磅炸弹会由此诞生吗?

Claudin 18.2 靶向药出海频频

在 PD-1 单抗深陷内卷的背景下,靶点多元化、适应症多元化成为出海的关键考量。

就 Claudin 18.2 靶向药而言,由于存在差异化的竞争优势,这两年就至少发生过 8 次国内企业相关的医药交易,尤其 License out 交易更是频频爆发。

例如,2021 年 8 月,石药集团以最高可达 6.5 亿美元的交易金额将 Claudin 18.2 单抗 NBL-015 授权给美国 Flame Biosciences 公司;2022 年 7 月,石药集团又以 11.95 亿美元以及高至双位数的销售提成将 Claudin 18.2-ADC 药物 SYSA1801 授权给 Elevation Oncology。

今年以来,Claudin 18.2 靶向药不仅频频出海,而且药物类型更加多元,涉及双抗、ADC、CAR-T 等。

比如,2022 年 4 月,和铂医药以 3.5 亿美金将 Claudin 18.2 x CD3 双抗 HBM7022 授权给跨国制药巨头阿斯利康;5 月,礼新医药以总价值 10 亿美元将 Claudin 18.2-ADC 药物 LM-302 授权给 Turning Point;7 月,科伦博泰与默沙东就 ADC 项目 B 达成第二笔交易,总额超 9 亿美元,业内推测大概率为 SKB315。

2021 年至今 CLDN18.2 靶点国内企业相关交易

来自:Insight 数据库网页版 (http://db.dxy.cn/v5/home/)

归其原因,之所以 Claudin 18.2 靶向药能频频出海,就在于 Claudin 18.2 靶点展现出了不错的发展潜力。

Claudin 18.2 是 Claudin 18 的两个蛋白亚型之一,在正常组织中主要表达在分化的胃粘膜上表皮细胞上,不表达在胃干细胞上,然而在多种原发性恶性肿瘤如胃癌、胰腺癌、食管腺癌、结肠癌、肝癌等及其转移灶中,均发现了 Claudin 18.2 的异常激活和过度表达。

正是由于 Claudin 18.2 在正常组织表达的高度特异性,以及在多种癌症中的激活表达,展现出的良好治疗效果、安全性及可耐受性,使其成为了极具潜力的新型肿瘤治疗靶点。

从市场前景看,由于 Claudin 18.2 在胃癌、胰腺癌中的表达率较高,分别为 60-80%、63%,因此获益于 Claudin 18.2 抑制剂的患者人数庞大。其中,中国胃癌发病人数约占全球总发病人数的 40%。

根据弗若斯特沙利文报告,2016 年至 2020 年,全球新诊断胃癌病例从 98 万例增至 108.9 万例(包括中国约 47 万例)。预计到 2025 年,全球新胃癌患者发病总数将达到 125.6 万(包括中国约 54.6 万例),到 2030 年将达到 143.5 万(包括中国约 62.2 万例)。

2020 年,中国胃癌药物市场规模达到 43 亿美元,预计于 2025 年将增至 79 亿美元,复合年增长率为 12.8%;预计从 2025 年至 2030 年,中国市场将按 10.2% 的复合年增长率增长,至 2030 年市场规模将达 128 亿美元。

另外,根据弗若斯特沙利文的统计和预测,2019 年全球胰腺癌发病人数达到约 47.2 万人,2016-2030 年间的年复合增长率约为 2.7%-2.8%,2030 年可升至 63.9 万人。中国胰腺癌发病人数于 2019 年达到 10.8 万人,预计将于 2030 年达到 15.2 万人。

CLDN18.2 靶点全球近百款新药在研!安斯泰来进度领先

如前文所述,以 Claudin 18.2 为靶点开发的药物,涉及单抗、双抗、ADC、CAR-T 细胞疗法等,涵盖了当下主要的产品形式。据 Insight 数据库显示,全球至少已有 112 个 CLDN18.2 项目在推进,单抗、双抗和 CAR-T 疗法均超过 20 种,ADC 药物也超过 17 个。

CLDN18.2 靶点成分类别分布

来自:Insight 数据库网页版 (http://db.dxy.cn/v5/home/)

由于 Claudin 18.2 在胃癌及胰腺癌中表达率较高,目前在研适应症主要集中于胃癌、胰腺癌、胃食管交界处癌领域,但临床进度多处于前期阶段。

CLDN18.2 靶点适应症分布

来自:Insight 数据库网页版 (http://db.dxy.cn/v5/home/)

整体来看,进度最快的是安斯泰来研发的 Zolbetuximab(IMAB362),这是目前唯一一款进入 III 期临床研究的靶向 Claudin 18.2 单抗。

CLDN18.2 靶点新药开发阶段分布

来自:Insight 数据库网页版 (http://db.dxy.cn/v5/home/)

根据此前安斯泰来在 2021 ASCO 大会上公布的研究数据,使用 Zolbetuximab + CAPOX(卡培他滨+奥沙利铂)化疗方案治疗局部晚期或转移性胃癌患者,中位无进展生存期为 7.9 个月,中位总生存期 13.2 个月;仅采用 CAPOX 化疗方案治疗的患者,中位无进展生存期为 4.8 个月,中位总生存期为 8.4 个月。这意味着,采用 Zolbetuximab 治疗,患者的无进展生存期和总生存期延长了近一半。

另一项临床试验 FAST 研究的结果则显示,在 Claudin 18.2 表达比例 ≥70% 的患者中,使用 Zolbetuximab+EOX 方案(表柔比星+奥沙利铂+卡培他滨)一线治疗 Claudin 18.2 阳性的胃及胃食管交界处腺癌患者,中位无进展生存期为 9 个月 VS 5.7 个月,中位总生存期为 16.5 个月 vs 8.9 个月。

国内方面,布局 Claudin 18.2 靶向药的药企众多,包括科济药业、君实生物、信达生物、奥赛康、创胜集团等,在研产品主要集中在单抗、ADC 领域,其次为双抗、CAR-T 疗法。

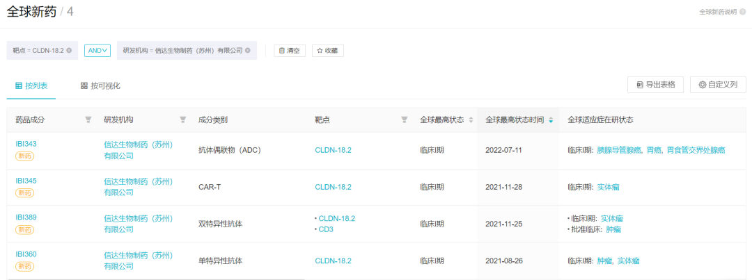
其中,信达的布局最为全面,拥有 4 款靶向 Claudin 18.2 在研产品:单抗 IBI360、双抗 IBI389、CAR-T 疗法 IBI345 和 ADC 药物 IBI343。

信达生物 CLDN18.2 管线

来自:Insight 数据库网页版 (http://db.dxy.cn/v5/home/)

奥赛康、科济、荣昌……角逐 Claudin 18.2 靶向药赛道

目前,Claudin 18.2 单抗及 ADC 赛道,已经成为了国内药企的兵家必争之地。据 Insight 数据库统计,国内临床阶段 Claudin 18.2 单抗在研新药已有 14 款。

从管线来看,奥赛康的 ASKB589、礼新医药的 LM-102、再鼎医药的 ZL-1211、创胜集团的 TST001 等在 Claudin 18.2 单抗新药研发进度中领先。

创胜集团研发的 TST001 在研适应症包括单药治疗胃癌、胰腺癌以及联合化疗治疗一线不可切除局部晚期或转移性胃癌或胃食管结合部癌(G/GEJ),目前正在全球进行多项 Ⅱ 期试验,预计将于 2023 年上半年进入 Ⅲ 期临床试验。在全球 Claudin 18.2 单抗研发进度当中仅次于安斯泰来的 Zolbetuximab,居于第二。

来自:创胜集团官网据

2022 年中报显示,今年 2 月,TST001 联合顺铂及吉西他滨用于一线治疗的局部晚期或转移性胆道癌(BTC)患者的中国 IIa 期研究成功完成首例患者给药;3 月,创胜与 BMS 合作开展评估 TST001 联合欧狄沃®(纳武利尤单抗)用于一线胃癌/胃食管连接部癌的全球临床试验。

2022 年 6 月,创胜集团在 ASCO 年会上展示了 TST001 联合 CAPOX 作为晚期或转移性 G/GEJ 癌一线治疗的 I 期临床研究剂量递增部分的临床数据,并观察到耐受性良好及令人鼓舞的初步抗肿瘤活性。在 9 名可评估的给药患者中,5 名实现部分缓解及另外 3 名实现病情稳定。

来自:Insight 数据库网页版

奥赛康自主研发的单抗 ASKB589,在分子设计和细胞株构件上采用去岩藻糖技术,进一步增强了其 ADCC 和 CDC 功能,目前正在开展 I、II 期临床试验,用于治疗胃癌、胰腺癌,初步数据显示了良好的耐受性。

ASKB589 适应症开发甘特图

来自:Insight 数据库网页版

除了单抗以外,国内药企还集中布局 ADC 药物。据 Insight 数据库显示,共有 13 款靶向 Claudin 18.2 的 ADC 新药在研,其中 8 款已进入临床阶段。信达生物、君实生物、科伦药业、石药集团、康诺亚等上市药企均有布局。

其中,荣昌的 RC118 以及礼新医药的 TPX-4589 目前正在开展 I/II 期临床研究。

国内企业处于临床阶段的 ADC 新药

来自:Insight 数据库网页版

荣昌生物的 RC118,是由抗人 Claudin 18.2 抗体通过连接子与微管抑制剂单甲基澳瑞他汀 E(MMAE)偶联而成,采用了该公司专有桥接技术,通过偶联工艺控制使得抗体与细胞毒素的平均偶联率(DAR)为 4.0±0.5,产品均一性较好。

目前,RC118 已在澳洲开展针对 Claudin 18.2 表达阳性患者的局部晚期不可切除或转移性恶性实体瘤的 I 期临床试验,在国内同样开展了一项 I 期临床,截至 2022 年 6 月 30 日已招募 5 名患者。

RC118 适应症开发甘特图

来自:Insight 数据库网页版

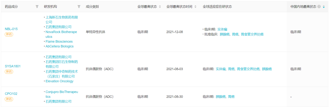
石药集团研发的 Claudin 18.2 ADC 药物 SYSA1801 用于治疗胰腺癌、以及 Claudin 18.2 单抗药物 NBL-015 用于治疗胃癌(包括胃食道结合部癌)的适应症均在 2021 年度获得 FDA 授予孤儿药资格,后又双双实现对外授权,目前两款药物均处于临床 I 期阶段。此外,石药还有一款 ADC 药物 CPO102 在研。

石药集团 CLDN18.2 管线

来自:Insight 数据库网页版

而在 CAR-T 疗法领域,科济药业则处于领先位置。此前在 2021 ASCO 上披露了亮眼的数据。

科济药业的 CT041 是一种潜在同类首创的、靶向 Claudin 18.2 的自体人源化 CAR-T 细胞候选产品,也是全球首个且唯一进入到确证性 II 期临床试验的用于治疗实体瘤的 CAR-T 细胞候选产品,用于治疗 CLDN18.2 阳性实体瘤。

目前,正在进行的 CT041 试验包括在北美的一项针对晚期胃癌/食管胃结合部腺癌(GC/GEJ)和胰腺癌(PC)的 1b/2 期临床试验 (CT041-ST-02,NCT04404595)、在中国的一项针对晚期 GC/GEJ 和 PC 的 Ib 期临床试验和一项针对晚期 GC/GEJ 的确证性 II 期临床试验 (CT041-ST-01,NCT04581473) 以及研究者发起的试验。

CT041 适应症开发甘特图

来自:Insight 数据库网页版

在 2022 ASCO 中,科济公布了两项临床试验结果。其中针对晚期胃癌/食管胃结合部腺癌的 Ib/II 期研究(NCT04581473)最新 Ib 期数据显示,截至 2021 年 12 月 22 日,14 例患者中有 8 例(57.1%)在 CT041 首次输注后的首次肿瘤评估即达到部分缓解,基于研究者评估 ORR 和 DCR 分别为 57.1% 和 78.6%。中位随访时间为 8.8 个月, mPFS 和中位总生存期(mOS)分别为 5.6 个月和 10.8 个月。至数据截止日期,有 7 例患者仍然存活。基于此,科济将推进进一步的 II 期试验。

科济表示,计划于 2024 年上半年向国家药监局提交 NDA;海外方面,计划于 2022 年下半年在北美启动一项 2 期临床试验,并于 2024 年向美国 FDA 提交 BLA。

结语

总结来看,虽然当前全球尚未有靶向 Claudin 18.2 的新药获批上市,但从现有的在研管线情况看,竞争无疑相当激烈。

这一点,从国内的 Claudin 18.2 新药布局就能看出。无论是 Claudin 18.2 单抗,还是 Claudin 18.2-ADC 赛道,每个赛道都有超过 10 家药企参与布局,且研发进度相差无几。尚未实现商业化上市,就提前上演了激烈的市场竞争。

可以预见,未来的 Claudin 18.2 靶向药赛道,必定又是像 PD-1 单抗一样的腥风血雨。就看哪家药企能率先冲线,抢占市场先发优势。

您可能感兴趣
波士顿科学,大赚355亿
波士顿科学,大赚355亿
产业资讯 赛柏蓝器械 2026-04-27 129
IL-2新药biotech,融资3.25亿美元
IL-2新药biotech,融资3.25亿美元
产业资讯 药融圈 2026-04-27 123
AbbVie决定在这投资14亿美元,并融合AI
AbbVie决定在这投资14亿美元,并融合AI
产业资讯 药融圈 2026-04-27 123