EN
产业资讯 政策法规 研发追踪 医改专题
礼来心脏代谢新药国内报临床,齐鲁、诺华、赛诺菲…RNAi 疗法卷入国内?
产业资讯 Insight数据库 2022-09-16 3454

9 月 15 日,据 CDE 官网显示,礼来心脏代谢新药 LY3819469 注射液在国内递交的临床试验申请获受理(受理号:JXHL2200285)。

来自:CDE 官网

Dicerna 与礼来达成合作2 款 RNAi 疗法进入临床阶段

LY3819469 是一款心脏代谢在研新药,其 IND 申请已于 2021 年 5 月获 FDA 批准,当前正在开展一项针对心脏代谢疾病的 I 期临床研究(登记号:NCT04914546)。

LY3819469 是基于 Dicerna 公司 GalXC™ RNAi 技术平台开发的一款 RNAi 候选药物。2018 年,礼来与 Dicerna 公司达成全球许可和研发合作,重点关注心脏代谢、神经退行性疾病和疼痛领域潜在新药的发现、开发和商业化。

根据协议条款,Dicerna 将获得 1 亿美元的预付款,以及 1 亿美元的股权投资。此外,Dicerna 将有资格获得高达 3.5 亿美元的开发和推广里程碑付款,以及产品销售分成。

此次合作主要基于 Dicerna 专有的 GalXC™ RNAi 技术,该技术平台旨在推动下一代基于 RNAi 疗法的开发,以沉默肝脏中的致病基因。基于 GalXC 技术的产品可实现皮下给药,延长作用时间,降低给药频率,为患者带来更多便利。GalXC™ 方法旨在优化 RNAi 通路的活性,使其以最具特异性和最有效的方式运作。

Dicerna 最初设计的 RNAi 技术平台主要针对肝脏疾病领域,不过,当前 Dcerna 也在探索其他领域,其 RNAi 技术与 GalXC-Plus 的新应用拓展了肝脏靶向 GalXC 技术对肝脏以外组织和细胞类型的功能和应用。

LY3819469 是两家公司合作开发的第二款进入临床阶段产品,此前于 2020 年 11 月,其合作的另一款 RNAi 疗法候选药物 LY3561774 已获 FDA 批准临床,当前正在开展正对高脂血症的 II 期临床研究(登记号:NCT05256654),暂未在国内报临床。

LY3819469 全球开发进度甘特图

来自:Insight 数据库网页版(http://db.dxy.cn/v5/home/)

除已进入临床阶段的这两款产品外,两家公司也正在合作推进多款临床前的开发进度,计划合作超过 10 个靶标。

Dicerna 与 MNC 广泛合作33 亿美元诺和诺德重金收购

除礼来外,Dicerna 的 RNAi 技术平台同样受到 Alexion、罗氏、诺和诺德等多家企业的青睐,已在各领域达成多项合作。

Dicerna 合作项目

来自:企业官网

2017 年勃林格殷格翰与 Dicerna 合作开发非酒精性脂肪肝炎(NASH)药物。截至当前,双方已经合作了第二个肝病靶点。根据协议条款,勃林格殷格翰将负责对今后的治疗靶点进行临床开发及商业化。Dicerna 有权获得开发及商业化里程碑付款以及全球净销售额的特许权使用费。

2018 年Alexion 与 Dicerna 达成合作,共同开发针对两个补体途径靶点,用于治疗补体介导疾病的 RNAi 疗法。

2019 年 罗氏与 Dicerna 宣布了一项针对慢性乙型肝炎病毒(HBV)感染的全球许可和研究合作。两者合作的新药项目相对来说开发进展更快。

Dicerna 和罗氏公司合作开发的乙肝基因疗法 RG6346(RO7445482,DCR-HBVS)当前正在全球范围内开展一项 RG6346 II 期联合试验(登记号:NCT04225715)。在国内,也已于 2021 年 3 月获批临床(受理号:JXHL2000331)。

RG6346 全球开发进度甘特图

来自:Insight 数据库网页版

此前,Dicerna 曾披露 RG6346 I 期临床试验数据,研究结果显示,治疗 4 个月后,RG6346 能够使受试者的乙肝表面抗原产生实质性、持久性下降,且在最后一次给药后 1 年随访期间仍能保持。此后,在 2021 AASLD 会议上公布了 1 期药代动力学(PK)数据。结果显示,亚洲与非亚洲人群 PK 数据基本一致

2019 年 11 月,常年深耕代谢疾病的诺和诺德与 Dicerna 宣布了一项专注于心脏代谢疾病的全球许可和研究合作。此后,诺和诺德与 Dicerna 保持密切合作,已经探索了 30 多个肝细胞靶点,涉及非酒精性脂肪性肝炎、2 型糖尿病、肥胖等适应症。

但诺和诺德并不止步于此,于 2021 年 12 月斥资 33 亿美元重金收购了 Dicerna,以进一步加速 RNAi 药物研发以及扩展 RNAi 技术的应用,成为当年医药领域溢价率最高的收购案之一。

诺和诺德收购 Dicerna

来自:Insight 数据库网页版

诺和诺德此前预计,将于今年启动第一个目标的临床开发。据不完全统计,2022 年迄今,除本次在国内申报 LY3819469 外,从全球范围内看,另有两款与礼来合作的产品 LY3849891 以及 LY3561774 研发进度推进到新阶段。

LY3849891、LY3561774 2022 年研发进度推进到新阶段

来自:Insight 数据库网页版

LY3849891 于今年 5 月于境外首次公示临床,当前正在日本、美国开展一项针对非酒精性脂肪性肝病的 I 期临床试验(登记号:NCT05395481)。而 LY3561774 于今年 2 月启动 II 期临床研究。

此外,值得一提的是,此前与 Dicerna 专利官司缠斗多年的 Alnylam 于 2020 年 4 月与 Dicerna 达成合作,双方将就 ALN-AAT02 和 DCR-A1AT(Belcesiran),开展一项治疗与 α-1 抗胰蛋白酶(A1AT)缺乏症相关肝病(α-1 肝病)治疗药物的研发合作。此外,两家公司还为其治疗 PH 的 Lumasiran 和 Nedosiran 的研究计划达成了各自知识产权的交叉许可。

相信两家 RNAi 疗法巨头的联手,今后将为 RNAi 赛道带来更多重磅产品。

全球 228 款 RNAi 疗法在研罗氏、诺华、赛诺菲…卷入国内

RNAi 并非是新兴技术,然而此前由于其稳定性、体内递送技术等原因,RNAi 药物研发一度陷入低谷,直至 2018 年 Alnylam RNAi 药物 ONPATTRO(PATISIRAN) 获 FDA 批准上市,再次让 RNAi 赛道成为焦点。此后,RNAi 领域交易活跃。

2019 年,诺华斥资 97 亿美金收购 The Medicines Company,以获得降胆固醇 RNAi 药物 Lnclisiran;

2020 年,黑石集团与 Alnylam 达成 20 亿美元融资合作,以用于 RNAi 行业的研发;

2021 年,除诺和诺德收购 Dicerna 外,葛兰素史克与 Arrowhead 公司的合作也备受关注,葛兰素史克以总额超 10 亿美元引进治疗 NASH 的 RNAi 疗法;……

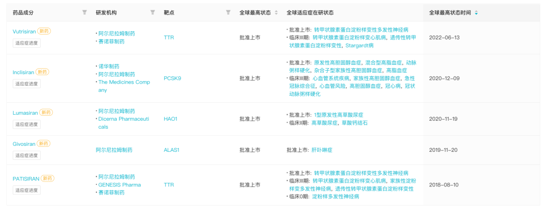
不断有跨国药企加速进军 RNAi 领域,这也带火了该赛道,目前,据 Insight 数据库显示,全球共有 228 款 RNAi 疗法在研进入临床阶段的有 99 款,其中有 5 款已获批上市,具体如下:

全球已获批上市的 5 款 RNAi 疗法

来自:Insight 数据库网页版

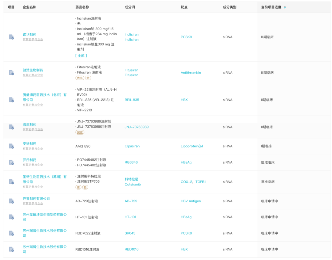
而对于国内企业来说,当前还处于初级阶段,共有 11 款新药进入临床阶(含申报临床),其中进展最快的进口产品,包括诺华 Inclisiran 以及赛诺菲 Fitusiran,已处于 III 期临床阶段;罗氏强生、安进等均有布局。

此外,广州市香雪制药引进的科特拉尼已于 2017 年在国内获批临床,齐鲁引进的 AB-729 目前还处于申报临床阶段。

从国产企业布局来看,目前该领域相对空白,仅有瑞博生物的 SR043、RBD106 以及苏州星曜坤泽生物的 HT101 3 款国产 siRNA 产品已进入临床阶段(含申报临床)。

国内 11 款 RNAi 疗法进入临床阶段

来自:Insight 数据库网页版

您可能感兴趣
波士顿科学,大赚355亿
波士顿科学,大赚355亿
产业资讯 赛柏蓝器械 2026-04-27 125
IL-2新药biotech,融资3.25亿美元
IL-2新药biotech,融资3.25亿美元
产业资讯 药融圈 2026-04-27 119
AbbVie决定在这投资14亿美元,并融合AI
AbbVie决定在这投资14亿美元,并融合AI
产业资讯 药融圈 2026-04-27 119