EN
产业资讯 政策法规 研发追踪 医改专题
一线乳腺癌!恒瑞「达尔西利」新适应症报上市
产业资讯 Insight数据库 2022-10-21 4762

10 月 20 日,CDE 官网显示,恒瑞医药的 CDK4/6 抑制剂达尔西利新适应症报上市。根据此前企业披露的信息,这项适应症大概率为:一线治疗 HR+/HER2- 晚期乳腺癌。

来自:CDE 官网

达尔西利(研发代号:SHR6390)由恒瑞自主研发,去年刚刚获批上市,是首款获批的国产 CDK4/6 抑制剂。据 Insight 数据库显示,该药最早的临床申请起始于 2014 年,历时 7 年开发,2021 年 4 月成功递交了二线疗法上市申请,仅 8 个月就获 NMPA 批准。而在今年 8 月 29 日,恒瑞又宣布一线适应症 III 期临床试验 DAWNA-2 研究(ClinicalTrials.gov 登记号:NCT03966898)已经达到了主要终点,大概率为本次申报的新适应症。在 9 月份的 ESMO 年会上,DAWNA-2 研究数据已经公布(#LBA16):DAWNA-2 研究结果首次公布 @2022 ESMO


来自:Insight 数据库临床结果模块截图(http://db.dxy.cn/v5/home/)

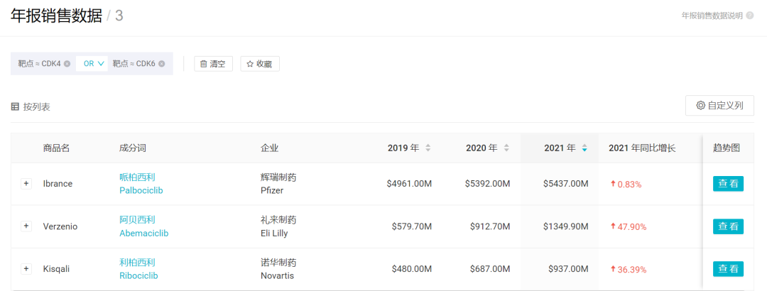
DAWNA-2 研究入组 456 例患者,按照 2:1 比例随机分为达尔西利+来曲唑/阿那曲唑或安慰剂+来曲唑/阿那曲唑,中位随访时间分别为 21.7 和 21.4 个月。主要终点是研究者评估的 PFS,次要研究终点包括独立评审委员会 (IRC) 评估的 PFS、OS、ORR、DoR、临床获益率(CBR)和安全性。研究结果显示,主要研究终点上,达尔西利组与安慰剂组研究者评估的 PFS 分别为 30.6 vs 18.2 个月;HR 0.51,单侧 P 值<0.0001。次要研究终点上,达尔西利组与安慰剂组独立评审委员会 (IRC) 评估的 PFS 分别为 NR vs 22.5 个月,HR 0.50,单侧 P 值<0.0001;其他次要研究终点上,达尔西利组与安慰剂组的 ORR 分别为 57.4% vs 47.7%,CBR 分别为 86.8% vs 79.7%,DoR 分别为 NR vs 15.0 个月。CDK4/6 抑制剂自从上市以来,已经赢得了巨大成功,仅看全球三大主要玩家,2021 年合并销售额就超 77 亿美元之多。

三大 CDK4/6 抑制剂近 3 年全球销售额


来自:Insight 数据库年报销售数据

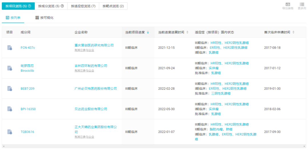
不过在国内,要在这一市场中脱颖而出并不容易。辉瑞哌柏西利早在 2018 年度就首先上市,且获批了片剂、胶囊双剂型,但已有 3 款仿制药获批,还有 9 款在申报。礼来的阿贝西利在 2020 年度获批上市,是国内获批适应症最多者,一线、二线、辅助治疗适应症全部铺开。诺华利柏西利也在去年递交上市申请,如今还尚未获批。国产原研药的维度来讲,恒瑞是首款也是当前唯一一款,其进度可以说是遥遥领先,在其他国内企业还未开始上市申报流程时,恒瑞已经开始将适应症向前推,拓展到一线。不过其后隐含的压力仍旧不小,因为还有 6 款同类产品(包括嘉和生物引进的 Lerociclib)已经处于 III 期开发阶段,离申报上市只差临门一脚。

最高处于 III 期临床的国产 CDK4/6 创新药

来自:Insight 数据库项目进度模块

您可能感兴趣
波士顿科学,大赚355亿
波士顿科学,大赚355亿
产业资讯 赛柏蓝器械 2026-04-27 91
IL-2新药biotech,融资3.25亿美元
IL-2新药biotech,融资3.25亿美元
产业资讯 药融圈 2026-04-27 85
AbbVie决定在这投资14亿美元,并融合AI
AbbVie决定在这投资14亿美元,并融合AI
产业资讯 药融圈 2026-04-27 85