会员动态
米内网
2023-04-19
3687
近日,科伦药业公告称,公司按新注册分类报产的复方电解质注射液(Ⅱ)获批上市,为国内首家过评。复方电解质注射液(Ⅱ)为等渗电解质溶液,2021年在中国公立医疗机构终端销售额接近2亿元,同比增长33.17%。
复方电解质注射液(Ⅱ)是由德国贝朗研发,2005年欧盟首获批,2012年中国批准进口,用于治疗伴随或预期出现酸中毒的等渗性脱水,补充细胞外液丢失。
该产品在临床常用的晶体平衡液基础上进一步优化调整了产品配方,采用独特的醋酸与苹果酸双酸根配方,可持续有效维持酸碱平衡、避免高氯血症与乳酸酸中毒,且苹果酸可降低氧耗减少患者肝肾损伤。
中国公立医疗机构终端复方电解质注射液(Ⅱ)销售情况(单位:万元)
来源:米内网中国公立医疗机构药品终端竞争格局
目前复方电解质注射液(Ⅱ)已被多个国内外权威指南广泛推荐使用。米内网数据显示,2021年中国城市公立医院、县级公立医院、城市社区中心以及乡镇卫生院(简称中国公立医疗机构)终端复方电解质注射液(Ⅱ)销售额接近2亿元,同比增长33.17%;2022年上半年其销售额超过1亿元,同比增长32.38%。
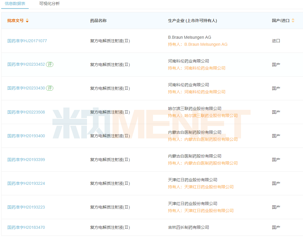
复方电解质注射液(Ⅱ)国内获批情况
来源:米内网数据库
含原研厂家在内,目前国内有6家企业拥有复方电解质注射液(Ⅱ)生产批文,包括吉林四长制药、天津红日药业、内蒙古白医制药、哈尔滨三联药业等。其中,科伦药业的复方电解质注射液(Ⅱ)为国内首家过评品种,有利于提升该产品的市场竞争力。
2023年至今科伦药业获批品种
来源:米内网数据库
今年以来,科伦药业已有10个品种获批生产并视同过评,其中2个为首仿,分别为注射用头孢西丁钠/葡萄糖注射液及泊沙康唑口服混悬液。截至目前,科伦药业已有114个品种通过或视同通过一致性评价。
会员动态
药渡
2026-03-23
110
会员动态
中国医药创新促进会
2026-03-23
109
会员动态
医药魔方Info
2026-03-20
213