产业资讯
药智医械数据
2023-08-04
4845
8月1日,国家药监局批准西安大医集团股份有限公司(以下简称“大医集团”)生产的医用电子直线加速器上市,这是一款创新医疗器械。
图片来源:NMPA官网
据官网显示,该产品由机架、束流产生模块、射野成形模块、治疗床、图像引导系统、控制系统组成,属国内首创,用于对人体适合接受放射治疗的实体肿瘤和病变提供图像引导下的三维适形放射治疗、适形调强放射治疗、容积调强放射治疗以及体部立体定向放射治疗。
该产品应用带导电滑环的环形机架,对于临床上较复杂的需要多弧连续治疗的患者,可缩短治疗时间,提高治疗效率。
跨国企业纷纷本土化
肿瘤治疗设备市场潜力巨大
放射治疗设备是肿瘤治疗领域的一类重要工具,主要包括医用电子加速器、伽马刀、Cyberknife(射波刀),TomoTherapy(托姆刀)、质子重离子设备等。其中医用电子加速器是当前国内放射治疗的最主要设备,技术积累、市场份额均处于领先地位。
据药智医械数据统计,目前我国已批准30余款医用电子加速器上市,国产占比68.6%,生产企业包括瓦里安、医科达等跨国企业及新华医疗、联影等本土企业。
数据来源:药智医械数据——中国上市医疗器械数据库
值得一提的是,最初瓦里安及医科达生产的医用电子加速器作为进口产品在我国注册上市,但在中国市场飞速的扩增及政策对医疗器械产业扶持力度加大的趋势下,两家企业实现中国本土化,近年来其产品都成功拿下“国械注准”注册证编号。
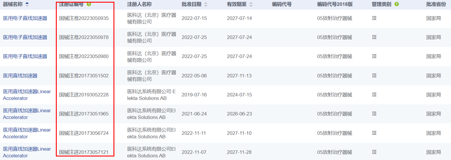
瓦里安在我国上市的部分医用电子加速器产品
医科达在我国上市的部分医用电子加速器产品
图片来源:药智医械数据——中国上市医疗器械数据库
跨国企业的本土化一定程度上刺激了我国本土企业的创新。以大医集团的医用电子直线加速器为例,近年来本土企业在医用加速器的研发生产方面进步巨大,尤其在技术的先进性、质量的可靠性,产品的一致性和稳定性方面都已取得不同程度的提升。
日前,大医集团的x/γ射线一体化放射治疗系统(TAICHI)获得美国食品药品监督管理局(FDA)授予的“突破性医疗器械”认定,是我国首个获得该认定的大型医疗设备产品。
当前,国产放疗设备已经形成了一个完整的体系,具备提供整套放疗解决方案以服务于患者治疗的能力,今后也有更多优秀的国产放疗设备实现新突破。
关于大医集团
大医专注创新放疗设备的专业化产业,致力于为肿瘤治疗提供前沿放疗技术、创新放疗设备、主流放疗设备和新型放疗服务模式等覆盖放射治疗全过程的解决方案,是世界上利用γ射束立体定向放射治疗技术治疗人体肿瘤和脑部疾患的先导之一。
产业资讯
研发客
2026-04-03
603
产业资讯
深蓝观
2026-04-13
9
产业资讯
医药云端工作室
2026-04-13
11