EN
产业资讯 政策法规 研发追踪 医改专题
齐鲁制药首款生物新药报上市;强生双抗获批;礼来、诺和诺德市值暴涨,GLP-1 赛道王者气质凸显… | Insight 新药周报
产业资讯 Insight数据库 2023-08-14 4425

据 Insight 数据库统计,本周(8 月 6 日—8 月 12 日)全球共有 22 款创新药(含改良新)研发进度推进到了新阶段,其中 1 款获批上市,1 款申报上市,6 款获批临床,1 款申报临床。

下文中,Insight 将分别摘取国内外部分重点项目做介绍。

国内创新药进展

国内部分,本周共有 16 款创新药(含改良新)研发进度推进到了新阶段,其中 1 款申报上市,5 款启动 III 期临床,2 款启动 II 期临床,1 款申报临床。

由于 CDE 在本周一至周三因搬迁原因无受理、审评和临床公示,本周动态较以往偏少,但仍有极大看点,尤其是齐鲁制药华东医药等企业。

本周国内首次启动临床的 3 款创新药(含改良新)

截图来自:Insight 数据库网页版 (下文如无特殊标注,为同一来源)

申报上市

1、齐鲁制药:PD-1/CTLA-4 单抗组合疗法报上市

8 月 12 日,CDE 官网显示,齐鲁制药的「艾帕洛利单抗托沃瑞利单抗注射液」申报上市获得受理(受理号:CXSS2300066)。

截图来自:CDE 官网

艾帕洛利单抗托沃瑞利单抗即 QL1706,是基于齐鲁自主研发的 MabPair 抗体平台开发的一款同时靶向 PD-1、CTLA-4 的抗体药,其中艾帕洛利单抗为 PD-1 单抗,托沃瑞利单抗为 CTLA-4 单抗。QL1706 采用创新技术对 CTLA-4 抗体的重链进行改造,降低了 CTLA-4 抗体的毒副作用,同时保持高表达、易纯化、高活性、高稳定性的特点。

MabPair 抗体专利平台可实现一个细胞系表达两种抗体,且两个抗体间的比例稳定,一个产品可以同时覆盖两个靶点,阻断不同信号传导的通路,达到治疗效果叠加的效应,降低患者的经济负担。与常规单抗/双抗平台相比,MabPair 开发的新药在结构上更接近天然抗体,成药性高,在两个抗体之间比例的配置及 Fc 骨架的选择灵活性方面有很大的优势。该平台基于电荷不同相互作用方式解决了轻、重链错配问题,更大程度地确保了抗体药物的稳定性。

值得一提的是,这也是齐鲁制药申报上市的首个大分子创新药,在伊鲁阿克之后,成为该公司创新药开发的又一个重要里程碑。

据 Insight 数据库显示,当前 QL1706 已在小细胞肺癌、结直肠癌、肝细胞癌等多个癌种开展临床试验,其中肝细胞癌、宫颈癌、NSCLC 以及鼻咽癌都已进展至 III 期临床阶段(包括 II/III 期临床)。

QL1706 III 期(含 II/III 期)临床研究

2、华东医药:国内首款乌司奴单抗生物类似药报上市

8 月 11 日,华东医药在公告中透露,其与参股企业荃信生物合作开发的乌司奴单抗生物类似药 HDM3001 已正式递交生物制品许可申请(BLA)申请。这意味着,HDM3001 有望成为国内首款上市的乌司奴单抗生物类似药。

截图来自:华东医药 8 月 11 日公告

HDM3001(QX001S)是原研 Stelara®(喜达诺®,乌司奴单抗注射液)的生物类似药,用于成年中重度斑块状银屑病的治疗。其作用机理为阻断 IL-12 和 IL-23 共有的 p40 亚基与靶细胞表面的 IL-12Rβ1 受体蛋白的结合,从而抑制 IL-12 和 IL-23 介导的信号传导和细胞因子级联反应。

据强生财报数据,Stelara® 2022 年全球销售额为 97 亿美元,同比增长 6.5%;2023 上半年全球销售额为 52.41 亿美元,同比增长 7.2%。加上合作的田边三菱,Stelara 年销售额已超百亿美元。

Stelara 年报销售数据

临床 III 期公示

1、礼来制药:口服 GLP-1R 激动剂首次在华启动临床

8 月 11 日,据 Insight 数据库显示,礼来在国内首次公示启动了口服小分子 GLP-1R 激动剂 Orforglipron 的全球多中心 III 期临床 ATTAIN-1(试验登记号:CTR20232459)。这也是 Orforglipron 在国内启动的首个 III 期临床试验。

根据过往时光轴,这项临床早在 2023 年 5 月 12 日就在 ClinicalTrials.gov 上登记,并在 6 月 5 日开始受理入组,全球已入组 124 人,目标入组人数 3000 人,主要指标完成日期预计在 2025 年 9 月 12 日。

ATTAIN-1 全球临床试验进展时光轴

礼来是 GLP-1 赛道的佼佼者,布局面面俱到。从度拉糖肽(Trulicity)开始,到同赛道遥遥领先的 GLP-1R/GIPR 双重激动剂替尔泊肽(Tirzepatide,Mounjaro),再到 GLP-1R/GIPR/GCGR 三重激动剂 Retatrutide,现今也处于 III 期临床,同类最快。不止如此,本周在华启动临床的 Orforglipron 也是全球首个启动 III 期临床的口服小分子 GLP-1RA。这也许就是近日市值攀升 5000 亿美元的底气所在。

梳理礼来 Orforglipron 和 Retatrutide 两款新药的 III 期临床,我们也可以看到,随着长期在代谢领域的深耕和市场洞察,GLP-1 赛道研发风向已变,临床阶段药物首先攻占的适应症从 2 型糖尿病转向了肥胖。在口服药物 Orforglipron 的 5 项 III 期临床登记中,有 3 项都以减重为主要目标,其中 ATTAIN-1 针对肥胖或伴有体重并发症的超重,ATTAIN-2 针对超重的 2 型糖尿病患者,在日本开展的 ATTAIN-J 纳入了 BMI ≥35 的更严重肥胖人群。

Orforglipron 全球已登记的 III 期临床

表格数据整理自 Insight 数据库,下同

Retatrutide 开展的 4 项 TRIUMPH 系列 III 期临床均针对肥胖,其中 TRIUMPH-3 针对至少 1 种心血管疾病的严重肥胖患者(BMI ≥35),另外 3 项则探索了超重/肥胖人群膝骨关节炎和阻塞型睡眠呼吸暂停(OSA)。

Retatrutide 全球已登记的 III 期临床

从临床试验登记的时间来看,这些试验的开启密集于今年 5-6 月,在这两个月礼来仅针对这两款新药就启动了 7 项大 III 期临床。全部这两款药已启动 III 期临床的目标入组人数算来,就将纳入 13181 人之多。

6 月末的 ADA(美国糖尿病协会)年会上,Orforglipron 和 Retatrutide 双双亮相,已经完成了 II 期临床数据首发。

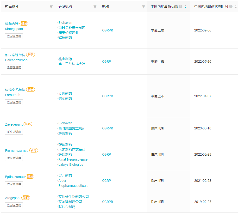
2、辉瑞制药:偏头痛鼻喷剂在华启动 III 期临床

8 月 10 日,辉瑞首次在中国登记启动了鼻喷雾剂 Zavegepant 的全球多中心 III 期临床,用于偏头痛急性期治疗。这项临床研究拟在境内纳入 980 例患者,全球拟入组患者 1400 例。

临床试验登记基础情况

Zavegepant 是第三代、高亲和力、选择性的小分子 CGRP 受体拮抗剂,来自 Biohaven 的 NOJECTION ®偏头痛平台,是临床开发中唯一同时具有鼻内和口服制剂的 CGRP 受体拮抗剂。辉瑞在 2022 年度高调宣布以 116 亿美元收购 Biohaven,正式切入偏头痛领域,而治疗偏头痛的 CGRP 受体拮抗剂组合 Rimegepant 和 Zavegepant 正是 Biohaven 的核心资产。

Zavegepant 可实现超快速缓解,最快在 15 分钟内即可起效,并可实现 48 小时的持久疗效。对于偏头痛严重患者而言,若出现恶心、呕吐等症状,通过鼻喷雾剂给药相较于口服片剂而言,潜在具有更好的依从性。Insight 数据库显示,2023 年 3 月 9 日,该药已获 FDA 批准上市。

Zavegepant 项目全球关键节点

值得一提的是,当前国内尚未有靶向 CGRP 的偏头痛药物获批上市。3 款已经申报上市,其中瑞美吉泮正是辉瑞/Biohaven 合作的 Rimegepant,是一款口服药物;另外两款均为单抗。作为鼻喷剂、口服药,Rimegepant 和 Zavegepant 将为辉瑞构建不俗的竞争力,也为偏头痛患者带来新型、便捷的用药选择。

中国处于临床 III 期及以上的 CGRP/CGRPR 偏头痛新药

首次启动临床

齐鲁制药:又一款 1 类新药启动临床

本周,齐鲁的新药动态并不止 1 款 1 类新药报产。

8 月 10 日,据 Insight 数据库显示,齐鲁 1 类新药注射用 QLF3108 首次启动 I 期临床试验(登记号:CTR20232436),针对晚期实体瘤,目标招募人数为 36 人。这款新药在 7 月 24 日刚刚获批临床,就迅速推入临床开发中。

虽然暂未披露靶点,但齐鲁制药公开信息显示,同靶点同类药物中,国外仅有 1 家处于临床 I 期开发阶段,而 QLF3108 则为国内首家进入临床的产品,竞争优势明显。QLF3108 通过激活 T 细胞,特异性杀伤肿瘤细胞;经过早期设计筛选,在增加其药物靶向性的同时提高了药物安全性。临床前研究结果显示,QLF3108 在体内和体外均表现出显著的抗肿瘤活性,且具有良好的安全性,有望为特定肿瘤人群带来全新的治疗方案,改善相应患者的治疗结局和生活质量。

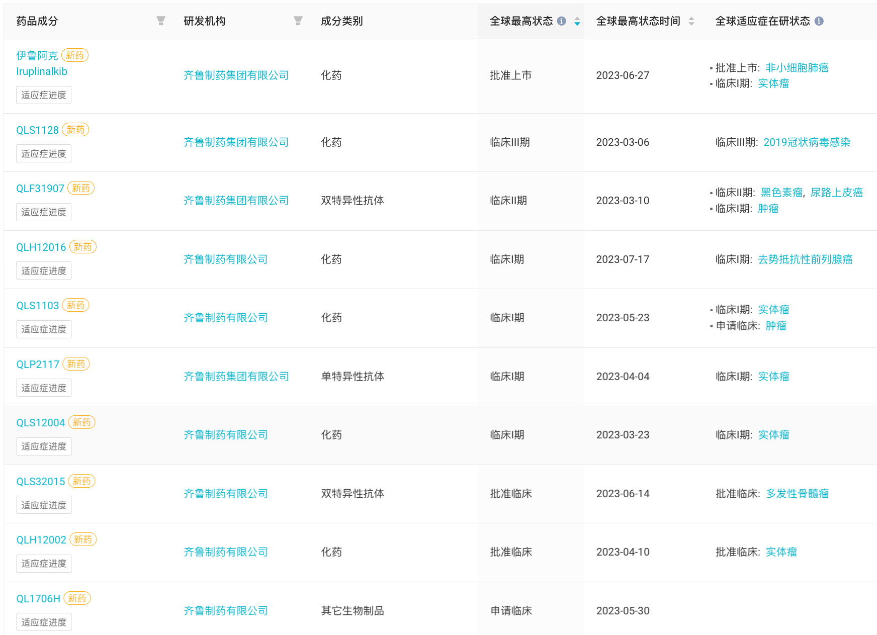
据 Insight 数据库显示,2023 年迄今,除 QLF3108 外,齐鲁制共有 10 款 1 类新药研发进入新阶段。包括 1 款伊鲁阿克获批上市,1 款QLS1128 新进入 III 期临床(登记号:NCT05758519),1 款 QLF31907 启动 II 期临床(登记号:NCT05823246/CTR20230802),以及 4 款启动 I 期临床。

齐鲁 10 款 1 类新药研发进入新阶段

从成分类别来看,以化药为主,共 6 款,另外布局了双抗、单抗等。靶点涉及 ROS1、PD-L1、CCK8、ALK 以及 4-1BB。

医药交易

华东医药:引进外用 PDE4 抑制剂,补强自免管线

8 月 11 日,华东医药宣布,全资子公司中美华东与美国纳斯达克上市公司 Arcutis Biotherapeutics, Inc. 签署了产品独家许可协议。中美华东获得 Arcutis 在自身免疫领域全球创新的罗氟司特外用制剂(包括罗氟司特乳膏剂 ZORYVE®和罗氟司特泡沫剂 ARQ-154)在大中华区及东南亚的独家许可,包括开发、注册、生产及商业化权益。

据介绍,ZORYVE®乳膏(0.3%)于 2022 年 7 月获得美国食品药品监督管理局(FDA)批准,用于治疗 12 岁及以上患者的斑块状银屑病(包括间擦区域)。2023 年 4 月,该产品获得加拿大卫生部批准上市。中美华东将向 Arcutis 支付 3,000 万美元首付款,最高不超过 6,425 万美元的开发、注册及销售里程碑付款,以及分级两位数的净销售额提成费。

本次交易涉及的产品情况

来源:华东医药公告

Arcutis 成立于 2016 年,产品管线聚焦于自身免疫性疾病领域,现有已上市产品 ZORYVE®乳膏和在研产品 ARQ-154、ARQ-252、ARQ-255 和 ARQ-234 等,用于治疗银屑病、特应性皮炎、脂溢性皮炎和斑秃等皮肤疾病。

本次华东医药引进的 Arcutis 的两款在自身免疫领域的两种剂型全球创新外用产品 ZORYVE®乳膏和在研产品 ARQ-154,活性成分均为 PDE4 抑制剂 Roflumilast(罗氟司特)。PDE4 是一种细胞内酶,可增加促炎介质的生成并减少抗炎介质的生成,抑制 PDE4 可减轻炎症反应。PDE4 与多种自身免疫性疾病和炎症性疾病有关,包括银屑病,特应性皮炎和慢性阻塞性肺病等。

据介绍,ZORYVE®乳膏是首个也是目前唯一一个被批准用于治疗斑块型银屑病(包括间擦性银屑病)的局部外用 PDE4 抑制剂,可以快速清除银屑病斑块并减少身体所有受影响区域的瘙痒症状。

相较于其他外用制剂产品,ZORYVE®乳膏采用专有 HydroARQ 技术™,使用感受不油腻,易于涂抹并迅速吸收,更重要的是不含激素,可连续、长期使用,还可用于面部、腋下、乳房下方、腹股沟或臀部等特殊部位。

此外,Arcutis 还向 FDA 提交了 ZORYVE®乳膏(0.3%)的补充新药申请(sNDA),以扩大适应症范围至 2-12 岁儿童斑块状银屑病,预计有望在 2023 年第四季度获批。

根据 Arcutis 公司财报,ZORYVE®乳膏 2023 年第一季度的销售净收入为 280 万美元,2023 年第二季度净收入为 480 万美元,环比增长 72%。

在特应性皮炎领域,Arcutis 也在持续开展多项关键性注册临床。Arcutis 预计将在 2023 年第三季度末或第四季度初向 FDA 提交 ZORYVE®乳膏(浓度 0.15%)用于 6 岁及以上年龄特应性皮炎的补充新药申请。

2023 年 5 月,Arcutis 宣布完成 ZORYVE®乳膏(0.05%)的关键 Ⅲ 期临床研究 INTEGUMENT-PED 的入组,用于治疗 2 至 5 岁患者特应性皮炎,研究顶线数据预计将在 2023 年第三季度获得,如果结果积极,将有望支持提交新的 sNDA,进一步扩大适用年龄范围。

另一款引入产品 ARQ-154 则是每日一次的 0.3% 罗氟司特泡沫剂型,拟开发适应症为脂溢性皮炎、头皮及身体银屑病,可同时治疗身体有毛发和无毛发部位,从而克服传统霜剂和软膏的局限性。

2023 年 4 月,FDA 已受理 ARQ-154 泡沫剂(0.3%)的 NDA 申请,用于治疗 9 岁及以上患者的脂溢性皮炎,PDUFA 日期为 2023 年 12 月 16 日,若成功获批则将成为二十多年来第一种具有新作用机制的脂溢性皮炎外用药物。Arcutis 计划在该产品脂溢性皮炎适应症获批后向 FDA 提交 ARQ-154(0.3%)用于治疗头皮及身体银屑病的 sNDA。

华东医药表示,此次公司引入 ZORYVE®乳膏及 ARQ-154 将进一步补充公司在自身免疫性及炎症性皮肤病领域的产品管线,ZORYVE®乳膏和 ARQ-154 作为外用制剂,有望与生物制剂乌司奴单抗生物类似药 HDM3001(QX001S)共同为儿童及成人银屑病患者带来更多用药选择。

境外创新药进展

境外部分,本周共有 10 款创新药(含改良新)研发进度推进到了新阶段,其中 1 款获批上市,1 款申报上市,7 款获批临床。

MNC 财报季已经走向尾声,不过本周礼来、诺和诺德两家代谢领域巨头的半年报发布引起极大关注,也助推两家企业双位数大涨,市值分别来到 5000 亿美元4200 亿美元之高,双双稳坐全球药企市值 TOP3 之列。

获批上市

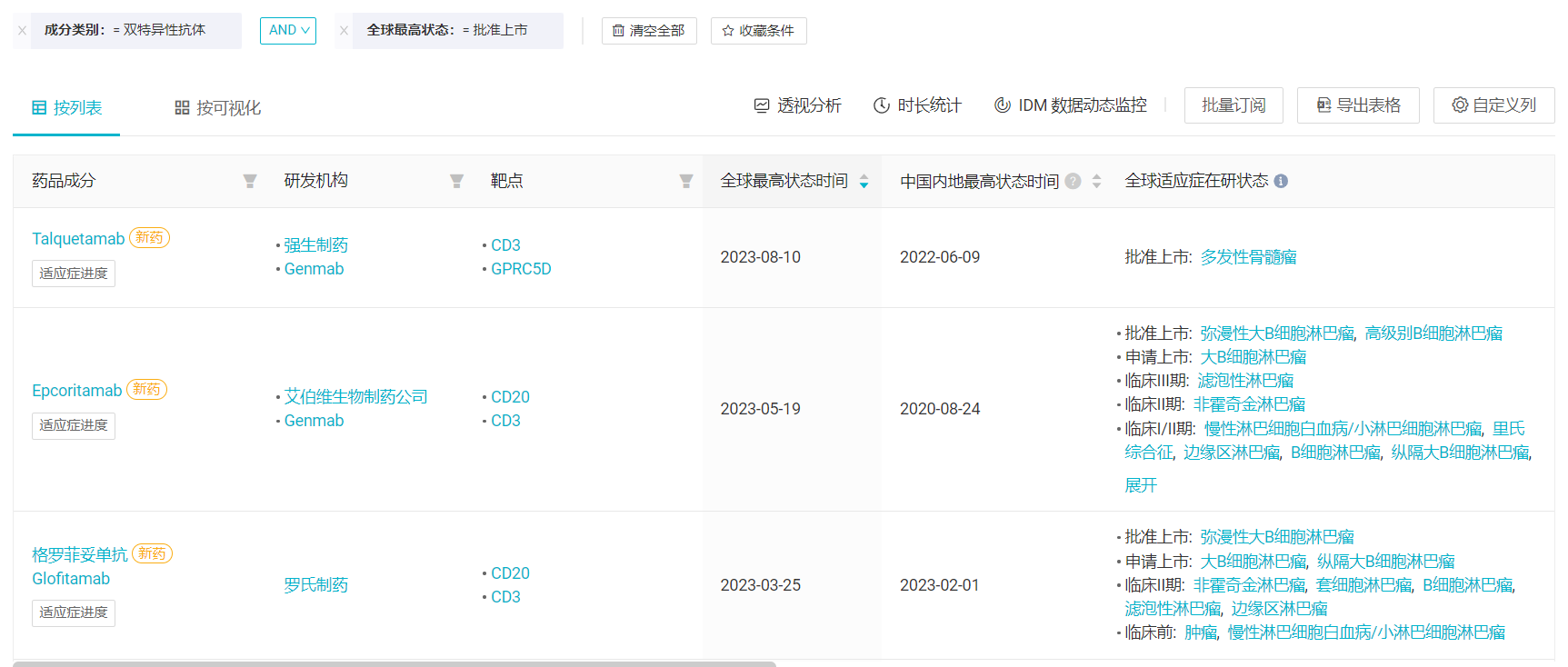
强生制药:CD3/GPRC5D 双抗获 FDA 批准上市

8 月 10 日,强生制药宣布 First-in-Class 双抗新药 Talquetamab 获 FDA 加速批准上市。Talquetamab 是一款 CD3/GPRC5D 双抗,用于既往至少接受过 ≥4 种前线疗法(包括蛋白酶体抑制剂、免疫调节剂和 CD38 抗体)的复发性或难治性多发性骨髓瘤(MM)成人患者。

截图来自:强生制药官网

强生在去年 12 月向 FDA 递交了 Talquetamab 的生物制品许可申请(BLA),该 BLA 支持数据主要来源于 I/II 期 MonumenTAL-1 临床试验的结果。结果显示,405 μg/kg、800 μg/kg 两种不同剂量的 talquetamab 治疗分别达到 73.0% 73.6% 的总缓解率,CR 率分别为 35% 和 33%。

MonumenTAL-1 试验结果

今年的双抗获批相当活跃,且从靶点和适应症上集中在 CD3 和血液瘤。Talquetamab 已经是今年获批上市的第 3 款双抗药物,前两款分别来自罗氏和艾伯维,均为 CD3/CD20 双抗,针对弥散性大 B 细胞淋巴瘤。

2023 年度获批上市的双抗新药

在中国,Talquetamab 也已经获得 CDE 的突破性疗法认定,并启动了 III 期临床研究(登记号:CTR20223266)。

财报重磅

8 月 8 日,礼来公布 Q2 及上半年财报,替尔泊肽(Tirzepatide)上半年销售额已达 15.48 亿美元,其中 Q2 单季度达到 9.8 亿美元,成绩惊人。要知道,这款新药在 2022 年 Q2 才刚刚上市,且目前仅获批用于 2 型糖尿病,最受期待的减重适应症还尚在申报。

同时礼来也更新了 2023 年财年的财务指导,相较于此前,上调了 22 亿美元至 334 - 339 亿美元。

高于预期的优秀表现,使礼来股价当日大涨 14.87%,市值一度突破 5000 亿美元,收盘 4951 亿。今年 5 月,因 Aβ 单抗 Donanemab 的 III 期临床成功,礼来才刚刚突破 4000 亿美元市值,短短 3 个月又一脚踏进 5000 亿美元门槛。

礼来 2023 至今股价变化

截图来自:Google

与礼来同赛道的主要竞争者诺和诺德也不甘示弱,当日公布了司美格鲁肽的 3 期临床研究 SELECT 试验结果,展现了司美格鲁肽在超重或肥胖人群中的优秀心血管获益,并表示将在欧美申请拓展适应症。

诺和诺德当日股价也大涨 17.23%,市值直逼强生。两家公司年初至今涨幅均已超过 40%

8 月 10 日(周四),诺和诺德也发布了 2023 H1 业绩,其上半年总销售额为 1076.67 亿丹麦克朗(约 159.24 亿美元),同比增长 29%(以不折合汇率计算)。礼来和诺和诺德都在半年报披露之际上调了全年的收入预期,诺和诺德也将全年营收预期增长率从 27% - 33% 上调到了 31 - 33%。