EN
产业资讯 政策法规 研发追踪 医改专题
信达第 5 款 ADC 启动临床,与翰森、百济、百奥泰…共同开辟 B7-H3 新赛道
产业资讯 Insight数据库 2023-08-17 4578

8 月 14 日,据 ClinicalTrials.gov 官网显示,信达登记发布了一项 B7-H3 ADC  IBI129 I/II 期临床试验(登记号:NCT05991349)。

来自:ClinicalTrials.gov 官网

其中,I 期临床计划入组 22-180 例患者,II 期临床部分计划入组约 182 例患者,并预计于 2024 年 11 月初步完成。

来自:ClinicalTrials.gov 官网

B7-H3 ADC:国内新赛道打响

与 PD-L1(B7-H1)一样,B7-H3 也是 B7 家族重要的免疫调节蛋白,广泛表达于多种人类恶性肿瘤中,除了乳腺癌、肝癌和肺癌等拥有巨大市场潜力的疾病以外,还包括子宫内膜癌、胆管癌、结肠癌和卵巢癌等,已成为新兴的免疫治疗靶点。

目前,大多数靶向治疗将 B7-H3 视为肿瘤中 T 细胞介导免疫应答的负调节因子,特异性阻断 B7-H3 可提供类似于抗 CTLA-4 单克隆抗体治疗的新靶向治疗。

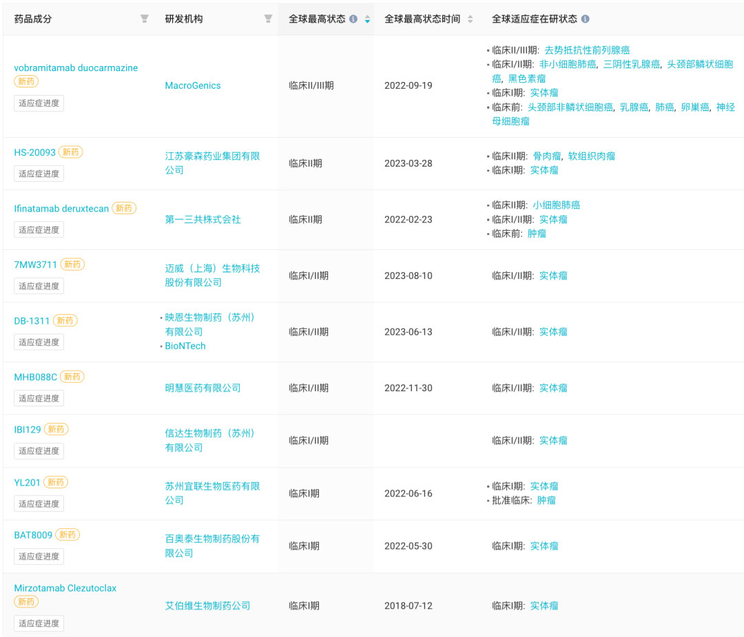
当前国内外药企也纷纷下场布局 B7-H3 ADC 。据 Insight 数据库显示,全球进入临床阶段的仅有 10 款,进展最快的是 MacroGenics 处于 II/III 期临床阶段,翰森制药 HS-20093 以及第一三共 Ifinatamab deruxtecan 紧随其后,正在开展 II 期临床试验。在国产企业中,布局企业还包括百奥泰等。

全球进入临床阶段 B7-H3 ADC

来自:Insight 数据库网页版(下文如无特殊标注,为同一来源)

作为国产企业领先者,翰森制药 B7-H3 ADC 临床数据也已披露。在今年举办的美国临床肿瘤学会(ASCO)上首次公布了 HS-20093 的临床数据。

在结构设计上,HS-20093 是通过可被蛋白酶剪切的连接子,将 IgG1 亚型全人源抗 B7-H3 单克隆抗体与小分子毒素拓扑异构酶 I 抑制剂连接,发挥抗肿瘤杀伤作用。

根据 HS-20093 的一项多中心、开放标签 I 期首次人体临床试验 ARTEMIS-001(登记号:NCT05276609)显示,截至 2023 年 3 月 10 日,剂量递增阶段共入组 53 例受试者(未筛选靶点,回顾性检测 B7-H3 蛋白表达),包括非小细胞肺癌、小细胞肺癌、骨及软组织肉瘤、食管癌、黑色素瘤和乳腺癌

根据研究者按照 RECIST 1.1 标准评估的结果,客观缓解率(ORR)为 30%,疾病控制率为 86%,中位无进展生存期(mPFS)为 5.4 个月。在小细胞肺癌受试者中,ORR 为 63.6%,所有肿瘤缓解均在首次有效性评估时发生,mPFS 为 4.7 个月,3 个月 PFS 率达 72.7%。HS-20093 在既往伊立替康治疗失败的小细胞肺癌受试者中仍然显示出抗肿瘤疗效。

另外,根据 Ia 期临床数据显示,HS-20093 的安全性可控,MTD 为 12.0 mg/kg,并且在多种现有标准治疗失败或不耐受标准治疗的晚期实体瘤受试者中显示出优异的抗肿瘤疗效,特别是在小细胞肺癌中疗效更优。

ARTEMIS-001 试验结果

曾经在 ADC 领域吃过大亏的百奥泰,仍未放弃 ADC 药物的研发,在终止上一代 ADC 技术后,又以新一代 ADC 技术平台、新的靶点、新的结构设计重头再来。

百奥泰的 B7-H3 ADC 药物 BAT8009,是由重组人源化抗 B7 H3 抗体与毒性小分子拓扑异构酶 I 抑制剂,通过自主研发的可剪切连接子连接而成,具有高效的抗肿瘤活性,毒素小分子有很强的细胞膜渗透能力,在 ADC 杀伤癌细胞后能释放并杀死附近的癌细胞,产生旁观者效应,有效克服肿瘤细胞的异质性。

同时,BAT8009 具有很好的稳定性和安全性,血浆中释放的毒素小分子极低,降低了脱靶毒性的风险,且体内外药理研究中都表现出高效的抗肿瘤活性,是一款潜在的靶向 B7-H3 的 best-in-class ADC 药物。

此外,百济神州也在布局同类产品,根据百济神州公布的 ADC 早期数据显示,B7-H3 ADC DAR 值为 8,毒素为拓扑异构酶抑制剂,采用亲水性 linker,偶联方式更为稳定。

来自:百济 7 月 18 日投资者文档

信达生物:5 款 ADC 进入临床

在 ADC 领域,据 Insight 数据库显示,当前信达共有 5 款产品进入临床阶段,除 IBI129 外,另有 IBI354、IBI130 均处于 I/II 期临床阶段、IBI343 则正在开展 I 期临床,此外,与赛诺菲合作开发的 CEACAM5 ADC 药物 IBI126 (Tusamitamab ravtansine)当前已处于 III 期临床阶段。

从靶点来看,除布局热门靶点 HER2、TROP2、CLDN-18.2 以外,也在差异化布局 CEACAM5、B7-H3。

信达临床阶段 ADC

CEACAM5 ADC

IBI126(Tusamitamab ravtansine/SAR408701)是一款潜在 First-in-Class ADC 新药,靶向癌胚抗原相关细胞粘附分子 5(CEACAM5),一种在非小细胞肺癌、胃癌和其他癌症中高度表达的细胞表面糖蛋白。

2022 年 8 月信达从赛诺菲引进该产品,信达将负责 IBI126 多个肿瘤适应症在中国的临床开发和独家商业化。赛诺菲将有权获得累计最高达 8,000 万欧元的潜在里程碑付款,以及该产品在中国获批上市后基于净销售额的特许权使用费。

IBI126 医药交易

目前,IBI126 正在全球范围内(包括中国)开展二 线非小细胞肺癌的 III 期临床研究,以 及一线非小细胞肺癌、胃癌和其他实体肿瘤的全球临床 II 期研究。

IBI126 全球项目开发进度甘特图

此外,还在探索与 PD-1 单抗联用的疗效。此前,赛诺菲公布了Tusamitamab ravtansine 联合帕博利珠单抗±化疗治疗 CEACAM5 阳性非鳞 NSCLC 患者的 II 期临床 CARMEN-LC05 试验的积极结果。

截至 2022 年 11 月 28 日,25 例患者接受了中位 21 周的治疗;48% 患者仍在接受治疗。结果显示,所有患者的客观缓解率(ORR)为 40%,疾病控制率(DCR)为 88%。安全性方面,Tusamitamab ravtansine 150 或 170mg/m2(Q3W)安全且可耐受。

CARMEN-LC05 试验结果

今年 4 月,信达还在国内启动了一项 II 期临床研究(登记号:NCT05849246/CTR20231237),探索 IBI126 与信迪利单抗联用(联合或不联合化疗)在一线非小细胞肺癌上的潜力。

NCT05849246 试验信息

当前,据 Insight 数据库显示,国内尚无同靶点 ADC 新药进入临床研究。而从全球范围内来看,也仅有 3 款产品进入临床,且临床开发处于 I 期、II 期阶段,落后于 IBI126。

全球进入临床阶段 CEACAM5 ADC(含多靶点)

HER2 ADC

IBI354 则是一款 HER2 ADC,以喜树碱衍生物为载荷。

去年 11 月,信达在 ClinicalTrials.gov 上登记启动了一项旨在评估 IBI354 治疗局部晚期不可切除或转移性实体瘤受试者的 I/II 期、多中心、开放性研究(登记号:NCT05636215),今年 7 月也启动了国内部分(登记号:CTR20232339)。

该研究计划全球入组 739 名受试者,今年 1 月已完成全球首例受试者的入组工作,预计于 2024 年 10 月完成主要指标。

CTR20232339/NCT05636215 试验历史时光轴

TROP2 ADC

IBI130 则靶向 TROP2。据 Insight 数据库显示,刚于今年 6 月在澳大利亚启动了一项 I/II 期、多中心、开放、单臂临床试验(登记号:NCT05923008),预计于今年 11 月完成首例受试者的入组工作。

NCT05923008 试验信息

CLDN18.2 ADC

IBI343 靶向 CLDN18.2,采取定点偶联技术,DAR 值稳定为 4,具有显著的旁观者效应,潜在比 Dxd(DAR8)抗肿瘤活性更强效,在临床前观察到更宽的安全性边际。

在 I 期临床中,IBI343 已经观察到初始疗效信号,且耐受性良好,多个剂量组均未观察到严重毒性时间,尚未达到剂量限制性毒性(DLT),当前正处于剂量爬坡中。

CLDN18.2 是胃癌、胰腺癌等癌种的潜力新星靶点,全球已有 74 款在研药物进入临床阶段,国内有 63 款,布局横跨单抗、双抗、ADC、CAR-T,其中 ADC 就有 12 款,成为国内仅次于 HER2、TROP2 的第 3 大 ADC 新药靶点。

而对于信达而言,针对该靶点,分别对应布局了 4 种成分类别的新药管线,除 ADC IBI343 外,布局的 CAR-T、双抗、单抗也均有产品进入临床。

信达靶向 CLDN18.2 新药管线(临床阶段)