产业资讯
制药视界
2023-10-20
3353
10月16日晚间,健民集团发布公告称,近日,公司从国家药监局网站获悉,公司研发的拉考沙胺口服溶液获批上市。该药品适用于4岁及以上癫痫患者部分性发作的联合治疗。
拉考沙胺口服溶液去年销售额暴涨1990%
拉考沙胺(Lacosamide)是由优时比公司(UCB)开发的一种新型N-甲基-D-天门冬氨酸(NMDA)受体甘氨酸位点结合拮抗剂,是具有全新双重作用机制的抗惊厥药物,属于第三代抗癫痫药物,适用于4岁及以上癫痫患者部分性发作的单药治疗和联合治疗,也是指南推荐局灶性发作一线用药。其具备独特的作用机制——选择性作用于慢失活钠通道,使钠通道关闭作用更强更加持久,从而起到很好的抗癫痫作用,为部分癫痫发作患者带来新的治疗选择。
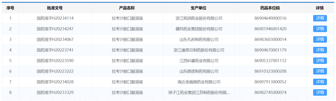
据了解,拉考沙胺最早于2008年在欧盟获批上市,作为治疗部分性发作癫痫成年和青少年患者(16到18岁,有或没有继发全身性发作)的辅助疗法。拉考沙胺片于2018年11月获批进入国内市场,拉考沙胺口服溶液于2020年7月在国内获批。经国家药品监督管理局网站查询获悉,国内有8家制剂企业(含公司)获得拉考沙胺口服溶液批准文号。
(来源:国家药监局)
米内网数据显示,拉考沙胺的全球销售额在2021年达到15.49亿欧元的峰值后,2022年回落至11.24亿欧元(按即时汇率换算约为12.14亿美元)。
拉考沙胺全球销售趋势(单位:亿欧元)
(来源:米内网数据库)
而在国内,拉考沙胺正处市场放量期,2022年在中国城市公立医院、县级公立医院、城市社区中心以及乡镇卫生院(简称中国公立医疗机构)终端销售额首破1亿元,其中拉考沙胺口服溶液增速尤为明显,同比增幅超1990%,产品潜力十足。
未来拉考沙胺市场的发展前景非常乐观
癫痫(Epilepsy)是由多种原因引起的大脑局部神经元异常高频放电并向周围正常脑组织扩散所导致的运动、感觉、意识或精神等脑功能失常行为,呈间歇性无预兆发作的慢性神经系统症状。世界卫生组织(WHO)已把癫痫列入全球重点防治的五种神经、精神疾病之一。WHO数据显示,全球约有5000万名癫痫患者,其中4000万在发展中国家。
在中国,癫痫已经成为神经科仅次于头痛的第二大常见病,目前约有1000多万癫痫患者,其中600万病人每年仍有发作。据悉,我国人口迅速老龄化,60岁以上人群的患病率特别高(4.7~6.2/1000),主要是由于脑血管疾病。
癫痫的治疗手段包括药物治疗、外科手术治疗及物理疗法等,目前药物治疗是治疗癫痫的主要方法。随着我国人口老龄化加剧,癫痫病人数量不断上升,抗癫痫药市场需求量也会随之提高,拉考沙胺市场的潜力也将逐渐释放。因此,未来拉考沙胺市场的发展前景非常乐观。
产业资讯
研发客
2026-04-03
503
产业资讯
Briinsight
2026-04-13
16
产业资讯
Medaverse
2026-04-13
13