EN
产业资讯 政策法规 研发追踪 医改专题
百济 13.3 亿美元引进的 CDK2 抑制剂,会是 CDK4/6 之后的下一个风口吗?
产业资讯 Insight数据库 2023-11-24 3209

本周二,百济神州官宣与昂胜医药达成合作,引进一款即将 IND 的 CDK2 抑制剂的全球独家许可。

值得一提的是,尽管首付款未披露,交易潜在总额却高达 13.3 亿美元之多。

那么 CDK2 抑制剂有何魅力?

CDK2 即细胞周期蛋白依赖性激酶 2,同一家族的成员 CDK4、CDK6 无疑更加有名,它们共同参与细胞周期的调控。在适应症上,主攻发病率已经超越肺癌成为第一大癌种的乳腺癌

当前,CDK4/6 抑制剂的全球市场无疑已经由辉瑞、礼来、诺华三巨头把控,2022 年度,3 款 CDK4/6 抑制剂中 2 款都进入了药品销售额 TOP100 行列,合计销售额已经达到 88 亿美元,且仍在继续攀升,预计峰值销售额将达到 180 亿美元之高。

不过,其竞争无疑也是惨烈的,同样在周二,国内第 8 款 CDK4/6 抑制剂创新药已经申报上市。

这意味着,无论作为新入局者,还是原本就深耕于此的老牌王者,都需要着眼于下一代药物,抓住新的增长点。在这点上,百济神州和辉瑞制药分别作为两类企业的代表,都已经开始了相应布局。

百济神州:新入局者的 CDK 抑制剂布局

百济神州并没有在已经战成红海的 CDK4/6 抑制剂上做布局。他们的第一站,选择了 CDK4 抑制剂。

这要从 CDK4/6 抑制剂的局限性说起。一方面从毒性角度,这类药物最常见的毒性之一是 CDK6 相关的中性粒细胞生成减少,因此开发高选择性 CDK4 抑制剂成为一种高效低毒的选择;另一方面从获得性耐药角度,此前对 CDK4/6 抑制剂耐药机制的研究显示,CDK2 的抑制可能成为突破口。

因此,百济率先避开扎堆领域,布局了 CDK4 选择性抑制剂,而本周的新药引进,又补齐了 CDK2 抑制剂布局上的这块「拼图」,两条潜力管线齐头并进。

百济的 CDK4 抑制剂:

追求更优疗效、更低毒性

截图来自:百济神州 2023 研发日

在临床前研究中,百济的 CDK4 抑制剂表现初比辉瑞 PF-07220060 更高的选择性和 CDK4 效价,并在与氟维司群联用中展现初强效。当前,BGB-43395 已经启动 I 期临床。

截图来自:百济神州 2023 研发日

辉瑞制药:引领者广泛而全面的布局

第一款上市的 CDK4/6 抑制剂,如今年销售额超 50 亿美元的哌柏西利,正是来自辉瑞。因此,辉瑞当之无愧是这一领域的开创者。

作为全球 TOP MNC,辉瑞当然不会止步于此。在下一代带药物的开发中,辉瑞也是最早的探索者,在 CDK 领域的探索最为全面而深入。该公司通过布局细胞周期不同环节、持续挖掘 CDK2/CDK4 靶点潜力以迭代哌柏西利为代表的 CDK4/6 抑制剂,并引进 ER 靶向 PROTAC 作为联用搭档,协同哌柏西利的潜力更好发挥,延续在乳腺癌领域的领先地位。

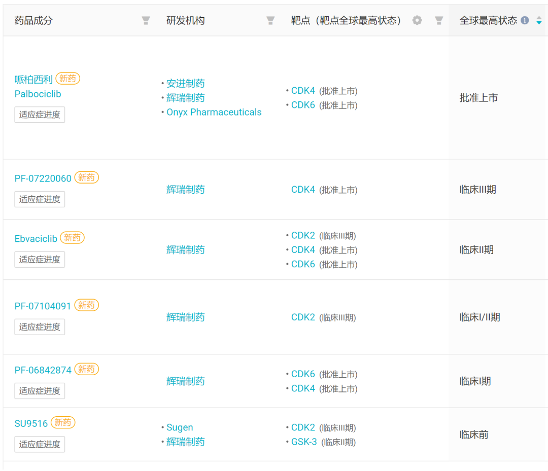
在哌柏西利之后,辉瑞的选择性 CDK4 抑制剂 PF-07220060,如今已经开发至临床 III 期;CDK2/4/6 抑制剂 Ebvaciclib 也在临床 II 期阶段,CDK2 抑制剂 PF-07104091 则在临床 I/II 期开发中,在这一领域可以称得上是一网打尽了。

辉瑞在 CDK2、CDK4、CDK6 靶点的布局

截图来自:Insight 数据库网页版

还有哪些潜力新星?

Insight 数据库显示,全球共有超过 100 条 CDK2、CDK4 或 CDK6 抑制剂管线在积极状态。

国内企业中,锐格医药百济神州都选择直接布局下一代 CDK2、CDK4 抑制剂,恒瑞医药复星医药则选择在 CDK4/6 抑制剂的基础之上做布局,前者开发有 CDK4 抑制剂 HRS-6209,后者布局有 CDK2/4/6 抑制剂 FN 1501。