EN
产业资讯 政策法规 研发追踪 医改专题
华润双鹤厉害了!拿下34个重磅品种,75个过评品种亮眼,4款新药、38个新品在路上
产业资讯 米内网 2024-05-16 2101

近日,华润双鹤产品线进展不断:盐酸利多卡因注射液获批上市、吡拉西坦注射液过评、司美格鲁肽注射液获批临床……2021年至今,华润双鹤已有34款新品获批上市,产品线步入密集收获期。目前公司有75个品种过评(7个首家),20个品种中标国采;38个新分类报产品种在审,4款新药研发推进中。

仿制药大爆发!拿下34个重磅品种

5月7日,华润双鹤公告称,全资子公司双鹤利民的盐酸利多卡因注射液获批上市并视同过评。盐酸利多卡因注射液为局麻药及抗心律失常药,是华润双鹤(含子公司,下同)今年以来第8个获批上市的品种。

近年来华润双鹤的产品线步入密集收获期,年度获批新品数从屈指可数发展至突破两位数。

2020年华润双鹤仅有3个品种获批上市,与2019年持平。进入2021年,公司年度获批品种数显著增长,2021年、2022年分别有6个、9个品种获批上市;2023年获批品种一举站上两位数——12个。

2021年至今华润双鹤获批品种

自2021年以来,华润双鹤已有34个品种获批上市(不含补充申请),进一步丰富了公司的产品线。

2024年至今,华润双鹤已有8个品种获批上市并视同过评,包括格列吡嗪控释片、阿哌沙班片、左乙拉西坦缓释片、甲磺酸多沙唑嗪缓释片、丙戊酸钠注射用浓溶液、米拉贝隆缓释片、利奈唑胺葡萄糖注射液、盐酸利多卡因注射液。其中,甲磺酸多沙唑嗪缓释片为国产第4家,左乙拉西坦缓释片为国产第5家。

75个品种过评,猛攻4大千亿市场

5月13日,华润双鹤公告称,全资子公司双鹤利民的吡拉西坦注射液,以及全资子公司上海长征富民金山制药的腹膜透析液(乳酸盐-G1.5%)、腹膜透析液(乳酸盐-G2.5%)、腹膜透析液(乳酸盐-G4.25%)通过仿制药一致性评价,有利于未来的市场销售和市场竞争。

截至目前,华润双鹤已有75个品种通过/视同通过一致性评价。其中,7个品种为国内首家过评,包括厄贝沙坦分散片、非那雄胺片、格列喹酮片、枸橼酸咖啡因注射液、氯氮平口崩片、盐酸特拉唑嗪片、氧氟沙星氯化钠注射液。

华润双鹤通过/视同通过一致性评价品种

75个过评品种涵盖11个治疗大类,主要集中在心脑血管系统药物(15个)、神经系统药物(14个)、全身用抗感染药物(13个)、消化系统及代谢药(12个)。

米内网数据显示,2023年中国城市公立医院、县级公立医院、城市社区中心以及乡镇卫生院(简称中国公立医疗机构)化学药终端全身用抗感染药物、消化系统及代谢药销售额均超过1000亿元,神经系统药物、心脑血管系统药物销售额均接近1000亿元。

在已落地执行的八批化药集采中,华润双鹤累计有20个品种(不含续约)中选。随着公司更多“光脚”产品进入集采,在一定程度上弥补了存量产品集采降价的损失。

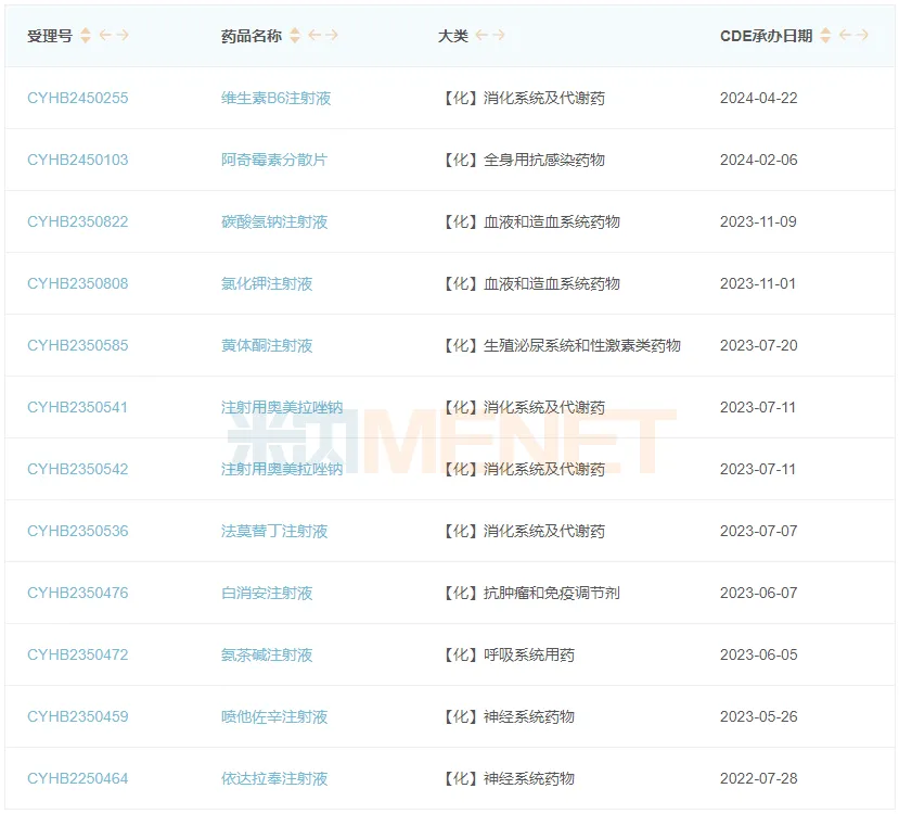
一致性评价补充申请方面,目前华润双鹤还有11个品种在审,包括维生素B6注射液、碳酸氢钠注射液、氯化钾注射液、黄体酮注射液、法莫替丁注射液、白消安注射液、氨茶碱注射液、喷他佐辛注射液等10个注射剂。其中,维生素B6注射液、黄体酮注射液冲刺首家过评。

华润双鹤一致性评价补充申请在审品种

来源:米内网一致性评价进度数据库

38个新品在路上!抢攻$139亿大品种

近年来华润双鹤加大力度支持药品研发创新,2022年研发费用4.82亿元,同比增长17.80%;2023年研发费用5.61亿元,同比增长16.37%。

在仿制药方面,目前华润双鹤还有38个新注册分类品种上市申请在审,获批生产后将视同通过一致性评价,进一步丰富公司各领域产品组合。

38个品种中,培哚普利氨氯地平片(Ⅲ)在国内暂无仿制药获批上市,公司有望夺得首仿;注射用吲哚菁绿、非诺贝特酸胆碱缓释胶囊、氨氯地平贝那普利胶囊均仅有一款仿制药在国内获批上市,公司有望实现首批上市。

华润双鹤主要在研新药

在新药研发方面,华润双鹤的巯嘌呤微片(治疗儿童白血病)、八氟丙烷脂质微球注射液(肝脏超声微泡造影剂)已提交上市申请;1类新药CX2101A(治疗新型冠状病毒感染)处于Ⅰ期临床研究阶段;司美格鲁肽注射液(用于成人2型糖尿病)已获批临床,2023年诺和诺德的司美格鲁肽注射液Ozempic(2型糖尿病)收入139亿美元,同比增长60%。

您可能感兴趣
渤健56亿美元收购补体药物Biotech
渤健56亿美元收购补体药物Biotech
产业资讯 药讯随说 2026-04-06 266