EN
产业资讯 政策法规 研发追踪 医改专题
17 亿老药大涨 409%,集采“出手”刹车,价格再降 50%
产业资讯 医药时间 2024-05-24 1647

近日,据国家药监局官网显示,海南葫芦娃药业集团的盐酸溴己新注射液获批上市。盐酸溴己新注射液为2021版国家医保目录品种,主要用于在口服给药困难的情况下,慢性支气管炎及其他呼吸道疾病如哮喘、支气管扩张、矽肺等有粘痰不易咳出的患者。

2023年等级医院销售额超17亿元

这家企业暴涨1053%,拿下市场第一

疫情后,国内政策调整,溴己新作为咳嗽止痰常用药,被列入国务院联防联控机制发布的《新冠病毒感染者居家治疗常用药参考表》,成为官方认证的新冠治疗推荐药物,销量大增。

据中康开思系统显示,截至目前,盐酸溴己新注射液在等级医院的销售额已实现连续3年爬升,2023年更是以409.4%的同比增长率,拿下17.24亿元的成绩单。

盐酸溴己新注射液全国等级医院销售情况 来源:中康开思系统

海南葫芦娃药业发布公告称,截至4月30日,除公司外,国内已有华润双鹤药业、山东圣鲁制药、国药集团国瑞药业、河北凯威制药、石家庄四药、四川美大康佳乐药业等13家企业的盐酸溴己新注射液获批上市。

其中,五家药企在2023年等级医院的销售额均同比上涨超200%,河北凯威制药的销售额更是暴涨超1053%,市场份额名次上升两位,超越石家庄四药、四川美大康佳乐药业位居第一,约占33%。

部分药企盐酸溴己新注射液等级医院市场销售情况 来源:中康开思系统

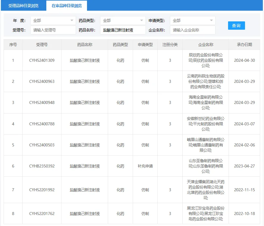
据国家药品审评中心官网(CDE)检索显示,截至2024年5月21日,国内仍有8家企业提交了新注册分类报产和一致性评价的补充申请,包括辰欣药业、云南药科院生物医药、海南全星制药、安徽新世纪药业、峨眉山通惠制药等。

盐酸溴己新注射液国家药审中心在审品种目录 来源:国家药品监督管理局药品审评中心

17亿老药销售额“狂飙”

集采“出手”刹车,价格再降50%

盐酸溴己新注射液规模的快速增长,与其价格的快速上涨密切相关。根据中康开思系统显示,2017-2022年期间,盐酸溴己新注射液在等级医院的平均价格从8.7元不断上涨至28.9元。

特别是2021年多个厂家通过一致性评价后,在药品质量和成本的提升下,整体平均价格迅速上涨到27.7元,上涨幅度高达50.3%。直至2023年,在集采影响下价格回落至21.5元/支。

盐酸溴己新注射液是第七批全国药品集采中,降价幅度最小的品种之一,并以6亿多元的约定采购金额,成为本次集采供应规模最大的品种。

此次集采结果于2022年11月执行,底溴己新水针剂的最高有效申报价格为22.9元/支,最终平均中选价格17.95元,下降幅度为22%。但相较于2022上半年,市场平均价格下降了47%。共有四个厂家中选,其中,石家庄四药以16.97元的最低价格获得了最大约定采购规模。

第七批国家集采盐酸溴己新注射液中选厂家 来源:公开资料

但值得注意的是,集采并没有压缩该药品的盈利空间,部分企业仍赚的盆满钵满。据悉,第七批集采平均降幅为48%,而溴己新注射剂平均降幅为21.3%,远低于平均降幅。

4月29日,上海阳光医药采购网公布《关于调整部分国家组织药品集中采购品种中选结果的公告》。根据药品价格调整文件,对于原来的中标价(单支),溴己新注射剂原中选价格在16~19元之间,现在降到了10元以下。

溴己新注射剂调整后的中选结果 来源:上海阳光医药采购网

盐酸溴己新是一种常用的祛痰药,用于慢性支气管炎、哮喘等引起的粘痰不易咳出的患者。其口服片剂和注射剂型分别被列入国家医保甲类和乙类目录,口服片剂还被列入《国家基本药物》目录。

该药物是在1963年由德国勃林格殷格翰公司原研开发,1966年最先在日本上市,2016年划归赛诺菲公司,因此是一个应用历史非常久远的“老药”。

您可能感兴趣
渤健56亿美元收购补体药物Biotech
渤健56亿美元收购补体药物Biotech
产业资讯 药讯随说 2026-04-06 252