EN
产业资讯 政策法规 研发追踪 医改专题
齐鲁大爆发,5大重磅品种同日拿下!
产业资讯 药融云 2024-07-10 2135

7月5日,据NMPA官网公示,齐鲁制药子公司(齐鲁安替制药)同日拿下了5大重磅品种,涵盖4款系统用抗感染药物头孢地尼胶囊、头孢地尼颗粒、注射用盐酸头孢替安、头孢克洛干混悬剂,1款高血压用药马昔腾坦片。据药融云数据库显示,2024年至今,齐鲁制药(含子公司)有24个品种过评。

截图来源:NMPA官网

头孢地尼胶囊、头孢地尼颗粒、注射用盐酸头孢替安、头孢克洛干混悬剂均为系统用抗感染药物,据药融云数据库显示,2023年系统用抗感染药物(化学药或生物药)在全国院内市场销售额超1千亿元,同比增长达1.72%。其中头孢地尼胶囊、注射用盐酸头孢替安、头孢克洛干混悬剂在2023年全国院内销售额分别为1.7亿元,6.06亿元,3.81亿元。

截图来源:药融云全国医院销售数据库

齐鲁安替制药一下斩获这4款系统用抗感染药物,不仅极大的丰富了公司在千亿规模的系统用抗感染药市场的产品矩阵,更显著提升了其市场竞争力。据药融云数据库显示,今年以来齐鲁制药(含子公司)有10款系统用抗感染药获批并视同过评。

截图来源:药融云中国药品审评数据库

马昔腾坦片是高血压用药潜力产品,据药融云数据库显示,该品种在2023年全国院内销售额超2亿元,同比增长达36.72%。

截图来源:药融云全国医院销售数据库

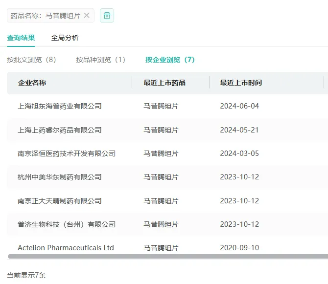
目前,马昔腾坦片有7家(含原研)药企拥有生产批文。2023年10月华东、南京正大天晴和普济生物3家药企同时获批并斩获国内首仿。仿制药布局方面有安徽泰恩康制药、山东华铂凯盛生物科技2家药企提交了仿制申请,均在审评审批中。

截图来源:药融云中国药品批文数据库

2024年至今,齐鲁制药(含子公司)有泊马度胺胶囊、注射用头孢噻肟钠、注射用盐酸头孢替安等24个品种过评,其中6个品种为首家过评,艾曲泊帕乙醇胺片、盐酸苯达莫司汀注射用浓溶液、氯苯唑酸葡胺软胶囊、二甲双胍恩格列净片(Ⅵ)为国内首仿。

您可能感兴趣
创新药大反转,但有个问题
创新药大反转,但有个问题
产业资讯 瞪羚社 2026-02-12 16
云顶新耀的野心
云顶新耀的野心
产业资讯 bioSeedin柏思荟 2026-02-12 15