EN
产业资讯 政策法规 研发追踪 医改专题
最新!又一创新医疗器械获批!
产业资讯 思宇MedTech 2024-07-12 3035

2024年7月11日,国家药品监督管理局(NMPA)批准了杭州唯强医疗科技有限公司生产的“髂静脉支架系统”创新产品注册,原文如下:

“该产品由支架和输送器组成,支架预装在输送器内,支架为自膨式镍钛合金支架,显影点材料为钽,输送器由鞘芯、鞘管接头、止血阀、手柄和尾柄组成。产品经环氧乙烷灭菌,一次性使用。该产品预期在髂总静脉内使用,用于治疗非血栓性髂静脉压迫综合征。该产品通过静脉支架近端斜口、喇叭口设计,中段开环设计,支架分段式设计,提高产品性能,以满足临床需求。药品监督管理部门将加强该产品上市后监管,保护患者用械安全。”

# 外周静脉介入领域整体布局

此次获批的Grency®髂静脉支架系统,专为髂静脉狭窄或闭塞性病变设计,符合髂静脉解剖形态,拥有9项授权专利,于2022年9月进入国家创新医疗器械特别审查程序,于2024年7月11日正式获批。

该产品近端采用斜口设计不影响对侧血流、喇叭口加强近端贴壁;整体锥形渐变顺应血管的自然变径;两端闭环中间开环复合式设计在保证径向支撑力的同时,也能保证良好的柔顺性。

一个多月前,唯强医疗的PeriOne™外周血栓抽吸导管刚刚获得NMPA批准。PeriOne™外周血栓抽吸导管适用于去除外周血管中的血栓,包括上下肢动静脉、内脏动静脉、上下腔静脉、肺动脉等。抽吸导管头端设计为有预弯和无预弯两种类型,预弯角度为30度。抽吸导管配合负压注射器或机械负压泵可高效抽吸外周血管内的血栓。

这两款产品的获批,标志着唯强医疗布局外周静脉疾病介入治疗整体解决方案取得里程碑式的进展,也是唯强医疗在深耕主动脉介入领域,相继获批Fabulous®胸主动脉支架、WeFlow-Tbranch™胸主分支支架后,取得的又一重大成果。

# 公司主营产品盘点

1. Fusmart®可调弯导管

头端0°—180°可任意调整弯度。

多规格长度设计,满足不同入路需要。

外径6F可通过6F穿刺鞘,内腔最大可以适配0.038”导丝,兼容性好。

内腔流量相当于4F造影导管,密封性达到8atm。

Fusmart®可调弯导管已于2018年12月获得国家药品监督管理局(NMPA)的批准成功上市。

2. VaSabre®外周球囊扩张导管

球囊最高压力达24atm,利于处理高度钙化病变。

搭配多种规格球囊,满足多种临床需求。

导管有效长度:40cm,75cm,135cm,应对各种病变挑战。

折翼后的球囊导管最小可以通过5F的COOK鞘,内腔可以适配0.035”导丝。

硅油涂层分布于外表面及整个内腔,更利于临床操作上的穿入和撤出。

VaSabre®外周球囊扩张导管已于2019年5月获得国家药品监督管理局(NMPA)的批准成功上市。

3. VSnare™血管异物取出装置

HDPE抓捕导管,较好的柔顺性;

镀金钨丝+镍钛多股丝抓捕环,高显影性和强度;

止血阀导入件,操作方便;

尾端扭控器,便于操控扭转。

VSnare™血管内异物取出装置已于2019年5月获得国家药品监督管理局(NMPA)的批准成功上市。

4. VSheath®导管鞘

头端显影环,X光下清晰可见;

管体编织网结构,高扭控性;

扩张器座与鞘管座卡扣自锁,防止穿刺时后撤。

VSheath®导管鞘已于2019年5月获得国家药品监督管理局(NMPA)的批准成功上市。

# 关于唯强医疗

杭州唯强医疗科技有限公司成立于2016年5月,落户于杭州国家高新技术产业开发区内,唯强医疗专注于外周血管介入医疗器械的研发、制造、销售和技术支持,主营品为主动脉系列产品、静脉系列产品、下肢产品、导管和球囊等产品。

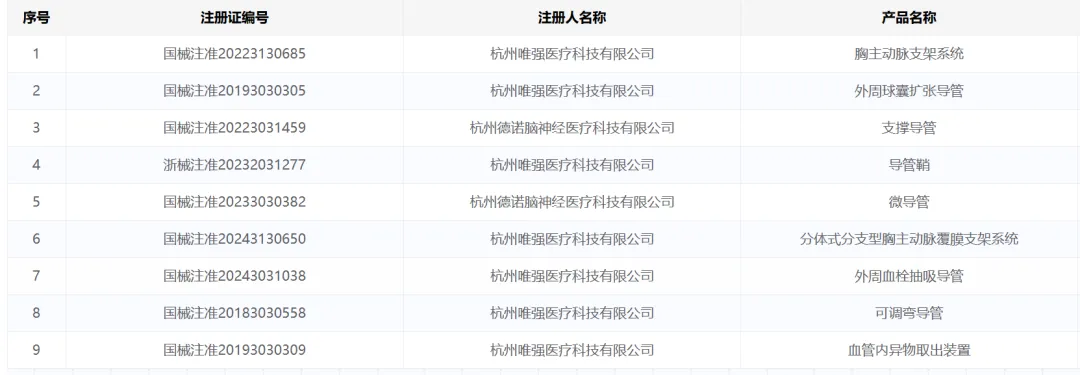
公司目前已有9项产品取得NMPA注册证,另有多项产品在临床试验过程中,模块内嵌主动脉弓覆膜支架系统、胸主动脉支架系统两项产品通过创新医疗器械审批。据公司介绍,目前已经完成相关专利申请330件,其中发明专利110件PCT申请55件,欧洲、美国等海外专利42件,已授权121件旨在做全球领先的中国式自主研发的创新医疗。

*经查询,截止2024年7月11日,唯强医疗有注册证9张。上图中2张是变更过的,产品受托生产企业名称为杭州唯强医疗科技有限公司。

经查询,唯强医疗有专利信息274项,以下是前10项的抓图:

您可能感兴趣
创新药大反转,但有个问题
创新药大反转,但有个问题
产业资讯 瞪羚社 2026-02-12 5
云顶新耀的野心
云顶新耀的野心
产业资讯 bioSeedin柏思荟 2026-02-12 6