医改专题
医药云端工作室
2025-12-12
1395
2025年版医保药品目录调整尘埃落定,本次目录调整新增114种药品,其中50种1类创新药,本次调整后,目录内药品总数增至3253种,其中西药1857种、中成药1396种。
值得关注的有9个品种,其在医保目录备注栏与上一版对照,备注内容已经被删除,这意味着这些品种在医保支付的限制性条件被解除,也就是业界俗称的“解限”。
这9个品种,都是西药,8个是化学药品,1个是血液制品(生物制品),无中成药。
名单如下:

其中,共有6个品种被纳入国采:奥美拉唑碳酸氢钠胶囊(Ⅱ)(第9批)、西他沙星片(第9批)、泊沙康唑肠溶片(第10批)、泊沙康唑注射液(第10批)、雷沙吉兰口服常释剂型(第10批)、乙酰半胱氨酸泡腾片(第10批);
破伤风人免疫球蛋白虽未纳入国采,但已经进入了地方集采项目中,包括:2023 年 5 月河南 19 省联盟集采;四川环磷腺苷葡胺等66个化药省际带量联动;2025年11月28日,刚刚被北京集采项目纳入。
此外,加替沙星眼用凝胶是沈阳兴齐眼药股份有限公司的独家品种,未纳入集采。
复方聚乙二醇(3350)电解质散今年国谈转常规目录,目前19个批文,大多数都是2025年新批。
奥美拉唑碳酸氢钠胶囊(Ⅱ),进第9批国采,目前6个批文。以该药品名中选的企业是北京百奥药业(供应吉林,上海,四川,甘肃)

图源:国家药监局药品数据库(下同,不一一标注)
复方聚乙二醇(3350)电解质散
今年国谈转常规目录,目前19个批文,大多数都是2025年新批,可见国谈药品成为仿制对象后的一拥而上。
复方聚乙二醇电解质入围第十批国采,但当时复方聚乙二醇(3350)电解质散仍处于国谈协议期(2024年1月1日至2025年12月31日),因此该品种暂时未纳入集采。不过,进入2025年,大量仿制药获批上市,该品种也直接从国谈转为常规目录,恐怕集采是迟早的。

西他沙星
西他沙星属于第四代喹诺酮类药物,原研是第一制药三共株式会社。该品种被纳入第9批国采,信立泰、扬子江、通用三洋、江西博雅欣和等4家企业中选。目前国内有5个批文。

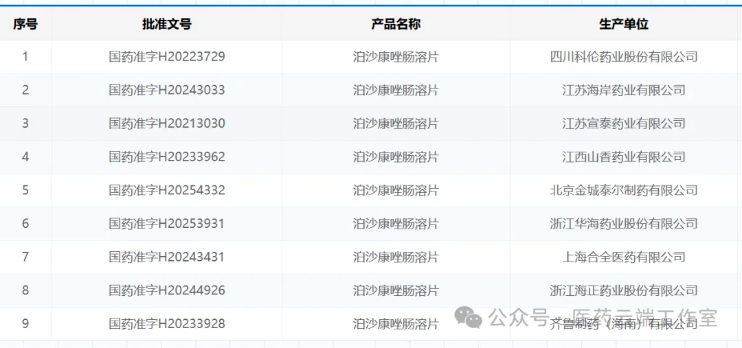
泊沙康唑肠溶片
该品种属于第二代三唑类抗真菌药物,2022年国谈进目录,2024年转常规目录,9个批文。
泊沙康唑肠溶片被列入2019年《第一批鼓励仿制药品目录建议清单》,后纳入第10批国采,肠溶片4家中选,降价幅度超过80%

泊沙康唑注射液
目前16个批文,注射液2020年国内上市,2022年国谈纳入医保目录,2024年转为常规目录。注射剂纳入第十批国采,9家中选。

破伤风人免疫球蛋白
25个批件,未纳入国采,但2023 年 5 月河南 19 省联盟集采首次纳入破伤风人免疫球蛋白,华兰生物等 4 家企业中标;四川环磷腺苷葡胺等66个化学药品省际带量联动四川集采纳入;2025年11月北京集采项目纳入。
安徽牵头全国生物药集采仍未明朗,是今年最后一个全国性集采大项目,不排除纳入的可能性。
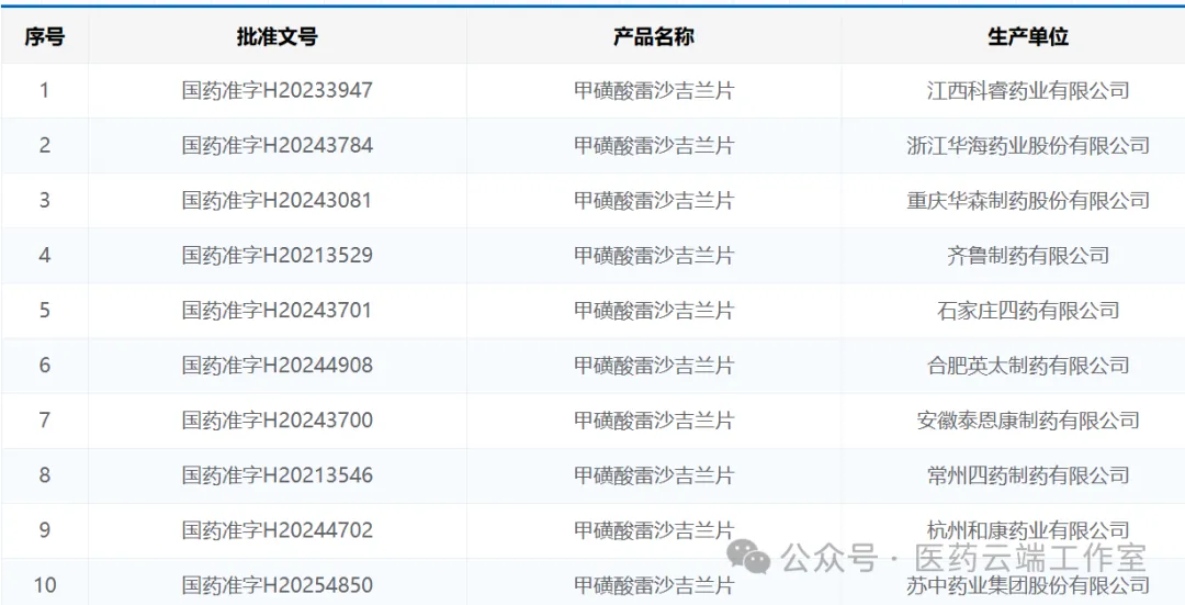
雷沙吉兰口服常释剂型
抗帕金森病药物,10个批件,第10批国采品种,甲磺酸雷沙吉兰片原研梯瓦制药于2017年上市,2021年6月21日齐鲁制药首仿过评。

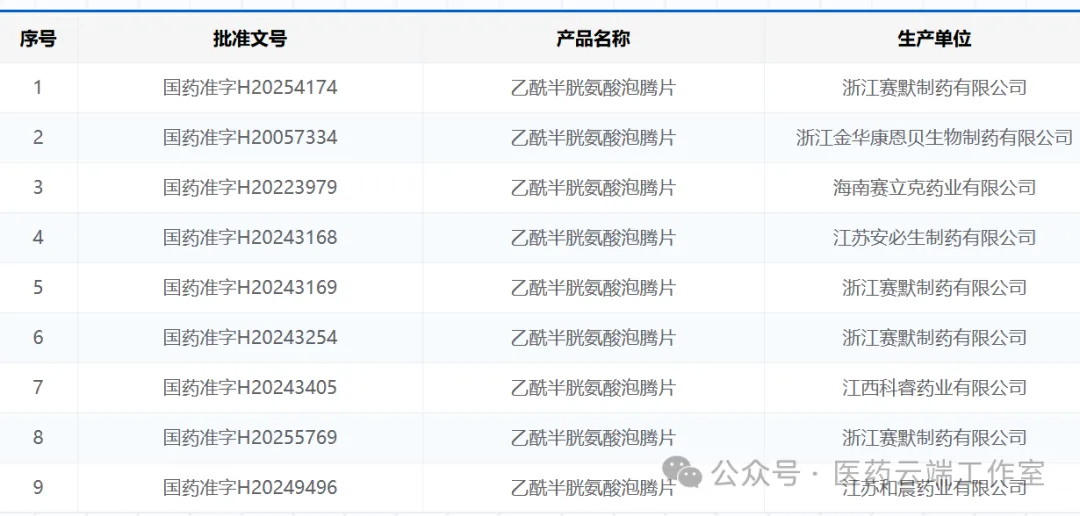
乙酰半胱氨酸泡腾片
乙酰半胱氨酸是广泛使用的化痰药物,9个批件,6个厂家,纳入第十批国采,有4家企业中选。

加替沙星眼用凝胶
这是沈阳兴齐眼药股份有限公司的独家品种,未纳入集采,医保解限后,其适用人群也进一步扩大。

医改专题
健识局
2026-05-07
76
医改专题
医药早知道
2026-04-30
266
医改专题
村夫日记LatitudeHealth
2026-04-30
416
热门资讯