EN
产业资讯 政策法规 研发追踪 医改专题
石药、丽珠……92个新药获批临床,正大天晴进击50亿大品种,科伦首款口溶膜来了
产业资讯 米内网 2022-01-17 3844

精彩内容

国产首款!恒瑞2款1类新药获批上市;

又有2款新药获批!中药1类新药井喷;

国内首款抗ED国产1类新药获批上市;

正大天晴药业进攻近50亿大品种;

超30亿市场,科伦药业首款口溶膜报产;

石药、山东新时代......1类新药获批临床;

海思科、豪森......71个1类新药亮相。

11款新药上市有进展!5款国产1类新药获批

2021年12月25日-2022年1月14日期间,11个新药(16个受理号)的上市申请有审评审批状态更新。国产新药中,5款国产1类新药获批,为恒瑞的达尔西利(曾用名SHR6390)及恒格列净、悦康药业的爱地那非、健民药业的七蕊胃舒胶囊(曾用名利胃胶囊)及北京珅诺基的淫羊藿素软胶囊(曾用名阿可拉定软胶囊);进口新药中,默沙东的来特莫韦首次获批进口,协和发酵麒麟的罗普司亭、礼来的阿贝西利等新适应症获批。

(2021.12.25-2022.1.14)新药上市申请审评审批状态更新

恒瑞医药2款1类新药获批上市。达尔西利是一款口服、高效、选择性的小分子CDK4/6抑制剂,从报产到获批仅历时8个月。国内同靶点药物中,辉瑞的哌柏西利、礼来的阿贝西利已获批进口;恒格列净是一款SGLT-2抑制剂,通过减少肾脏对葡萄糖的重吸收而降低血糖。国内同靶点药物中,强生的卡格列净、勃林格殷格翰的恩格列净等已获批进口。

2款中药1类新药首次获批上市。健民药业的七蕊胃舒胶囊由三七、枯矾、煅花蕊石等药材组成,在治疗慢性非萎缩性胃炎伴糜烂湿热瘀滞证方面疗效显著,米内网数据显示,2020年中国公立医疗机构及中国城市实体药店终端胃药中成药市场规模超过90亿元;北京珅诺基的淫羊藿素软胶囊是从传统中药淫羊藿中提取、分离、纯化而来的单体化合物,可作用于相关信号通路,改善肿瘤微环境,发挥抗肿瘤效应。

悦康药业的爱地那非是一款5型磷酸二酯酶(PDE5)抑制剂,通过抑制降解cGMP的PDE5活性而增高细胞内cGMP浓度,导致平滑肌松弛,促使阴茎海绵体内动脉血流增加,产生勃起。米内网数据显示,2020年中国公立医疗机构及中国城市实体药店终端抗ED药市场超过30亿元,爱地那非是首款获批的抗ED国产1类新药。

石药集团的米托蒽醌脂质体是具有完全知识产权的改良型新药,用于复发或难治的外周T细胞淋巴瘤。米内网数据显示,目前国内已有多款脂质体制剂获批上市,其中多柔比星脂质体、紫杉醇脂质体在2020年中国公立医疗机构终端的销售额均超过20亿元。

默沙东首次在国内获批的来特莫韦是一种新型非核苷CMV抑制剂(3,4-二氢喹唑啉),通过抑制巨细胞病毒末端酶复合物的活性,阻止病毒DNA的加工和包装,从而发挥抗病毒的作用。来特莫韦于2017年11月在美国获批上市,2020年全球销售额为2.8亿美元。

多款新药新适应症获批上市。协和发酵麒麟的罗普司亭(曾用名罗米司亭,TPO-R激动剂),新增适应症为原发免疫性血小板减少症;荣昌生物的维迪西妥单抗(ADC产品)第2个新适应症获批,用于尿路上皮癌;百济神州的替雷利珠单抗(PD-1单抗)第6个适应症获批,用于二或三线局部晚期或转移性非小细胞肺癌;礼来的阿贝西利(CDK4/6抑制剂)第2个新适应症获批,辅助治疗早期乳腺癌等。

29款新药申请上市!3款抗肿瘤1类新药来袭

2021年12月25日-2022年1月14日期间,29个新药(41个受理号)上市申请获得CDE承办。国产新药中,包括3款抗肿瘤1类新药、3款改良型新药、1款中药1类新药、2款生物类似药等;进口新药中,马吉妥昔单抗、SHR8008等首次在国内报上市,礼来的巴瑞替尼、罗氏的维博妥珠单抗、艾伯维的乌帕替尼等新适应症报产。

(2021.12.25-2022.1.14)获承办的国产/进口新药上市申请

3款国产抗肿瘤1类新药申报上市。伏罗尼布是贝达药业第4款报产的1类新药,这是一款具有全新化学结构的新一代多靶点激酶抑制剂,可抑制肿瘤血管生成及生长,用于肾癌、胃癌、急性髓系白血病等多种癌症;海正药业的泽贝妥单抗是一款新型差异化的人鼠嵌合型抗CD20单抗,是国内首款报产的国产CD20单抗;圣和药业的奥瑞替尼是国内第8款申报上市的三代EGFR抑制剂,目前已获批的3款三代EGFR抑制剂均已进入全国医保,此外奥赛康的ASK120067、贝达的贝福替尼、倍而达/石药的瑞泽替尼、艾森的艾维替尼等已报产在审。

2款口溶膜报产,国内暂无同剂型产品获批。科伦首家提交枸橼酸西地那非口溶膜上市申请,同时这也是公司首款报产的口溶膜;力品药业/力卓药业第2家提交阿立哌唑口溶膜上市申请。米内网数据显示,2020年中国公立医疗机构及中国城市实体药店西地那非、阿立哌唑市场规模分别超过20亿元、10亿元。

正大天晴南京顺欣制药的利妥昔单抗是一款生物类似药,原研产品2020年全球销售额达42.23亿瑞士法郎(约46亿美元)。目前国内已有信达、复宏汉霖2款利妥昔单抗生物类似药获批,米内网数据显示,2020年中国公立医疗机构及中国城市实体药店终端利妥昔单抗市场规模接近50亿元。

马吉妥昔单抗是一款作用于HER2的Fc优化型单克隆抗体,是再鼎医药于2018年11月以总计1.65亿美元自MacroGenics引进的3款产品之一。全球III期临床SOPHIA研究结果所示,马吉妥昔单抗是目前唯一一款在与曲妥珠单抗头对头研究中显示出可延长无进展生存期的抗HER2治疗方案。

SHR8008是恒瑞医药向Mycovia引进的一种新型口服唑类抗真菌药,可高度特异性抑制真菌CYP51酶,此次报产的适应症为急性外阴阴道假丝酵母菌病。在全身用抗感染药领域,除了已报产的SHR8008胶囊,恒瑞医药还有4款1类新药正在开展I期临床。米内网数据显示,2020年中国公立医疗机构终端全身用抗感染化药市场规模超过1000亿元。

多款新药申报新适应症,包括礼来的巴瑞替尼(JAK抑制剂)、罗氏的维博妥珠单抗(抗CD79b ADC)、艾伯维的乌帕替尼(JAK抑制剂)等。

科伦、石药、山东新时代......92个新药获批临床

2021年12月25日-2022年1月14日期间,92个新药(136个受理号)获得临床试验默示许可。其中,68个品种(101个受理号)为国产新药,24个品种(35个受理号)为进口新药。从药品类型看,化学药有52个、治疗用生物制品有38个、中成药有2个。68个国产新药中,1类新药有52个。

(2021.12.25-2022.1.14)获批临床的国产/进口新药

石药集团6款新药获批临床,其中1类新药SYHX2001属于高选择性PRMT5抑制剂,对急性髓性白血病胰腺癌、黑色素瘤和腺样囊性癌均有显著药效,且具有良好的安全性和药代动力学特点。

康方生物3款1类新药获批临床,均非首次。AK104是PD-1/CTLA-4双抗,宫颈癌适应症已报产;AK112属于PD-1/VEGF双特异抗体,非鳞非小细胞肺癌适应症在国内开展III期临床;AK117为第二代CD47抗体,急性髓系白血病等适应症在国内开展Ib/II期临床。

百济神州2款新药获批临床。首次获批临床的BGB-16673是公司首个进入临床的蛋白降解靶向嵌合体(PROTAC)项目,这是一款BTK靶向降解剂,有望克服现有BTK抑制剂的C481S耐药。

恩沐生物/博锐生物的1A46(BR110)是以CD3、CD19和CD20为靶点的T细胞Engager三特异性抗体,是全球首个获批临床的CD3/CD19/CD20三特异性抗体,有望解决其它单一靶向疗法因靶点丢失或下调导致的耐药或复发问题。此次在国内首次获批临床,拟用于治疗复发或难治性B细胞非霍奇金淋巴瘤。

PH94B是由VistaGen研发、艾迈医疗的引进的一款GABAA受体调节剂,具有无味、起效快(15min内)、安全性好等特点,首次获批临床用于治疗成人社交焦虑障碍(SAD)的焦虑症状。

SCR-6852(SIM0270)是先声药业自主研发的新一代口服选择性雌激素受体(ER)降解剂,是目前全球同类在研SERD药物中,唯一可以有效透过血脑屏障的分子,此次首次在国内获批临床,用于治疗ER+/HER2-型乳腺癌。

ZG19018是由泽璟制药自主研发的一款KRAS G12C选择性共价抑制剂,首次获批临床用于治疗KRAS G12C突变的晚期恶性实体瘤。目前全球仅一款同靶点同机制药物获批上市,为安进的Sotorasib(AMG510)。此外,研发进展较快的还有诺华的JDQ443和Mirati的adagrasib,均处于临床III期阶段。

首次在国内获批临床的HLX35是复宏汉霖自主研发的一款重组人源抗EGFR和抗4-1BB双特异性抗体。目前全球尚无同靶点药物获批上市,在研的4-1BB单抗和双抗尚处于早期临床或临床前阶段。

君实生物的JS019是一款重组全人源抗CD39单克隆抗体,以高度选择性的方式靶向肿瘤微环境中高表达的CD39,在实现高药效的同时,降低潜在的系统性副作用。目前全球范围研发同靶点药物的企业不超过10家,且均处于早期临床。

阿斯利康的MEDI3506首次在国内获批临床,这是一款可抑制白介素-33(IL-33)功能的单克隆抗体,用于慢性阻塞性肺病患者的附加维持治疗。I期临床试验显示,MEDI3506能够有效降低COPD患者血清中促炎症细胞因子IL-5和IL-13的水平。

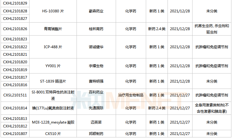
海思科、豪森、人福……111个新药临床申请获承办

2021年12月25日-2022年1月14日期间,111个新药(涉及160个受理号)的临床申请获CDE承办受理。其中,90个品种(132个受理号)为国产新药,21个品种(28个受理号)为进口新药。从药物类型看,化学药有55个、治疗用生物制品有51个、中成药有5个。90个国产新药中,1类新药有71个。

(2021.12.25-2022.1.14)获承办的国产/进口新药临床申请

康方生物首次在国内申报临床的AK127是一款TIGIT单抗,该产品已在海外启动I期临床,用于治疗晚期或转移性实体瘤。目前国内暂无针对TIGIT的药物获批,但已有多家企业布局,包括百济神州、百奥泰、君实生物等。

三生国健的SSGJ-617是国内首个申报临床的抗PSGL-1单抗,该产品将巨噬细胞重新编程为促炎状态,激活T细胞并吸引其他免疫细胞协同产生强大的抗肿瘤效应。在对PD-1有响应和无响应的肿瘤中,PSGL-1抗体均表现出比当前免疫治疗更强的炎症反应。

复宏汉霖的HLX301是一款PD-L1/TIGIT双抗,用于治疗多种晚期实体瘤。临床前研究显示,HLX301可抑制肿瘤的生长,且耐受性、安全性良好。目前国内同靶点在研药物还有圣和药业的SH006、普米斯的PM1022等。

乐普生物的重组人源化抗PD-L1单克隆抗体/人TGF-β融合蛋白(LP008)是一种由抗PD-L1单抗与人TGF-β受体II型的胞外域融合而成的双功能蛋白。目前国内同靶点在研药物中,仅恒瑞医药和默克的产品处于临床阶段。

再鼎医药的ZL-1211是一款CLDN18.2单抗,通过改造增强了ADCC效应,在Claudin 18.2高表达和低表达的模型中均表现出了有效的抗肿瘤活性。目前全球尚无同靶点药物获批上市,但恒瑞、信达、百济神州、天广实等公司均有所布局。

通化东宝的可溶性甘精赖脯双胰岛素(THDB0207)是目前唯一能将长效甘精胰岛素和速效赖脯胰岛素成功组合的复方制剂。目前全球已获批的双胰岛素产品仅有诺和诺德的德谷门冬双胰岛素,该产品于2019年5月获批进入国内市场,2021年上半年在中国公立医疗机构终端的销售额增速超过6000%。

阿斯利康同日递交了两款1类新药的临床试验申请。oleclumab是一种潜在“first-in-class”的抗CD73单克隆抗体,可选择性结合并抑制CD73的活性;monalizumab是阿斯利康与Innate合作开发的一种潜在“first-in-class”的抗NKG2A抗体,对于人NKG2A有极高的特异性。CD73和NKG2A均是肿瘤免疫疗法的新兴靶点。

CP0119是由南开大学团队设计研发的一款拥有全新靶点的肠动力促进剂,通过与transgelin蛋白结合,促进actin蛋白聚集,增加肠肌细胞收缩功能,发挥促进肠蠕动的作用,拟开发用于治疗结肠慢传输性疾病。

您可能感兴趣
中国区收入增长30%,CLDN18.2单抗增长超400%
中国区收入增长30%,CLDN18.2单抗增长超400%
产业资讯 医药魔方Info 2026-05-04 72
23亿美元!礼来收购Ajax Therapeutics
23亿美元!礼来收购Ajax Therapeutics
产业资讯 Medaverse 2026-05-04 70