EN
产业资讯 政策法规 研发追踪 医改专题
整体良好,三点建议改进,FDA请第三方评估生物类似药BsUFA II法案执行情况
产业资讯 识林 2022-05-06 3178

生物类似药用户付费法案 BsUFA II 在生物类似药审评过程中引入了“提高原始 351(k) BLA 审评透明度和沟通计划”,为对其执行情况进行独立评估,FDA 聘请第三方机构“东部调查集团”(Eastern Research Group,ERG)进行调查。

ERG 的最终报告(2022/02/14)提供了 BsUFA II 在2018-2021财年(FYs)四年实施和结果的数据和分析,内容包括简介、调查方法、评估问答、调查结果及建议等部分。总体而言,该计划成功地提高了审评透明度和沟通,且提高了首轮审评的能力。

BsUFA 相关资讯可见:【FDA 公布2022财年仿制药和生物类似药收费费率】【生物类似药简化许可成趋势,全球协调仍需时日】【FDA 提出生物类似药增加适应症的简化路径】。

BsUFA II法案及计划介绍

生物类似药代表着一项重要的公共卫生利益,因为它可以较低的成本拯救患者生命或改善其生活质量。《生物类似药用户费用法案》(Biosimilar User Fee Act, BsUFA)是2010年签署的《平价医疗法案》(ACA)的一部分,ACA 包含的《2009年生物制品价格竞争和创新法案》(BPCI 法案)为生物类似药和可互换性生物制品创建了简化申请途径,FDA 依据 BPCI 法案为351(k) 生物制品许可申请(BLA)制定用户收费计划并颁布了 BsUFA,作为收取费用的依据,并承诺促进生物类似药的开发和351(k) 申请的批准。

BsUFAII 即该法案的第二次授权,其中一个重要承诺即为351(k) BLA 建立增强审评透明度和沟通的计划,目标是提高首轮审评的效率和有效性,增强透明度以及与申请人的沟通,减少审评周期,以便患者及时获得安全、有效和高质量的生物类似药。此计划便是此次调查的对象。

计划实施情况总体良好

ERG 的数据来源主要是在这些年内首次提交,并在2021年12月31日前收到首次行动(批准[AP],完全回应[CR],或提交后撤回[WD])的351(k) BLA。对比的基线数据为 BsUFA I(FYs 2013-2017)期间初始提交并在2021年12月31日前批准的351(k) BLA。

从报告来看,虽因为样本小无法评估和基线的显著性,但可以认为访谈 BsUFA II计划的总体执行情况良好——成功地提高了审评透明度和沟通,且提高了 FDA 首轮审评的能力。

——提高了首轮审评的能力。这一阶段的首轮批准率(67%,21个项目中的14个)高于基线(39%,23个项目中的9个)。

 

与其他适应症(92%,11/12)的申请相比,具有血液学或单纯肿瘤学适应症的申请首轮批准可能性较低(33%,3/9),这一点在基线期间也一样。另外分析数据发现,计划中几乎所有获得首轮批准的申请都是由之前在基线(首轮或之后)中获得批准的申办者提交的,此外,CR 函中提及的几乎都是产品质量和设施许可问题。

——调研中大部分申请人和 FDA 的审评员认为,沟通过程是优质的、建设性的和合作性的,审评也非常透明且可预测。此外,BsUFAII 还将351(k)BLAs 原10个月的审评时间变为从提交第60天开始,使收到申请到采取监管行动的时间延长了两个月,此次调查结果显示申请人和审评员都认为这两个月审评时间对审评过程非常重要。延长的时间便于 FDA 和申请人之间有时间进行额外的正式沟通,似乎有利于具有实质性审评问题的申请,使得在首轮监管行动前及时解决问题。

——计划新增的351(k)BLA 审评流程,即新的里程碑式会议,中期沟通(MCC)和后期会议(LCM)提高了审评过程的可预测性。可预测的里程碑确定了审评时间表,有助于推进审评。

——良好审评管理原则(GRMP)实施情况良好。在目标日期前,95%的申请得到了监管行动(20/21);90%的申请“第74天信函”是在审评的第74天前发出的,主要涉及的是质量问题。

GRMP 是 FDA 在 BsUFA II 计划的背景下建立的,旨在促进基于良好基本价值观和原则的良好审评管理实践,并在第一轮审评中支持有效和高效的申请审评流程。

第74天信函是指 FDA 审评团队在初始申请提交后74个日历日内向申请人发送的正式信函,以沟通潜在的审评问题和 FDA 计划的审评时间表)。

ERG 的建议

ERG 仅就三个特定方面提出未来改进的建议,分别关于某些生物类似药产品开发(BPD)会议实践、后期会议讨论主题和信息请求的时间。

另外,新冠大流行导致了部分检查延误,即便采取相应措施,但仍导致检查时间的可预测性降低。对于这一点,ERG 并未提出相应解决方案。

——在 BPD type 4会议中为申请内容和组织方式提供建议和模板,帮助申办者准备符合 FDA 要求的申请。

调研中,许多 BsUFA II 申请人要求 FDA 召开 BPDtype 4会议。在多数 BPD type 4会议中,申办者的许多问题的解决都有赖于 FDA 针对会前收到的初步意见所做的反馈,而且申请人和 FDA 审评团队都认为这种会前沟通是对于理解申请期望的很有价值。对此,ERG 建议将其确立为良好实践。

——考虑向申请人征求讨论主题,并在 LCM 议程中为申请人确定的讨论主题分配时间。

访谈中,虽有一些 FDA 审评人员倾向于在没有重大问题可讨论时撤回 LCM,但申请人认为如果其能与 FDA 讨论其他感兴趣的话题(如检查、PMR/PMCs、标签),LCM 是非常有价值的,并希望 FDA 能在会议之前尽早提供会议议程和讨论主题。ERG 建议考虑向申请人征求讨论主题,并在 LCM 议程中分配相应的讨论时间。

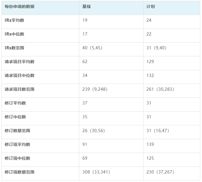
——延长信息请求(IR)的响应时间,或提前发布 IR

IR 和修订可以作为 FDA 审评团队和申请人之间信息交流水平的衡量标准之一。FDA 在 BsUFA II 计划中发布的每份申请的 IR 比在基线中发布的多,申请人提交的修订项数量也比在基线中提交的多,且 IR 通常与产品质量有关。FDA 给予申请人的回复时间仅有两天,许多申请人建议 FDA 将回复 IR 和标签变更时限延长,因为有时对全球范围内的申请人来说非常不合理,仅时区的差异就可能产生1~2天的延迟。故 ERG 建议 FDA 尽可能延长 IR 回复时间或者提早发布 IR。


——新冠导致检查时间不透明

FDA在BsUFA II收到申请后的10个月内完成了94%的检查,但有部分延迟来自于COVID-19旅行限制,导致483的概率远远低于基线。虽然为了尽可能推进审评,FDA开发并实施了一个记录审查程序,基于风险评估来证明这种方法可代替现场检查。但少数申请人认为这个措施降低了检查时间的可预测性,对此ERG并未给出相应建议。