EN
产业资讯 政策法规 研发追踪 医改专题
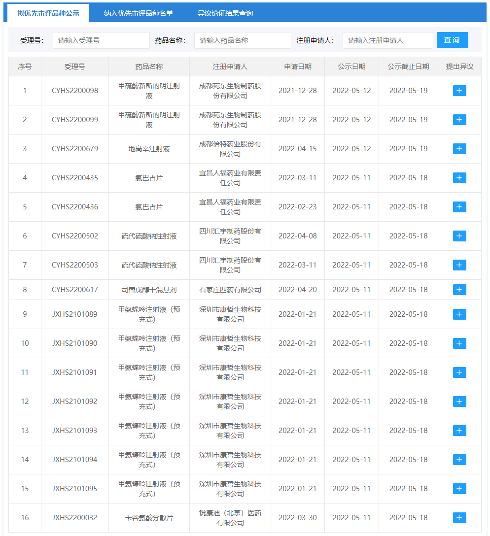
短缺药品、临床急需、儿童用药!7 款药品拟纳入优先审评
产业资讯 Insight数据库 2022-05-13 3381

近两日,CDE 连续将 7 个品种 16 条受理号上市申请拟纳入优先审评。纳入优先审评的理由集中在国家药品短缺药品清单品种、儿童用药以及临床急需药品中。

来自:CDE 官网

国家药品短缺药品清单品种

药品名称:甲硫酸新斯的明注射液;

企业名称:成都苑东生物制药股份有限公司;

拟定适应症(或功能主治):(1)用于重症肌无力,因箭毒(筒箭毒碱)引起的呼吸抑制,术后或产后肠麻痹、胃肠功能障碍、排尿困难等;(2)用于手术结束时拮抗非去极化肌肉松弛药的残留肌松作用。

来自:CDE 官网

新斯的明为抗胆碱酯酶药物,由日本盐野义株式会社研发,最早于 1936 年 10 月在日本上市。据 Insight 数据库 显示,当前国内已有  12  家企业正在布局新斯的明的注射剂剂型,其中,7 家已经获批,另有 3 家正在上市申请中。

国内企业新斯的明注射剂研发进度分布

来自:Insight 数据库(http://db.dxy.cn/v5/home/)

药品名称:甲氨蝶呤注射液(预充式)

企业名称:深圳市康哲生物科技有限公司

拟定适应症(或功能主治):用于治疗对常规疗法不敏感的严重、顽固、致残性银屑病。

来自:CDE 官网

甲氨蝶呤注射液(预充式)是多种规格的低剂量甲氨蝶呤(MTX)注射剂。该产品已被 NMPA 公布为参比制剂(RLD),且已获得欧洲药品管理局总部(HMA)批准上市。有望成为中国首个以皮下给药治疗银屑病的甲氨蝶呤药物,满足银屑病患者基础治疗的用药需求。

据 Insight 数据库 显示,除该适应症外,康哲药业亦在探索甲氨蝶呤的其他适应症。2021 年 8 月,该产品的 RA 适应症的一项试验申请获批。此后,于今年 4 月 12 日,甲氨蝶呤注射液(预充式)用于治疗成人类风湿关节炎(RA)的中国 III 期桥接试验完成首例受试者给药。这是在 RA 适应症的又一重大进展。

儿童用药品种

药品名称:地高辛注射液;

企业名称:成都倍特药业股份有限公司;

拟定适应症(或功能主治):1)成人心衰:地高辛注射液适用于成人轻度到中度的心力衰竭,可增加左心室射血分数,改善心力衰竭症状,表现为运动能力改善,与心力衰竭有关的住院和急诊减少,而对死亡率没有影响。在可能的情况下,应与利尿剂和血管紧张素转换酶(ACE)抑制剂联合使用。2) 小儿心衰:可增加小儿心衰患者的心肌收缩力。3)成人房颤:适用于控制成年慢性房颤患者的心室反应率。

来自:CDE 官网

地高辛是临床常用的强心苷类药物,能减慢心率,有效改善心力衰竭症状和心功能,降低严重充血性心力衰竭患者的住院率并缩短其住院时间,临床常用于治疗心力衰竭、心房颤动及其他心律失常等。此前于 4 月 19 日,成都倍特药业的地高辛片刚刚首家过评。

药品名称:司替戊醇干混悬剂

企业名称:石家庄四药有限公司

拟定适应症(或功能主治):与氯巴占和丙戊酸盐联合使用,用于婴儿严重肌阵挛性癫痫(SMEI,Dravet综合征)患者癫痫发作时,氯巴占和丙戊酸盐无法充分控制的难治性全身强直阵挛发作的辅助治疗。

来自:CDE 官网

司替戊醇于 2001 年在欧盟获得孤儿药的称号,随后于 2007 年在欧盟、2012 年在日本和加拿大获得批准与氯巴占和丙戊酸盐联合使用,用于婴儿期严重肌阵挛性癫痫(SMEI,Dravet 综合征)的难治性全身性强直性阵挛性癫痫发作的辅助治疗;2018 年获美国 FDA 批准与氯巴占联合治疗 2 岁及以上 Dravet 综合征相关癫痫发作患者。当前在国内,司替戊醇尚未获批上市。

据 Insight 数据库 显示,当前国内司共有 3 家企业在开发替戊醇混悬剂分别为石家庄四药、济南科汇医药和河北君临药业。其中,石家庄四药为首家申报上市的企业。

国内布局替戊醇的企业

来自:Insight 数据库(http://db.dxy.cn/v5/home/)

药品名称:氯巴占片

企业名称:宜昌人福药业有限责任公司;

拟定适应症(或功能主治):用于 2 岁及以上 Lennox-Gastaut 综合征(LGS)患者癫痫发作的联合治疗。

来自:CDE 官网

氯巴占是一款用于儿童难治性癫痫发作,属于罕见病用药,最早于 1970 年 2 月在澳大利亚获批上市,当前已在 100 多个国家和地区获批上市。作为 LGS 的一种新型辅助治疗药物,与传统 1,4-苯二氮䓬类药物相比,其具有疗效确切、安全性高、耐受性良好的特点,将成为医生治疗包括 LGS 在内的难治性癫痫的一种新的选择。

据 Insight 数据库 显示,当前在国内并无该活性成分获批上市,本次申报为国内首家。除宜昌人福药业以外,另有济南科汇医药科技正在研发该药,已于 2016 年 3 月首次获批临床。

当前国内企业布局氯巴占情况

来自:Insight 数据库(http://db.dxy.cn/v5/home/)

药品名称:卡谷氨酸分散片

企业名称:锐康迪(北京)医药有限公司

拟定适应症(或功能主治):本品用于治疗成人及儿童患者由N-乙酰谷氨酸合成酶(NAGS)原发性缺乏症引起的高氨血症,由异戊酸血症(IVA)引起的高氨血症,由甲基丙二酸血症(MMA)引起的高氨血症,由丙酸血症(PA)引起的高氨血症。

来自:CDE 官网

卡谷氨酸是一款罕见病药物,最初在海外被批准用于 N-乙酰谷氨酸合成酶(NAGS)缺乏症引起的高氨血症,也是 FDA 批准的第一个用于治疗因 PA 或 MMA 引起的急性高氨血症的药物。

据 Insight 数据库 显示,当前卡谷氨酸并未在国内获批上市,本次的申报被拟纳入优先审评,也将会加速卡谷氨酸在国内的上市进程。

国内企业卡谷氨酸在研项目

来自:Insight 数据库(http://db.dxy.cn/v5/home/)

临床急需品种

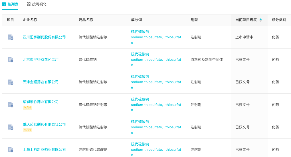
药品名称:硫代硫酸钠注射液

企业名称:四川汇宇制药股份有限公司

拟定适应症(或功能主治):本品主要用于氰化物中毒,也可用于砷、汞、铅、铋、碘等中毒。

来自:CDE 官网

硫代硫酸钠注射液为国家短缺药品清单品种,据 Insight  数据库显示,当前国内仅有 5 家企业正在开发硫代硫酸钠注射剂(包括硫代硫酸钠注射液和注射用硫代硫酸钠),其余 4 家企业已获得批文。

硫代硫酸钠国内企业布局情况

来自:Insight 数据库(http://db.dxy.cn/v5/home/)