EN
产业资讯 政策法规 研发追踪 医改专题
2022上半年抗癌新药盘点,肿瘤患者再添16款新药!
产业资讯 药融云 2022-08-08 4460

转眼2022年已经来到了8月,虽然疫情防控仍是人们健康生活的主旋律,但是多款新药陆续获批上市,尤其是肿瘤方面的新药获批数量喜人,给癌症患者带来了新的希望及治疗选择。

据药融云数据统计,截至2022年7月28日,国内一共批准了28款新药,包含17个小分子化学药、10个生物药、1个中成药。而肿瘤治疗领域的新药就占据了16款,包括肺癌、乳腺癌、前列腺癌、肝癌、直肠癌、胃癌、淋巴瘤、白血病、宫颈癌、膀胱癌、胆管癌等。

01

淋巴瘤——度维利塞、布格替尼、盐酸丙卡巴肼

获批上市的16款抗癌新药中,有3款淋巴瘤治疗新药。

度维利塞

2022年3月18日,石药集团的 PI3Kδ/γ 抑制剂「度维利塞胶囊」(曾用名:度恩西布)获批上市,用于治疗既往至少经过两次系统治疗的复发或难治性滤泡性淋巴瘤(FL)。这是国内首款获批的PI3K抑制剂。

度维利塞审批时间轴(总耗时331天)

图片来源:药融云中国药品审批数据库

PI3K信号可能导致恶性B细胞的增殖,并在肿瘤微环境的形成和维持中起着重要作用。而PI3K-δ和PI3K-γ这两种蛋白激酶已被证实有助于恶性B细胞及T细胞生长及生存。度维利塞(Copiktra)对PI3K-δ的抑制可导致恶性肿瘤细胞凋亡,而对PI3K-γ的抑制则减少了肿瘤微环境中支持细胞的分化和转移。

布格替尼

2022年3月24日,武田中国旗下肺癌领域创新药物安伯瑞®(布格替尼片/Brigatinib)批准上市,单药适用于间变性淋巴瘤激酶(ALK)阳性的局部晚期或转移性的非小细胞肺癌(NSCLC)患者的治疗。间变性淋巴瘤激酶(ALK)融合是非小细胞肺癌(NSCLC)的重要治疗靶点,有“钻石突变”之称。

布格替尼历年全球销售趋势

图片来源:药融云全球药物研发数据库

布格替尼片是一款全新ALK酪氨酸激酶抑制剂,在延长患者生存、控制脑转移、改善生活质量等方面的疗效已经得到临床验证。目前,布格替尼片已在全球40多个国家及地区获得批准,并获得FDA突破性治疗药物认证和孤儿药认证。

盐酸丙卡巴肼

2022年4月21日,李氏大药厂子公司兆科药业的抗肿瘤新药盐酸丙卡巴肼胶囊(Natulan)在国内正式获批上市,用于晚期霍奇金淋巴瘤治疗。盐酸丙卡巴肼胶囊是由罗氏研发的一种烷化剂药物,也是一种周期非特异性抗肿瘤药。据文献报道,该产品的抗肿瘤作用机制为:药物进入体内后经肝微粒体氧化代谢产生甲基或其他烷基自由基,再与DNA作用使其解聚,从而抑制DNA、RNA以及蛋白质的合成。

盐酸丙卡巴肼批文信息(部分)

图片来源:药融云中国药品批文数据库

在中国进行的开放标签、随机、对照、多中心临床研究的结果,当中比较基线BEACOPP(包括博来霉素、依托泊苷、盐酸阿霉素(阿霉素)、环磷酰胺、长春新礆(安可平)、甲基苄肼及泼尼松的联合化疗)及ABVD(包括盐酸阿霉素(阿霉素)、博来霉素、长春礆及达喀尔巴嗪的联合化疗)治疗方案对晚期霍奇金淋巴瘤患者的安全客观缓解率。

02

肺癌——洛拉替尼、曲拉西利

2022年4月29日,辉瑞的洛拉替尼(Lorlatinib)在中国获批上市,用于治疗间变性淋巴瘤激酶(ALK)阳性局部晚期或转移性非小细胞肺癌(NSCLC)。洛拉替尼(Lorlatinib)是一种第三代ALK抑制剂,属于ALK/ROS1双靶点抑制剂。可抑制克唑替尼耐药的9种突变,具有较强的血脑屏障透过能力,入脑效果较强,特别适合用于其他ALK耐药的晚期NSCLC患者。洛拉替尼通过独特的结构优势使之实现了大幅度提升抗肿瘤活性,有望改写ALK突变NSCLC一线、二线治疗的格局。

洛拉替尼化学结构

图片来源:药融云全球药物研发数据库

2022年7月13日,先声药业与G1 Therapeutics合作研发的化疗全系骨髓保护创新药物科赛拉®(注射用盐酸曲拉西利)在中国获得附条件批准上市,用于既往未接受过系统性化疗的广泛期小细胞肺癌患者,在接受含铂类药物联合依托泊苷方案治疗前预防性给药,以降低化疗引起的骨髓抑制的发生率。

曲拉西利是全球首款拥有全系骨髓保护作用的化疗前给药的创新药物。曲拉西利是一款高效、选择性、可逆的CDK4/6抑制剂,可以诱导造血干/祖细胞(HSPCs)及淋巴细胞暂时停滞在G1期,降低化疗药物对骨髓细胞的损伤,起到多谱系的保护作用;小细胞肺癌的肿瘤细胞因对CDK4/6不敏感而不会受到其抑制。

03

泛癌种——斯鲁利单抗、拉罗替尼、普特利单抗

斯鲁利单抗

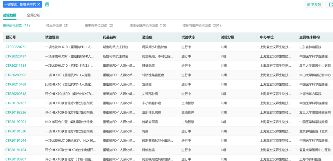
2022年3月24日,复宏汉霖自主研制的创新型PD-1抑制剂斯鲁利单抗(商品名:汉斯状®)获批上市,用于治疗不可切除或转移性微卫星高度不稳定(MSI-H)的成人晚期实体瘤经治患者。斯鲁利单抗为一款PD-1抗体,在标准治疗失败的MSI-H实体瘤患者中展现了显著的抗肿瘤活性和较好的安全性。

目前我国鲜有针对MSI-H晚期实体瘤获批的PD-1抑制剂,临床治疗需求远未被满足,斯鲁利单抗为国内治疗该适应症再添“利器”。目前,斯鲁利单抗在其他多瘤种中也在开展临床研究,比如治疗小细胞肺癌的临床试验已经取得成功,而在非小细胞肺癌、肝癌、头颈部肿瘤等的试验也正在进行。

斯鲁利单抗临床试验布局(部分)

图片来源:药融云中国临床试验数据库

拉罗替尼

2022年4月8日,拜耳(Bayer)公司larotrectinib(硫酸拉罗替尼胶囊)的上市申请获批,用于治疗携带NTRK融合基因的实体瘤成人和儿童患者。拉罗替尼作为首个口服TRK抑制剂,是专门用于治疗具有NTRK基因融合肿瘤的泛瘤种精准靶向治疗药物。

该药的最大看点在于,它是一款针对特定基因突变,而不针对特定癌症种类的抗癌新药。其所能治疗的NTRK基因融合实体瘤包括乳腺癌、结直肠癌、肺癌、甲状腺癌等17种癌症类型,并获得75%的总缓解率的良好数据,同时对成人和儿童都可以使用。

普特利单抗

2022年7月22日,乐普生物“普特利单抗”的上市申请获批,用于既往接受一线及以上系统治疗失败的高度微卫星不稳定型(MSI-H)或错配修复缺陷型(dMMR)的晚期实体瘤患者的治疗。

普特利单抗(HX008,商品名:普佑恒TM)成为国内第10款(国产第8款)PD-1单抗。国内获批上市的抗PD-1类药物共计15款(含4款进口药物),而FDA和EMA获批上市的同类药物为7款。虽然对药企来说是一片红海,却提高了患者的药物可及性,并大幅降低了药费。

普特利单抗适应症

图片来源:药融云全球药物研发数据库

据药融云中国临床试验数据库显示,普特利单抗正在拓展针对胃癌、非小细胞肺癌、乳腺癌等多个瘤种的开发。当前已经启动了 19 项临床,进展最快的二线胃癌适应症已经处于 3 期注册临床阶段。此外,II 期临床还涉及高危非肌层浸润膀胱癌、甲状腺未分化癌、一线治疗晚期肝细胞癌。

除此之外,还有肝细胞癌新药(淫羊藿素软胶囊)、胃癌新药(雷莫西尤单抗)、胆管癌新药(佩米替尼)、乳腺癌新药(戈沙妥珠单抗)等等,想要查看完整获批新药内容,关注“药融云”公众号回复“NMPA”关键词一键获取。