EN
产业资讯 政策法规 研发追踪 医改专题
3 款新冠疫苗同日获批!万泰、三叶草…国内当前已批 12 款
产业资讯 Insight数据库 2022-12-07 2954

昨日至今日,国产新冠疫苗连报喜讯,陆续获批紧急使用。截至发文时,国内的新冠疫苗上市数量已经达到了 12 款,且仍有望继续增加。

昨日(12.4)下午,神州细胞宣布,重组新冠病毒 2 价(Alpha/Beta 变异株)S 三聚体蛋白疫苗(项目代号:SCTV01C) 经国家有关部门论证被纳入紧急使用。

今日(12.5)早晨,三叶草生物宣布,新冠疫苗 SCB-2019(CpG 1018╱铝佐剂)已获中国有关部门评估并在中国被纳入紧急使用。

中午,四川大学宣布华西医院研发的重组新型冠状病毒蛋白疫苗(Sf9 细胞)威克欣纳入紧急使用,成为首个获批紧急使用的昆虫细胞技术平台生产的重组蛋白新型冠状病毒蛋白疫苗。

下午,万泰生物又宣布其鼻喷病毒载体新冠疫苗获批紧急使用。这是在康希诺之后,第 2 款获批的非注射剂疫苗。

随着疫情防控形势的发展,预计更多疫苗、治疗药物也将逐渐开花结果,为国内疫情防控贡献更多力量。后续潜在还有哪些企业、哪些产品即将冲线?Insight 将借助数据简单概览。

新冠疫苗12 款获批,14 款临床 III 期新疫苗研发聚焦奥密克戎

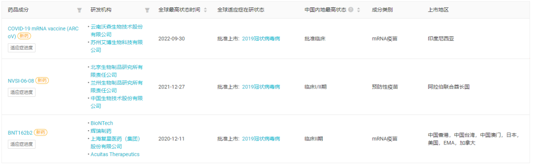
据 Insight 数据库显示,目前国内已有 12 款获批的新冠疫苗。这些获批的疫苗涵盖到多种技术路线、不同给药方式和不同新冠病毒株,包括灭活疫苗、腺病毒疫苗、重组蛋白疫苗;注射型疫苗和吸入型疫苗;新冠原始毒株和 Alpha、Beta……中国内地获批上市的新冠疫苗

截图来自:Insight 数据库(http://db.dxy.cn/v5/home/)

与此同时,三款疫苗已经在海外获批,但暂未在国内获得批准。其中包括了国药中生的二代新冠疫苗、沃森/艾博和复星医药/BioNTech 的 mRNA 疫苗。

海外获批、国内尚未获批的新冠疫苗

截图来自:Insight 数据库

mRNA 疫苗的后续开发也是业内比较受关注的热议话题了。从临床 III 期疫苗来看,14 个中国企业布局的疫苗项目中,也包括了 4 款 mRNA 疫苗,分别来自斯微生物、云顶新耀/Providence、康希诺生物和艾美疫苗。从当前在研疫苗中也可以明显看到对 Omicron 毒株的聚焦攻克,如智飞生物今年 11 月刚刚启动 III 期临床的正是 Omicron-Delta 株重组新型冠状病毒蛋白疫苗。国内最先上市的 3 款灭活疫苗的研发企业北京生物、武汉生物和科兴今年 5 月也几乎同时开启了 Omicron 灭活疫苗的 III 期临床试验。国内企业布局的临床 III 期阶段疫苗


截图来自:Insight 数据库据

Insight 显示,当前国内企业参与布局的新冠 mRNA 疫苗已有 37 个,其中 21 个已进入临床。石药集团的mRNA疫苗备受关注,6 项临床研究中有 2 项已经提交 CDE,针对后续紧急使用的准备,该企业已经建成了符合 GMP 的生产车间,并获得河北省药监局授予的药品生产许可,保证了疫苗的供应,关键原料及辅料均可由石药自主生产,在供应链上实现了自主可控,同时大幅降低生产成本。

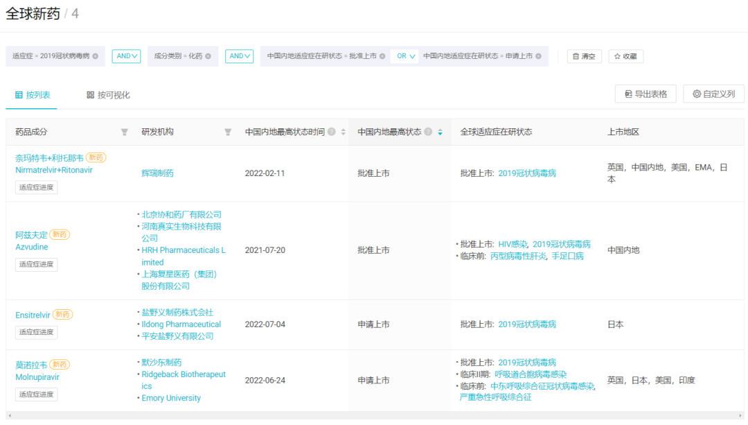
新冠治疗药物阿兹夫定、Paxlovid 已获批10 款 III 期临床新药紧随其后据 Insight 数据库,目前针对 COVID-19 的小分子化药开发在 3CLPRO、 RDRP 靶点密集扎堆,此外还有针对其他已上市老药进行新冠适应症的开发。3CL 蛋白酶是新型冠状病毒复制必须的关键蛋白酶,这一靶点的典型代表是辉瑞的 PF-07321332,该成分与低剂量抗逆转录病毒药物利托那韦(Ritonavir)共同构成了口服复方制剂 Paxlovid 。

RNA 聚合酶抑制剂排位仅次于 3CL 蛋白酶抑制剂,靶点为 RDRP(RNA-dependent RNA polymerase),以默沙东的 Molnupiravir、吉利德的瑞德西韦(Remdesivir)、君实生物/旺山旺水的 Renmindevir(VV116)为典型代表。这三款药物目前已经获批上市,其中 VV116 获批于乌兹别克斯坦。国内进度新冠化药

截图来自:Insight 数据库

在小分子化药方面,当前国内仅 Paxlovid 和阿兹夫定获批上市。另外两款已经申报的化药均为进口,默沙东的 Molnupiravir 和盐野义的 Ensitrelvir。国内申报/获批的新冠口服化药

截图来自:Insight 数据库

未上市新药当中,被寄予最多期待的产品之一或许是君实生物的 Renmindevir。去年 12 月该药在乌兹比克斯坦获批紧急使用,据年中披露价格为185美元一疗程;今年先后启动了 II/III 期临床和 3 项 III 期临床,并在头对头辉瑞 Paxlovid的研究中达到了统计学优效,相比 Paxlovid,患者接受 VV116 治疗的中位至持续临床恢复时间更短。后续何时撞线?这一结果备受期待。Renmindevir 全球研发进度甘特图

截图来自:Insight 数据库

再看其他国内企业参与研发的 III 期阶段新冠口服化药。其中前沿生物的福布特韦、先声药业的 SIM0417、众生药业的 RAY1216 都属于 3CL 蛋白酶抑制剂,歌礼制药的 ASC09F 则属于 HIV-1 蛋白酶抑制剂。歌礼还布局了 RdRp 抑制剂 ASC10、ASC10-A 和 3CL 蛋白酶抑制剂 ASC11,均处于早期研发中。国内参与研发的 III 期和 II/III 期阶段新冠口服化药

截图来自:Insight 数据库

您可能感兴趣
波士顿科学,大赚355亿
波士顿科学,大赚355亿
产业资讯 赛柏蓝器械 2026-04-27 40
IL-2新药biotech,融资3.25亿美元
IL-2新药biotech,融资3.25亿美元
产业资讯 药融圈 2026-04-27 39
AbbVie决定在这投资14亿美元,并融合AI
AbbVie决定在这投资14亿美元,并融合AI
产业资讯 药融圈 2026-04-27 39