EN
产业资讯 政策法规 研发追踪 医改专题
国内创新药爆发,7 款报上市!海外 MNC 财报季,辉瑞完成千亿营收,K 药夺下药王宝座… | Insight 新药周报
产业资讯 Insight数据库 2023-02-06 3675

据 Insight 数据库统计,本周(1 月 29 日-2 月 4 日)全球共有 48 款创新(含改良新)研发进度推进到了新阶段,其中 4 款获批上市,4 款申报上市,11 款获批临床,15 款申报临床。

下文中,Insight 将分别摘取国内外部分重点项目做介绍。

国内创新药进展

国内部分,本周共有 51 款创新药(含改良新)研发进度推进到了新阶段,其中 3 款获批上市,7 款申报上市,7 款首次获批临床,18 款申报临床。

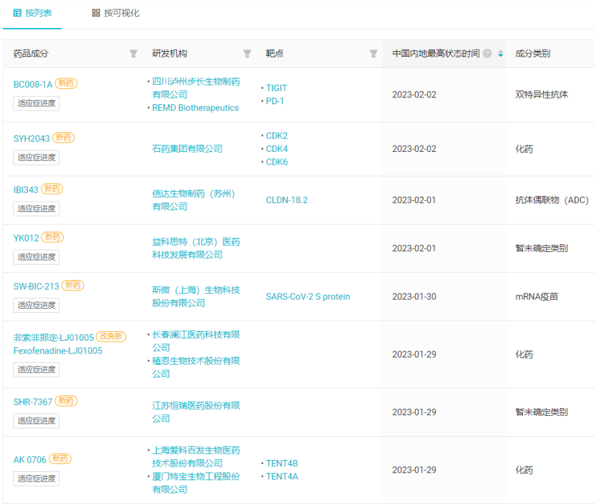
本周国内首次启动临床的 8 款创新药(含改良新)

来自:Insight 数据库网页版(http://db.dxy.cn/v5/home/)

获批上市

1、两款国产新冠抗病毒药物同步获批上市

1 月 29 日,国家药监局宣布,附条件批准两款新冠病毒感染治疗药物上市。这两款药物分别为:先诺特韦片/利托那韦片组合包装(来自先声药业,商品名称:先诺欣)、氢溴酸氘瑞米德韦片(来自君实生物,商品名称:民得维)。

在春节前夕的 1 月 16 日和 17 日,这两款新药相继申报上市。节后刚刚开工,两者就同步获批,为 2023 年开了个好头。

截止当前,国内已经有了 5 款获批的新冠口服抗病毒小分子,而这两款分别与辉瑞 Paxlovid、默沙东 Mulnupiravir 同靶点同机制,国产药物真正实现了从零到一的突破。在辉瑞 Paxlovid 医保谈判未谈成之后,国产新冠药物的获批有望为国内患者提供更多选择。

先诺欣®是一款口服小分子抗新冠病毒创新药,是先诺特韦片与利托那韦片的组合包装药物,其中先诺特韦针对 SARS-CoV-2 病毒复制必须的 3CL 蛋白酶,与低剂量利托那韦联用有助于减缓先诺特韦在体内的代谢或分解,提高抗病毒效果。在临床前动物试验中,先诺欣®显示出高效、广谱抗新冠病毒活性,未发现遗传学毒性。

2021 年 11 月 17 日,先声药业与中国科学院上海药物研究所、武汉病毒研究所订立技术转让合同,获得先诺特韦在全球开发、生产及商业化的独家权利。

据 Insight 数据库显示,先诺欣®在 2022 年 3 月 30 日首次在国内获批临床,4 月 10 日完成了 I 期临床首例受试者给药。目前,该项目启动了 6 项临床试验,首项 II/III 期临床启动于 5 月,仅仅在获批临床的 1 个半月之后,推进速度相当快。

2022 年 8 月 19 日,评估先诺欣®治疗轻中度 COVID-19 成年感染者的有效性和安全性多中心、随机、双盲、安慰剂对照的 Ⅱ/Ⅲ 期临床研究达成首例患者入组,2022 年 12 月 16 日完成全部 1208 例患者入组,以极快速度完成了临床试验,走向上市阶段。先声药业表示,注册临床研究的有效性、安全性详细数据将在产品批准上市后公布或公开发表。

先诺欣研发进度甘特图(研发代号:SIM0417)

截图来自:Insight 数据库(http://db.dxy.cn/v5/home/),截至 1 月 16 日

此外,2022 年 5 月 17 日,先诺欣还获批一项新临床试验,用于曾暴露于新冠检测阳性感染者的密接人群的暴露后预防治疗。如若针对该适应症的研究顺利,其适应症范围无疑将显著扩大。不过要取得成功并不容易,辉瑞的 Paxlovid 也曾挑战这一适应症,然而 EPIC-PEP 研究遗憾折戟,未能达到主要终点。

而君实生物的氢溴酸氘瑞米德韦片(民得维®,研发代号:VV116)是一款新型口服核苷类抗病毒药物,能够以三磷酸形式非共价结合到新冠病毒 RNA 聚合酶的活性中心,直接抑制了病毒 RNA 聚合酶的活性,阻断子代病毒的复制,从而实现抗病毒的作用。

此前,在 2022 年 5 月,君实曾公布一项 VV116 头对头辉瑞 Paxlovid 用于伴有进展为重症(包括死亡)高风险因素的轻中度 COVID-19 患者早期治疗的 III 期临床研究(NCT05341609)主要终点达到设计的非劣效终点,详细临床数据于同年 12 月发表在 NEJM 期刊上。

研究实际入组 822 例患者,采用单盲设计,即在研究结束最终数据库锁定前,研究者(包括研究终点评估者)和申办方都不会知道具体的治疗药物分配情况。主要研究终点为「至持续临床恢复的时间」。

最终分析结果显示,在 FAS (全分析集)人群中,VV116 与PAXLOVID 在「至持续临床恢复的时间」达到非劣效(HR=1.17,95%CI:1.02~1.36),且 VV116 组比 PAXLOVID 组的中位恢复时间更短(4 天 vs. 5 天)。在安全性方面,VV116 比 PAXLOVID 的安全性顾虑更少。VV116 组的 AE 发生率低于 PAXLOVID 组(所有级别的 AE:67.4% vs. 77.3%,3 或 4 级 AE:2.6% vs. 5.7%)。

NCT05341609 试验结果

来自:Insight 数据库网页版(http://db.dxy.cn/v5/home/)

2、BMS 新型多发性硬化口服药物:热珀西亚®(盐酸奥扎莫德胶囊)获批上市

2 月 2 日,百时美施贵宝中国今日宣布,旗下新型选择性鞘氨醇 1-磷酸(S1P)受体调节剂热珀西亚®(盐酸奥扎莫德胶囊)获得中国国家药品监督管理局批准,用于治疗成人复发型多发性硬化,包括临床孤立综合征、复发-缓解型多发性硬化和活动性继发进展型多发性硬化。

这是百时美施贵宝中国在自身免疫疾病领域首个获批的创新疗法,有望为中国多发性硬化患者带来「躯体+认知」双重保护治疗新方案。

来自:NMPA 官网

多发性硬化是一种以中枢神经系统炎性脱髓鞘病变为主要特点的免疫介导性疾病 ,可能出现包括运动障碍、感官异常、认知功能损伤等多种临床表现。该病高发于青壮年,女性更为多见,已成为导致年轻人非外伤性致残的主要原因。

除了可见的躯体症状,多发性硬化还可导致患者脑萎缩加快和认知功能障碍。有研究显示,40%-70% 的多发性硬化患者存在认知功能障碍,且认知水平的下降可在多发性硬化早期、甚至在运动症状出现之前就已发生。

认知功能障碍不仅会极大影响多发性硬化患者的生活质量和就业率 ,其与远期残疾进展也存在显著相关性。一项纵向前瞻性研究表明 ,多发性硬化患者早期认知功能评分越低,残疾进展越快。而脑萎缩、尤其是灰质萎缩是导致认知功能障碍的关键决定因素。

也正因为如此,针对热珀西亚的 III 期临床研究将「全脑容量丢失」、「皮层灰质容量丢失」和「丘脑容量丢失」的评估作为研究预设终点(次要终点和探索性终点),证据级别更高 12,13。这也使得热珀西亚成为首个在大规模 III 期临床研究中「全面评估脑容量丢失」的多发性硬化疾病修正治疗(DMT)药物。

此次获批基于 SUNBEAM(12 个月)和 RADIANCE(B 部分,24 个月)这两项大型阳性药物对照 III 期研究结果。研究共计纳入了 2600 多名患者,旨在评估热珀西亚(口服,每日一次)对比 AVONEX®(重组人干扰素β-1a,肌肉注射,每周一次,下简称「干扰素β-1a」)在治疗成人复发型多发性硬化患者中的有效性和安全性。研究结果显示 , ,与干扰素β-1a 相比,热珀西亚可带来显著临床获益(具体对照数据可参见文末「关于 SUNBEAM 和 RADIANCE 研究」部分):

• 年复发率(ARR)降低:与干扰素β-1a 相比,持续接受热珀西亚治疗 12 个月的患者,其 ARR 可降低 48%;持续治疗 24 个月,ARR 降低 38%;

• MRI 病灶数减少:与干扰素β-1a 相比,持续接受热珀西亚治疗 12 个月的患者,其 T1 加权钆增强(GdE)病灶数减少 63%,新发/扩大 T2 病灶数减少 48%;持续治疗 24 个月,其 T1 加权钆增强(GdE)病灶数减少 53%,新发/扩大 T2 病灶数减少 42%;

• 脑容量丢失减少:与干扰素β-1a 相比,接受热珀西亚治疗 12 个月的患者,其全脑容量丢失减少 31%,皮层灰质容量丢失减少 84%,丘脑容量丢失减少 32%;持续治疗 24 个月,其全脑容量丢失减少 26%,皮层灰质容量丢失减少 60%,丘脑容量丢失减少 27%;

• 认知功能保护:在 SUNBEAM 研究中,接受热珀西亚治疗 12 个月,35.6% 患者的符号数字模式测试(SDMT)出现具有临床意义的改善(SDMT 评分增加≥4 分),高于干扰素β-1a 治疗组患者(27.9%);

在这两项研究中,热珀西亚整体安全性和耐受性良好,最常见的不良事件(发生率≥4%)为上呼吸道感染、肝转氨酶升高、直立性低血压、尿路感染、背痛和高血压 。

热珀西亚良好的疗效和安全性与其作用机制密切相关。作为一种全新分子结构的高选择性 S1P1 和 S1P5 受体调节剂,热珀西亚可适度抑制淋巴细胞迁出;更多入脑,可直接作用于中枢进行抗炎和神经保护。此外,药物代谢平稳、途径广泛,因此无需首剂心脏监测(重大心血管疾病患者除外)和基因检测,便于启动治疗。

3、一线肝细胞癌!恒瑞 PD-1 第 9 个适应症获批上市

1 月 31 日,NMPA 最新批件显示,恒瑞医药的 PD-1 单抗「卡瑞利珠单抗」新适应症获批上市(受理号:CXSS2101063)。据此前上市申报信息,本次获批的适应症为:联合阿帕替尼一线治疗肝细胞癌。

这是卡瑞利珠单抗第 9 项获批适应症。据 Insight 统计,此前国内仅信达一家获批一线肝细胞癌适应症,获批方案同为联合疗法,不过联合用药为贝伐珠单抗。卡瑞利珠单抗是国内第 2 款获批此适应症的 PD-1 单抗,同时恒瑞此前也表示,拟以这项适应症向 FDA 申报上市,冲刺美国市场,目前项目团队已完成与 FDA 的多轮沟通。


截图来自:NMPA 官网

恒瑞的「双艾组合」(即卡瑞利珠单抗「艾瑞卡®」联合阿帕替尼「艾坦」)一线治疗肝细胞癌的全球 III 期临床 SHR-1210-III-310此前曾在 2022 ESMO 年会上作为 LBA 报告发布(登记号:NCT03764293,摘要编号 #LBA35)这是一项由肝癌著名专家秦叔逵作为全球 leading PI 的随机、开放标签、国际多中心 III 期研究,对比索拉非尼,主要终点为 IRC 评估的 PFS 和 OS,关键次要终点为 ORR。

研究共纳入 543 例受试者,亚洲人占比近 83%,BCLC C 占比 86%,PS=1 占比 56%,HBV 病因学占比 76.5%,局部治疗占比 59.2%。

SHR-1210-III-310 入组患者基线特征

截图来自:ESMO,下同

结果显示,相比索拉非尼,双艾可显著改善 mPFS(5.6 个月 vs 3.7 个月),降低 48% 疾病进展或死亡风险,p<0.0001;可显著延长 mOS(22.1 个月 vs 15.2 个月), 降低 38% 死亡风险,p<0.0001。索拉非尼后续免疫治疗比例为 33.5%。亚组分析显示,HBV 病因学肝细胞癌似乎更能从双艾中获益。

ITT 人群中 PFS 主要终点数据

目前,卡瑞利珠单抗获批的 9 项适应症如下:

来源:NMPA、CDE、企业官网,Insight 整理

在 1 月初进行的医保谈判中,卡瑞利珠单抗有 4 项适应症新谈成,即在本次一线肝细胞癌适应症之前获批的 8 项适应症已经全部进入医保目录之内,新目录于 3 月 1 日落地,后续预计将为恒瑞带来可观的市场份额增长。

以去年国谈标准来看,本次获批的一线肝细胞癌这项适应症大概率将参与 2023 年度的谈判。

申报上市

1、海思科:双周一次 DPP4 抑制剂报上市

1 月 29 日,CDE 官网显示,海思科长效二肽基肽酶-4(DPP-4)抑制剂 HSK7653 片上市申请获受理(受理号:CXHS2300017/8)。

截图来自:CDE 官网

HSK7653 片是海思科开发的具有独立知识产权的口服治疗 2 型糖尿病的 1 类化学药品,是一款长效的 DPP-4 抑制剂。作为治疗 2 型糖尿病的双周制剂,HSK7653 是糖尿病长期管理的理想用药选择。

临床试验结果显示,HSK7653 没有胃肠道不良反应且不引起体重的增加,可在有效降糖的同时不增加低血糖和心血管事件的发生率,在轻中度肝、肾功能损伤患者中也无需调节剂量。

据 Insight 数据库显示,当前尚无国产 DPP-4 抑制剂创新药获批,不过 6 款已获批进口药大多都有多款仿制药获批,甚至进入集采。从国产创新药维度来看,国内进展最快的是恒瑞医药,瑞格列汀在 2020 年 9 月就提交了上市申请,目前仍未获批;此外恒瑞还在年前 1 月 13 日刚刚提交了该药与二甲双胍的复方制剂 HRX0701。

海思科是继恒瑞之后第 2 家申报 DPP-4 抑制剂创新药的国内企业。不过作为一款长效药物,或许双周一次给药带来的依从性优势,有望为海思科提供助力。

国内 DPP-4 抑制剂新药项目进展(III 期及以上)

截图来自:Insight 数据库网页版

我国是全球糖尿病第一大国,患者数量居全球第一,并持续快速增长。有数据统计,2020 年,中国成年人糖尿病患病率高达 11.9%,2016 年患病率为 10.8%,患病率总体呈现不断上升的趋势。中国糖尿病患者数量已从 2016 年的 1.2 亿增长至 2020 年的 1.3 亿,约占中国总人口的 10%,位列世界第一,并以 3.0% 的复合年增长率持续增长,预计在 2025 年达到 1.5 亿,并将于 2030 年达到 1.7 亿。因此,针对 2 型糖尿病的治疗,仍然存在巨大未被满足的临床需求。

2、晨泰医药:针对 NSCLC 脑转移,EGFR-TKI 申报上市

1 月 29 日,晨泰医药的 1 类新药佐利替尼(Zorifertinib)上市申请获得 CDE 正式受理。

佐利替尼是一款专为治疗伴中枢神经系统(CNS)转移的晚期 EGFR 敏感突变 NSCLC 患者的新一代 EGFR-TKI 药物,作为全球首款针对该适应症开展注册临床试验并取得显著成果的药物,佐利替尼有望为患者群体带来新的福音。

截图来自:CDE 官网

据 Insight 数据库显示,佐利替尼曾经的研发代号为 AZD3759,是晨泰医药于 2017 年从阿斯利康处获得的一款候选分子。

佐利替尼相关医药交易

截图来自:Insight 数据库网页版

世界卫生组织国际癌症研究机构(IARC)发布的数据显示,2020 年全球癌症死亡病例 996 万例,其中肺癌死亡 180 万例,远超其他癌症类型,位居癌症死亡人数第一。肺癌伴中枢神经系统转移是患者死亡的主要原因,一直是临床上亟待解决的难题。

佐利替尼是全球唯一针对 EGFR 基因敏感突变、强效的非血脑屏障外排转运蛋白 P-gp 和 BCRP 底物的新一代 EGFR-TKI,针对 EGFR 基因 19 号外显子缺失或 L858R 的敏感突变,具有完全的血脑屏障穿透能力,可以产生并维持脑组织和脑脊液中的有效药物暴露。

该化合物的开发是不断修饰及完善其理化和生化性质,从而实现符合中枢神经系统高穿透要求的正向过程,充分践行了药品质量源于设计而分子设计基于临床需求的理念。

此前,在针对中枢神经系统转移患者的随机、开放、国际多中心 II/III 期临床研究 EVEREST 中,已对佐利替尼一线治疗伴有中枢神经系统转移的 EGFR 敏感突变晚期 NSCLC 患者的疗效和安全性予以评估验证。

EVEREST 研究于 2022 年 Q3 顺利完成最后一例受试者末次访视,在包括中国大陆及中国台湾、韩国和新加坡的共计 55 家研究中心开展,共入组 492 例伴有中枢神经系统转移的患者。该研究结果证实佐利替尼可以有效治疗伴有中枢神经系统转移的 EGFR 敏感突变晚期 NSCLC 患者,减少患者疾病进展或死亡风险,有治疗神经系统转移病灶的显著疗效,并呈现 EGFR-TKI 类药物的安全性特征,后续进展耐药时以 T790M 突变为主。

EVEREST 研究的全球主要研究者、中国胸部肿瘤研究协作组(CTONG)主席吴一龙教授表示:本研究产生的高级别临床证据表明,佐利替尼在包括有中枢神经系统转移症状的患者和各类分层中,均取得了一致的具有统计学差异之获益,有望成为伴有中枢神经系统转移的 EGFR 敏感突变晚期 NSCLC 患者的全新选择。同时,在以患者为中心,需要细分予以精准治疗的临床需求下,佐利替尼为疾病进展后的治疗药物可及性、继续延长患者生存方面提供了具有临床价值的创新治疗模式。

3、科州药物研发有限公司:MEK 抑制剂申报上市,拟优先审评

1 月 29 日,CDE 官网显示,上海科州药物研发有限公司的妥拉美替尼(HL-085)胶囊上市申请拟纳入优先审评,用于治疗既往接受过免疫治疗的 NRAS 突变晚期黑色素瘤患者。

截图来自:CDE 官网

妥拉美替尼是一种新的针对 NRAS 突变的 ATP 非竞争性 MEK 抑制剂。与传统 MEK 抑制剂相比,妥拉美替尼最大的优势在于没有蓄积性。该药早先已经在于中国进行的 1 期临床中显示出对 NRAS 突变的黑色素瘤患者良好的效果。

据 Insight 数据库显示,妥拉美替尼在 2016 年 7 月最初申报临床,首项临床于次年启动。目前,除黑色素瘤外其在研适应症还包括 I 型神经纤维瘤病、结直肠癌等。

截图来自:Insight 数据库网页版

4、恒瑞干眼病新药申报上市

2 月 1 日,据 CDE 官网显示,恒瑞医药 SHR8058 滴眼药报上市(受理号:CXHS2300021)。

来自:CDE 官网

2021 年 11 月,恒瑞曾宣布 SHR8058 滴眼液治疗睑板腺功能障碍相关干眼病的多中心、随机、双盲、盐溶液平行对照 Ⅲ 期临床 SHR8058-301 试验主要研究终点结果达到方案预设的优效标准。

该研究由首都医科大学附属北京同仁医院接英教授担任主要研究者,全国 17 家中心共同参与。主要研究终点包括:治疗结束时(第 57 天),全角膜荧光素染色评分(tCFS)较基线的变化以及眼干的严重程度评分(VAS)较基线的变化。次要研究终点包括不同访视点全角膜染色评分、各个分区角膜染色评分、干眼视觉模拟量表(VAS)和 OSDI 问卷的各项评分及其较基线的变化和安全性等。

该研究共入组 312 例睑板腺功能障碍相关干眼病的受试者,按照 1:1 随机入组,分别接受 SHR8058 滴眼液或安慰剂 0.6% 盐溶液治疗,双眼点药,一日四次,治疗 8 周。

结果表明,与安慰剂对比,SHR8058 滴眼液可以治疗睑板腺功能障碍相关干眼病,显著改善患者的干眼病症状和体征。同时,SHR8058 滴眼液安全可靠,局部耐受性好,滴药后局部感觉异常发生率与安慰剂相当。

SHR8058 滴眼液是一种无色、透明的滴眼液,由 100% 全氟己基辛烷组成,能迅速扩散至整个眼表,并与泪膜的亲脂部分相互作用,稳定泪膜、防止泪液过度蒸发。此外,SHR8058 滴眼液可穿透睑板腺,与腺体相互作用并溶解腺体中的粘性分泌物,从而达到治疗睑板腺功能障碍相关蒸发过强型干眼病的作用。

SHR8058 滴眼液是恒瑞 2019 年 11 月从 Novaliq GmbH 公司引进的产品,原研发代号为 NOV03(全氟己基辛烷)。据 Insight 数据库显示,SHR8058 于 2020 年 12 月在国内首次获批临床,于 2021 年 1 月首次启动临床(登记号:CTR20210154)。

SHR8058 全球开发项目重要节点

来自:Insight 数据库网页版(http://db.dxy.cn/v5/home/)

除 NOV03 外,恒瑞同时引进了 Novaliq 公司另一款干眼症药物 CyclASol(0.1% 环孢素 A 制剂),两款药物首付款就高达 600 万美元。除干眼症外,恒瑞在近视领域也有所布局。其在研近视眼药物 HR19034 当前也已在开展 II/III 期临床试验(登记号:CTR20212080),用于延缓儿童近视进展,并于去年 12 月完成所有受试者的招募工作。

根据灼识资料,预计全球眼科药物市场将由 2019 年的 340 亿美元增至 2030 年的 681 亿美元,恒瑞无疑也看好该市场,除创新药外,还布局了多款首仿眼科产品,适应症涵盖干眼症、青光眼等。

2021 年 11 月,恒瑞首仿药「他氟前列素滴眼液」获批,用于治疗青光眼;2022 年 5 月,首仿药「地夸磷索钠滴眼液」获批,用于治疗干眼病;此外,恒瑞「去氧肾上腺素酮咯酸溶液」也是国内首家报上市产品,当前已完成审评工作(受理号:CYHS2000851)。

获批临床

1、信立泰:SAL0119 获批临床,治疗强直性脊柱炎及类风湿关节炎

1 月 30 日,信立泰宣布,其自主创新研发的口服小分子免疫抑制剂 SAL0119 获得国家药品监督管理局批准,同意开展治疗强直性脊柱炎(AS)及类风湿关节炎(RA)的临床试验。

我国强直性脊柱炎(AS)患病率初步调查为 0.3% 左右;发病年龄 15 至 40 岁,其中发病高峰年龄 18 至 35 岁。类风湿关节炎(RA)的发病率约为 0.42%,总患病人群约 500 万。RA 可发生于任何年龄,随着病程的延长,患者残疾及功能受限发生率升高,病程≥15 年的致残率高达 61.3%。

强直性脊柱炎(AS)和类风湿关节炎(RA)均属于自身免疫疾病,目前发病原因尚不完全明确,且暂时无法治愈。AS 和 RA 具有病程长、易反复、大部分患者需要终身治疗等特点,严重影响患者的身心健康及生活质量。

目前国内的RA 和 AS 药物治疗主要为非甾体抗炎药、糖皮质激素和改善病情抗风湿药(DMARDs),但均存在用药的局限性,而靶向治疗的生物制剂和 JAK 抑制剂也有诸多不足,如大分子生物制剂存在治疗衰减,保存条件苛刻,价格相对昂贵,皮下给药患者顺应性差等问题;JAK 类抑制剂存在增加心脏、癌症、血栓和死亡的风险等问题。

SAL0119 是口服小分子免疫抑制剂,目前拟开发临床适应症包括活动性强直性脊柱炎及中重度活动性类风湿关节炎。SAL0119 具有独特的不同于 JAK 类的作用机制和广谱的细胞因子抑制作用,临床前研究数据体现出良好的有效性和安全性。若能研发成功并获批上市,将为 AS、RA 患者提供新的用药选择,满足未被满足的临床需求。

申报临床

1、君实首个 siRNA 新药申报临床

1 月 31 日,CDE 官网显示,君实生物 1 类新药 JS401 注射液首次申报临床。这是一款代谢领域 siRNA 新药,靶点为 ANGPTL3。据君实披露,JS401 为潜在国内首个该靶点 siRNA 药物。同时,这也是君实申报的首个 siRNA 新药。

来自:CDE 官网

目前,君实已经初步搭建完毕 siRNA 药物研发平台。首发新药 JS401 可长期有效针对混合型高脂血症,具备 siRNA 类药物长效的显著优势;临床前评估显示,其体外 RGA 活性与 FIC 分子相当,猴原代肝细胞自由摄取活性和转基因小鼠蛋白抑制活性也均与 FIC 分子相当。

截图来自:君实生物 2023JPM

ANGPTL3 是由肝脏表达的血管生成素样蛋白家族的成员,通过抑制脂蛋白脂肪酶 (LPL) 和内皮脂肪酶 (EL) 发挥调节脂质代谢的作用。ANGPTL3 功能丧失或抑制可显著降低甘油三酯及其他致动脉粥样硬化性脂蛋白的水平。

JS401 经 N-乙酰半乳糖胺 (GalNac) 被递送至肝细胞内,在肝细胞内特异性降解 ANGPTL3 mRNA,并持续性抑制 ANGPTL3 蛋白的表达,从而发挥其降脂(甘油三酯及胆固醇)的作用。

截至发文,针对这一靶点仅再生元 Evinacumab 获批上市,而已进入临床阶段的同靶点 siRNA 药物全球仅有来自礼来/Dicerna 和 Arrowhead 的两款,均处于 II 期临床,且尚未在国内启动临床研究,JS401 为国内首款。

Insight 数据库显示,目前全球首款也是唯一一款已经上市的针对高脂血症的 siRNA 药物是诺华的 Inclisiran,这款药物也已经在国内申报上市。其靶点为 PCSK9,相较于其他按周/月给药的单抗而言,Inclisiran 半年一次皮下注射带来的巨大依从性优势使其备受瞩目,为了获得这款新药,诺华曾花费 97 亿美元以收购其原研公司 TMC。

而针对 PCSK9 靶点,国内企业目前的研发高度聚焦在单抗之上;而全球范围内,继单抗之后,siRNA、ASO 乃至口服药物都在高速涌现。如阿斯利康布局有 PCSK9 ASO 新药 AZD8233,联手龙头企业 Ionis,同时也正将其开发为口服制剂。

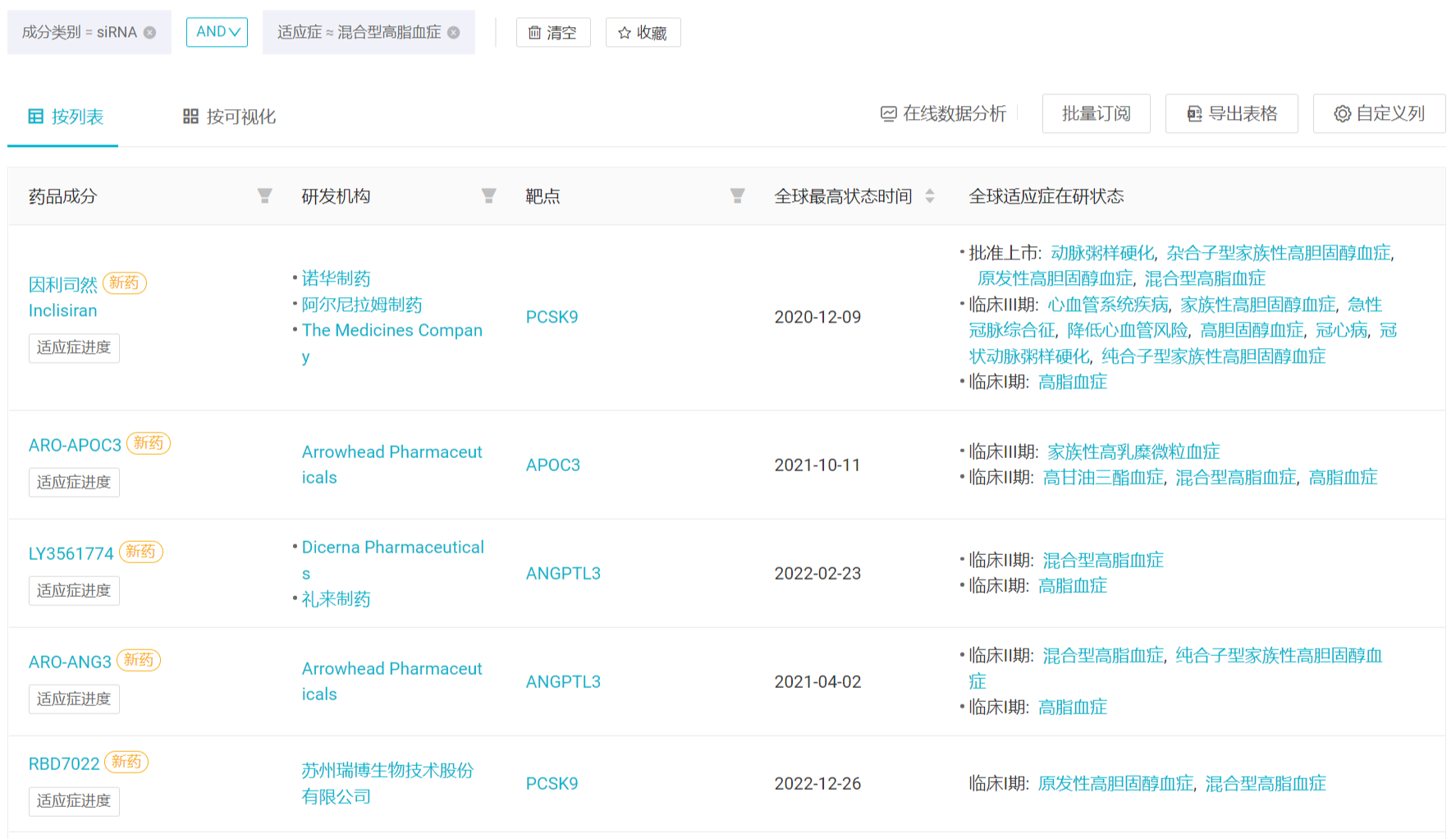
在 PCSK9 之后,针对高脂血症的 siRNA 药物开发靶点中,值得关注的靶点后起之秀除君实抢得先手布局的 ANGPTL3 之外,还有 APOC3 等。

适应症含混合型高脂血症的 siRNA 新药

截图来自:Insight 数据库网页版(http://db.dxy.cn/v5/home/)

境外创新药进展

境外部分,本周共有 15 款创新药(含改良新)研发进度推进到了新阶段,其中 3 款获批上市,8 款获批临床,2 款申报临床。

获批上市

美国首个 HIF-PHI!GSK「达普司他」获 FDA 批准,治疗慢性肾病

2 月 2 日,美国 FDA 宣布批准 GSK 公司开发的创新疗法 Jesduvroq(daprodustat,达普司他)上市,用于治疗至少接受 4 个月透析治疗的慢性肾性贫血成人患者。和此前心血管咨询委员会的投票结果一致,本次获批适应症不包括未接受透析治疗的患者。

自罗沙司他遭拒之后,达普司他实现弯道超车,成为了美国 FDA 批准的首个缺氧诱导因子脯氨酰羟化酶抑制剂(HIF-PHI),同时也是首个用于这一患者群体的口服贫血疗法。

慢性肾病(CKD)以肾功能进行性丧失为特征,其风险因素包括高血压、糖尿病、肥胖和原发性肾脏疾病等。此外,慢性肾病还是心血管疾病的独立风险因素。而贫血是慢性肾病一种重要且常见的并发症,由于肾功能下降,一方面导致促红细胞生成素(EPO)的生成减少,另一方面肾脏对贫血引起的缺氧刺激无法产生足够的应答反应。对于这类患者来说,慢性肾性贫血状况往往与不良临床结局相关。

达普司他是一种口服 HIF-PHI,适用于未进行透析和正在接受透析的成年的慢性肾性贫血患者。抑制氧敏感脯氨酰羟化酶可稳定缺氧诱导因子,从而导致红细胞生成素和其他与纠正贫血相关的基因的转录。针对该药的靶点「氧感知通路」的研究在 2019 年获得了诺贝尔生理学或医学奖。

达普司他的获批是基于多项 3 期临床研究的积极结果,研究评估了达普司他在 5 种 CKD 分型中的有效性和安全性。试验结果表明,与标准治疗方案——促红细胞生成素刺激剂(ESA)治疗相比,达普司他改善、和/或将血红蛋白(Hb)水平维持在目标区间内,并且不增加心血管风险。此外,3 项额外试验的数据还分别显示了达普司他每周 3 次给药、或每日 1 次给药的积极疗效。

并且,与安慰剂相比,达普司他治疗也显著改善了非透析依赖性患者的生活质量。患者最常报告的不良事件包括高血压、腹泻、透析低血压、外周水肿和尿路感染。

获批临床

贝达药业 TEAD 抑制剂:

BPI-460372 在美国获批临床

1 月 31 日,贝达药业发布公告,收到美国食品药品监督管理局(FDA)签发的新药临床试验批准通知书,公司申报的 BPI-460372 片药品临床试验申请已取得美国 FDA 批准。

BPI-460372作用机理图

来自:贝达药业官微

BPI-460372 是由公司自主研发的靶向 Hippo 信号通路的新分子实体化合物,属于新型强效转录增强因子 TEAD (Transcriptional enhanced associate domain)小分子抑制剂。本品拟用于晚期实体瘤患者的治疗。

临床前数据显示,BPI-460372 可以特异性靶向 Hippo信号通路下游的细胞核内转录因子 TEAD,抑制下游基因的转录和翻译,从而抑制肿瘤细胞的增殖、生存、分化和迁移。临床前研究展现出优秀的体外及体内活性、优秀的药代动力学性质及良好的安全性。靶向 TEAD 可以有效地针对 Hippo 信号通路异常的肿瘤,并在增强化疗、肿瘤免疫和小分子靶向疗效以及克服耐药方面具有广阔的应用前景。BPI-460372 凭借其独特的作用机制,有望解决未被满足的临床需求。

海外药企财报季!辉瑞、罗氏、默沙东、礼来、诺华、诺和诺德…全年业绩披露!

1 月末 ~ 2 月初,历来是海外 MNC 药企们集中释放全年业绩和次年展望的关键时期,Insight 也持续关注报道,并收集 PPT 材料在公众号供回复下载。

在过去的 2022 年度,基于在新冠疫苗和口服药上全面且突出的布局,辉瑞实现了超过 1000 亿美元的历史性营收突破,不过 2023 年及之后随着疫情结束,新冠产品在美国即将走进商业流通,辉瑞预计 23 年营收将滑落至 670 至 710 亿美元之间;

诺华实现了超 500 亿美元营收,替雷利珠单抗 23 年的海外动态备受关注。据财报显示,诺华预计 2023 财年将达成 4 项申报上市里程碑。23 年会成为国产 PD-1 们正式登陆美国市场的关键一年吗?

罗氏 22 年度营收相较于 21 年度基本保持稳定,为 632.81 亿瑞士法郎。3 月份即将实现换帅:集团新 CEO Thomas Schinecker 上任,罗氏制药的 CEO 也由现任罗氏制药全球产品战略负责人的 Teresa Graham 接任。

默沙东的 K 药在本周也引起热议,年度销售额实现了两重突破:首次突破 200 亿美元,同时几乎板上钉钉地超越修美乐,登顶成为新晋「药王」,有望在接下来几年、至少是 2028 年专利悬崖之前里独占鳌头,坐稳药王宝座,适应症网图亦是稳步扩张,后来者难及。恭喜新药王!

礼来的财报则带来了信迪利单抗在 22 年 Q4 的销售情况。在 22 年,国内药企度过了艰难的一年,但凭借着 23 年的形势之变和医保准入拓展,这或许将是充满希望的一年。

除此之外,礼来和诺和诺德的财报还带来了代谢领域王者 GLP-1 相关产品的最新情报。

您可能感兴趣
体内CAR-T的泡沫起来了?
体内CAR-T的泡沫起来了?
产业资讯 氨基观察 2026-04-24 19