EN
产业资讯 政策法规 研发追踪 医改专题
默沙东投资者日:携 2 款潜在重磅药积极数据,大展「心血管领域」宏图
产业资讯 Insight数据库 2023-03-09 3047

3 月 6 日,默沙东公布了两款潜在重磅心血管新药的积极临床数据,并举行了投资者活动,探讨此次发布的数据,分享公司心血管领域在研管线进展更新。

首先,默沙东披露了在研口服 PCSK9 抑制剂 MK-0616 治疗成人高胆固醇血症患者的 2b 期临床试验的积极结果,并计划于今年下半年启动 III 期关键研究。

该研究旨在评估 4 种不同剂量 MK-0616(6、12、18 和 30mg)在患有高胆固醇血症的成人患者中的有效性和安全性。

研究共入组 381 人,结果显示,在第 8 周,与安慰剂相比,所有剂量的 MK-0616 均显著降低了低密度脂蛋白胆固醇(LDL-C)水平,降幅从 41.2%(6 mg,CI 95%:-47.8~-34.7;p<0.001)至 60.9 %(30 mg,95% CI:-67.6~-54.3;p<0.001)。

来自:默沙东 3 月 6 日投资者文档(以下未标注来源的均为此来源)

且表现出良好的耐受性。

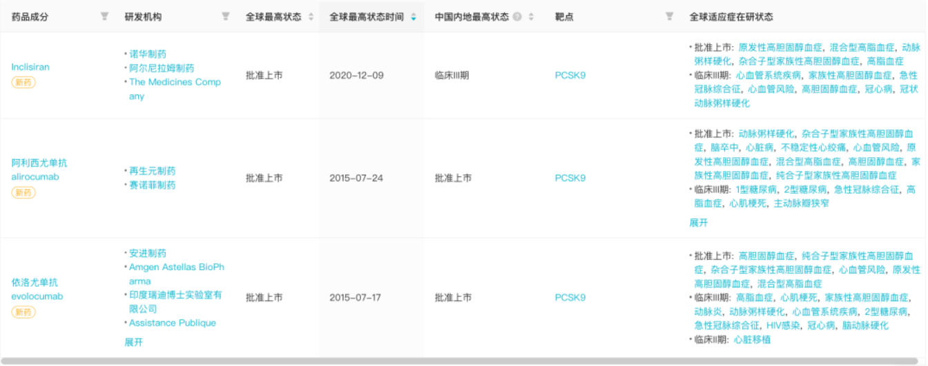
据 Insight 数据库显示,目前全球共有 3 款 PCSK9 抑制剂获批,包括两款 PCSK9 单抗,分别为赛诺菲/再生元联合研发的 Praluent(阿利西尤单抗注射液)、安进的 Repatha(依洛尤单抗注射液),以及诺华于 2019 年耗费 97 亿美金通过收购 The Medicines 获得的 siRNA 基因疗法药物 Inclisiran。

全球共获批 3 款 PCSK9 抑制剂

来自:Insight 数据库网页版(点击放大,可查看大图)

这获批的 3 款 PCSK9 抑制剂为皮下注射。

PCSK9 单抗用药频率为每两周皮下注射一次,这对于治疗周期较长、需终身服药的老年患者而言,频繁打针无疑大大降低了患者的长期依从性。

2021 年,再生元/赛诺菲的阿利西尤单抗实现营收合计 4.21 亿美元,同比增长 17%;2022 年据再生元财报销售额为 4.67 亿美元,增长率为 10.93%。

安进的依洛尤单抗自 2015 年获批以来,销售额呈上升趋势,2021 年已突破 10 亿,实现营收 11.17 亿美元,同比增速高(26%),不过在 2022 年增速有所降低至 16%,但也达到 12.96 亿美元的销售额。

两者虽同为 PCSK9 单抗,作用机理还是给药方式均无明显差异,但从市场表现来看,依洛尤单抗放量速度有明显优势。或是因为其商业化策略的差异。依洛尤单抗近几年能实现快速增长,主要原因之一在于安进在 2018 年 10 月宣布将产品降价 60% 至 5850 美元/年,大大促进了市场放量。

而诺华 siRNA 基因疗法 Inclisiran 则可实现长效给药(前 3 个月完成 2 次注射后,每半年打一针),降低了患者的用药频率,可极大提高患者用药便利性。且从价格角度来看,海外价格与 PCSK9 单抗相差无几(6500 美元/年)。

据诺华财报,凭借优异的临床优势,刚于 2021 年底获 FDA 批准上市的 Inclisiran(Leqvio)2022 Q1 销售额已超过 2021 年全年,且 2022 年全年销售额已达 1.12 亿美元。

来自:诺华财报

从放量速度来看,据诺华评估,Inclisiran 与沙库巴曲+缬沙坦(Entresto)放量速度基本一致,而后者 2022 全年销售额已达 46.44 亿美元,有望成为诺华的下一个核心增长点,市场潜力无限。

来自:诺华财报

而 MK-0616 作为一款 PCSK9 口服大环肽抑制剂,给药更便捷、可及性将更强,如能顺利获批相信定能占据一定的市场。默沙东表示计划于今年下半年启动 MK-0616 III 期关键研究,期待结果。

值得注意的是,同日,默沙东公布了在研药物 Sotatercept III 期 STELLAR 研究结果详细数据,这是默沙东在 2021 年 9 月以 115 亿美元收购 Acceleron 制药而获得的肺动脉高压新药。去年披露 III 期临床成功的消息就曾引起业内人士关注(详见 Insight 往期报道>>>115 亿美元引进!默沙东肺动脉高压药关键 III 期临床结果积极)。

此次公布了 STELLAR(NCT04576988)研究的完整数据了,该研究共入组了 323 名受试者,主要终点为 6 分钟步行距离(6MWD)。结果显示,与安慰剂组相比,接受 sotatercept 治疗的患者,治疗 24 周时 6 分钟行走距离(6MWD)增加了 40.8 米。

且在 9 项次要终点中,8 项达到了显著性改善。

这两款潜在重磅药的积极消息,想必也更坚定了默沙东对押注心血管管线的决心。默沙东曾在去年 4 月 5 日的投资者活动上表示,计划在未来 8 年上市 8 款心血管领域西药,预计 2030 年销售额将达到 100 亿美元。

从领域细分来看,据 3 月 6 日投资者活动文档,默沙东将聚焦于肺动脉高压、动脉粥样硬化、血栓症以及心力衰竭这些患者需求未得到满足的领域。

在过去一年里,各细分领域产品也得到了积极进展。

而基于 Sotatercept 亮眼的 III 期临床数据,在肺动脉高压领域,默沙东也有更深一步的布局。

K 药支撑了默沙东 2021 年 40% 的制药收入,2022 年 K 药收入持续增长,已达到 209.37 亿美元(+22%),预计将在 2023 年超越艾伯维的「药王」修美乐,然而,对默沙东来说,焦虑的是 K 药也将在 2028 年迎来专利悬崖,而现有的管线储备稍显单薄,难以补齐 K 药百亿市场的体量。

由此,近些年默沙东收购以及与其他企业合作的消息不断,不断丰富自己的管线,寻找 K 药之后的增长动力。毋庸置疑心血管领域也是默沙东重点布局领域之一。

您可能感兴趣
迈威生物再添潜力大药
迈威生物再添潜力大药
产业资讯 药智网 2026-04-23 28
应世生物递表港股IPO,上轮投后3.06亿美元
应世生物递表港股IPO,上轮投后3.06亿美元
产业资讯 医药笔记 2026-04-23 26
创新药中国区权益BD,创下新纪录
创新药中国区权益BD,创下新纪录
产业资讯 氨基观察 2026-04-23 49