EN
产业资讯 政策法规 研发追踪 医改专题
卫材/渤健「仑卡奈单抗」新适应症在美报上市
产业资讯 Insight数据库 2024-04-02 1593

4 月 1 日,卫材宣布,已向 FDA 递交仑卡奈单抗(Lecanemab/Leqembi)静脉注射(IV)剂型的补充生物制品许可申请(sBLA),用于维持治疗存在轻度认知障碍或处于轻度痴呆阶段(统称为早期 AD)的阿尔茨海默病患者。

来自:卫材官网

Lecanemab 是一抗 β 淀粉样蛋白(Aβ)抗体,能与可溶性 Aβ 聚合体结合,并且促进它们的清除。它具有改变疾病病理,缓解疾病进展的潜力。仑卡奈单抗此前已美国、日本获批上市,在国内也已于今年 1 月获批。此次则是在美国申报新适应症。

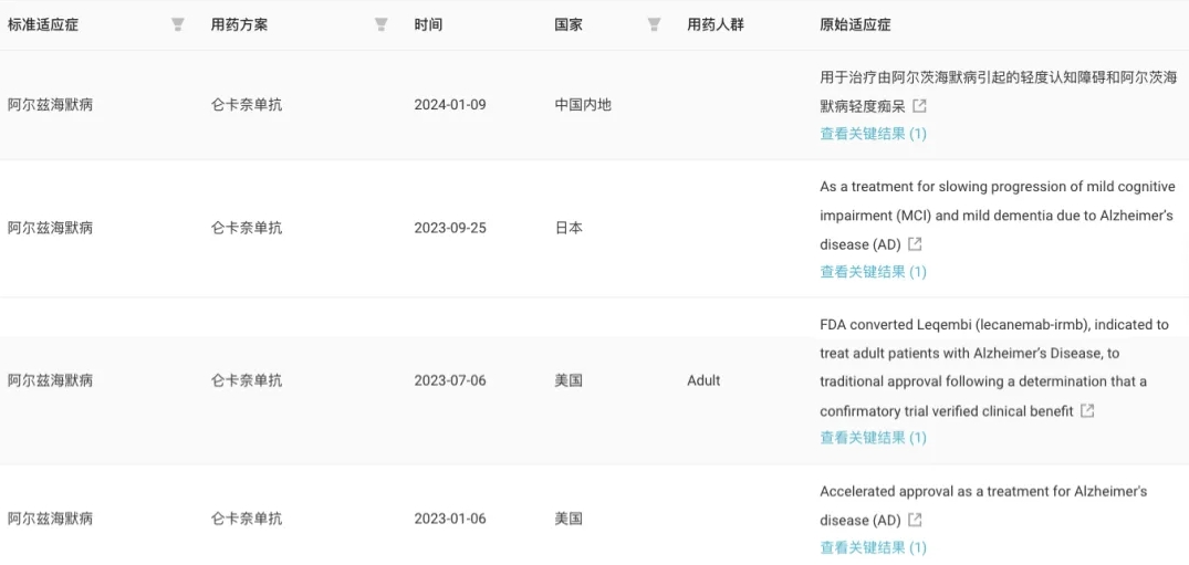
仑卡奈单抗已获批适应症

来自:Insight 数据库网页版(下同)

此项上市申请基于 IIb 期概念验证临床试验 Study 201 的数据和 III 期临床试验 Clarity AD 以及两者的开放标签扩展研究数据。

Clarity AD 研究显示,仑卡奈单抗的治疗达到了主要终点和所有关键的次要终点,结果具有显著统计学意义,且证实了仑卡奈单抗的临床获益。

结果显示,与安慰剂相比,在主要终点 CDR-SB 方面,仑卡奈单抗治疗 18 个月时显著降低 0.45分,降幅达到 27%。此外,由 AD 看护者评估的次要终点阿尔茨海默病协作研究组-轻度认知障碍-日常生活能力量表评分(ADCS-MCI-ADL)显示出 37% 的显著统计学获益。

Clarity AD 试验结果

2022 年 11 月,Clarity AD 研究的结果在 2022 年阿尔茨海默病临床试验(CTAD)会议上公布,并同时发表在世界著名的同行评审医学杂志《新英格兰医学杂志》上。

卫材与渤健此前就 Lecanemab 商业化推广已达成合作。卫材拥有最终决策权,担任 Lecanemab 全球开发和监管提交的领导者,卫材与渤健两家公司共同实现商业化推广。

您可能感兴趣
A+H,中国biotech加速“双栖”
A+H,中国biotech加速“双栖”
产业资讯 同写意 2026-04-08 2
2026 年 Q2,这 10 款重磅新药有望在国内获批上市
2026 年 Q2,这 10 款重磅新药有望在国内获批上市
产业资讯 丁香园Insight数据库 2026-04-08 3