产业资讯
Insight数据库
2024-08-30
1345
近日,CDE 官网显示,迈威生物启动了一项 9MW2821 的关键 III 期临床研究,治疗含铂化疗失败的复发或转移性宫颈癌。这也是全球首款在宫颈癌适应症进入 III 期临床研究的 Nectin-4 ADC。

截图来源:CDE 官网
9MW2821 是迈威生物自主研发的靶向 Nectin-4 ADC 创新药,通过具有自主知识产权的偶联技术连接子及优化的 ADC 偶联工艺,实现抗体的定点修饰,DAR 值为 4。相比随机偶联技术,迈威的定点偶联技术偶联产物更加均一,药效更强,且体内稳定性更高,脱靶毒性更弱,耐受性也更好。

9MW2821 结构↑↑ (图片来源:doi: 10.1158/1535-7163.MCT-22-0743)

维恩妥尤单抗( Enfortumab Vedotin)结构↑↑(图片来源:doi: 10.1158/1535-7163.MCT-22-0743)
在 2024 年 ASCO 大会上,迈威生物公布了 9MW2821 在多种晚期实体肿瘤患者中初步抗肿瘤活性。这是一项 I/II 期临床研究,其中在宫颈癌队列中,Nectin-4 阳性表达的检出率为 91.87%,Nectin-4 3+ 检出率为 73.98%。53 名可评估疗效的患者中,受试者既往均接受过含铂双药化疗,51% 受试者既往接受过贝伐珠单抗治疗,58% 受试者既往接受过免疫检查点抑制剂治疗。ORR 和 DCR 分别为 35.8% 和 81.1% ,中位 PFS 为 3.9 个月、中位 DOR 为 7.2 个月,总生存期(OS)尚未达到,12 个月的 OS 率为 74.6%。在 Nectin-4 3+ 的患者中,ORR 为 43.6%。上述研究结果表明,9MW2821 在宫颈癌患者中具有积极的治疗效果。

截图来源:Insight 数据库
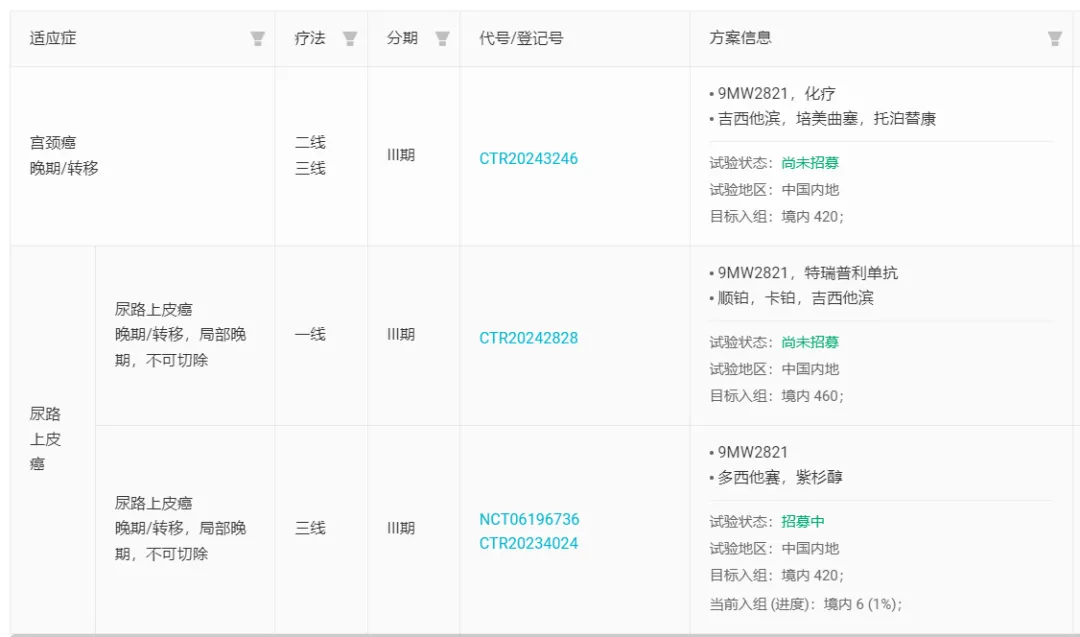
除了宫颈癌适应症外,9MW2821 还有两项 III 期临床正在开展中,分别为尿路上皮癌三线疗法和一线疗法。其中,三线疗法是 9MW2821 单药对照化疗,目标入组 420 例患者,在 2023 年 12 月启动;一线疗法是与特瑞普利单抗联用对照化疗,目标入组 460 例患者,在今年 8 月 13 日启动。

截图来源:Insight 数据库
目前,全球仅获批一款 Nectin-4 ADC,来自安斯泰来的维恩妥尤单抗 (Enfortumab Vedotin),而且该药近期(2024-8-19)也在国内获批上市,用于治疗既往接受过 PD-1/PD-L1 抑制剂和含铂化疗治疗的局部晚期或转移性尿路上皮癌患者。
据 Insight 数据库显示,目前全球在研的处于活跃状态的 Nectin-4 ADC 共有 22 款,其中,中国企业有 10 款。除了迈威的 9MW2821 进展到 III 期临床外,恒瑞和石药集团的分别进展到 I/II 期,科伦博泰和百奥泰也均已进入 I 期临床。

截图来源:Insight 数据库(截止时间 20240830)
产业资讯
研发客
2026-04-03
24
产业资讯
Medaverse
2026-04-06
88
产业资讯
药讯随说
2026-04-06
91