产业资讯
Insight数据库
2025-06-07
1134
6 月 6 日,CDE 官网显示,诺华 JSB462 片临床试验申请获受理。JSB462 是一款靶向雄激素受体(AR)的蛋白降解靶向嵌合体(PROTAC),目前正在海外开展去势抵抗性前列腺癌(mCRPC)的 III 期临床试验。

来源:CDE 官网
JSB462(ARV766)是 Arvinas 开发的一款新型、强效的口服 AR PROTAC,可靶向野生型 AR 和临床相关的 AR 配体结合域(LBD)突变体,包括 L702H、H875Y、T878A。

来源:Arvinas 官网
2024 年 4 月,诺华以 11.6 亿美元的价格从 Arvinas 引进了 JSB462 的全球开发和商业化权益,以及临床前项目 AR-V7 的所有权益。
Arvinas 曾在 2024 ASCO 大会上公布了 JSB462 治疗 mCRPC 的 最新 I/II 期临床数据(登记号:NCT05067140)。截至 2024 年 4 月 15 日,该研究共纳入了 123 名受试者,其中 53 名受试者携带 AR LBD 突变。
结果显示,在 47 名前列腺特异性抗原(PSA)水平可评估的 AR LBD 突变受试者中,PSA50 反应率为 43%。安全性方面,耐受性良好,没有 DLTs 发生。

来源:Arvinas 官网
Insight 数据库显示,目前全球有 30 款 AR PROTAC 在研,其中 JSB462 和 BMS 开发的 gridegalutamide 是全球进展最快的,均处于临床 III 期阶段。
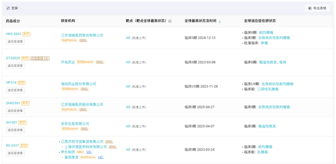
国内在研的 AR PROTAC 有 17 款,其中进入临床阶段的有 6 款,包括 HRS-5041(恒瑞)、GT20029(开拓药业)、HP518(海创药业)、SHR3591(恒瑞)、AH-001(安宏生)和 RG6537(济民可信)。

来源:Insight 数据库
值得一提的是,RG6537 的全球开发和商业化权益成功在 2022 年 8 月被独家授予罗氏旗下基因泰克公司,首付款为 6000 万美元,里程碑付款为 5.9 亿美元。
产业资讯
Medaverse
2026-03-30
116
产业资讯
药研界面
2026-03-30
119
产业资讯
医药魔方Pro
2026-03-30
105