产业资讯
Insight数据库
2025-07-17
1034
根据 Insight 数据库,2025 年以来(截至 7 月 14 日),阿斯利康已经有 5 款在研 1 类新药首次在中国获批临床。这些在研新药包括 KRAS G12D 抑制剂、CLDN-18.2 ADC、siRNA 疗法、 GLP1R/GCGR 双靶点激动剂等,适应症涵盖实体瘤、肥胖、慢性甲状旁腺功能减退症等。
01
AZD0022:KRAS G12D 抑制剂
1 月 15 日,阿斯利康的 AZD0022 在国内获批临床,适应症为携带 KRAS G12D 突变的晚期实体瘤。

截图来源:CDE 官网
AZD0022 是一款高选择性小分子 KRAS G12D 抑制剂,最初由祐森健恒开发。2023 年 11 月,阿斯利康通过一项超 4 亿美元的合作,获得了 AZD0022 的全球独家研究、开发和商业化权益。
2025 年 AACR 年会上,阿斯利康公布了 AZD0022 的临床前研究结果。数据显示,AZD0022 在临床前模型中表现出了良好的口服生物利用度、强效的 KRAS 通路抑制能力,并在 KRAS G12D 肿瘤模型中展现出了显著的抗肿瘤活性。
目前,阿斯利康正在开展一项 I/II 期国际多中心临床研究 ALAFOSS-01(NCT06599502),以评估 AZD0022 单药和与其它抗癌药物联合治疗 KRAS G12D 突变肿瘤患者的安全性、耐受性、药代动力学和初步有效性。
02
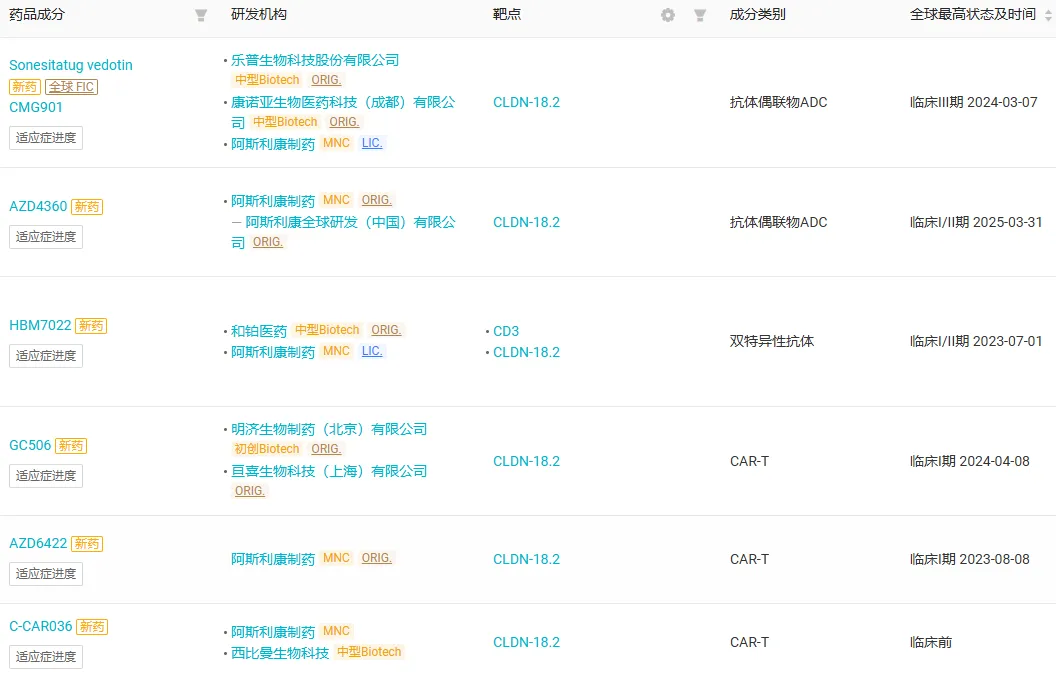
AZD4360:CLDN18.2 ADC
3 月 6 日,阿斯利康 AZD4360 在国内获批临床,适应症为晚期实体瘤患者。

截图来源:CDE 官网
AZD4360 是一款靶向 CLDN18.2 的 ADC。阿斯利康正在开展一项国际多中心 I/II 期临床研究(CTR20251223),以评估 AZD4360 在晚期实体瘤成人受试者中的安全性、药代动力学、药效学和有效性。
根据 Insight 数据库,在 CLDN18.2 赛道,阿斯利康布局了 6 款产品,其中有 5 款产品已进入到临床阶段,包括两款 CLDN18.2 ADC、两款 CLDN18.2 CAR-T、一款 CLDN18.2×CD3 双抗。

截图来源: Insight 数据库
03
Eneboparatide:PTH1R 激动剂
3 月 27 日,阿斯利康 Eneboparatide 注射液在国内获批临床,适应症为用于治疗慢性甲状旁腺功能减退症。

截图来源:CDE 官网
Eneboparatide (AZP-3601) 是一种在研 PTHR1 激动剂,最初由 Amolyt Pharma 开发。Amolyt 专注于开发罕见内分泌疾病的新型疗法。2024 年 3 月,阿斯利康宣布以 10.5 亿美元收购 Amolyt 公司,从而获得了该产品。这项收购已于去年 7 月完成。
甲状旁腺功能减退症是一种罕见疾病,其特征是甲状旁腺激素缺乏,导致血液中钙离子降低、磷离子升高。
Eneboparatide 可通过与甲状旁腺激素 (PTH) 受体 1 结合,调节和维持血清钙水平在正常范围内,从而控制甲状旁腺功能减退症的症状。目前阿斯利康正在开展 Eneboparatide 治疗甲状旁腺功能减退症的国际多中心 Ⅲ 期临床(CTR20251439)。
此外,Eneboparatide 还有潜力通过恢复肾脏对钙的重吸收来限制尿钙排泄,并可能预防肾功能逐渐衰退和慢性肾病的发展。
04
ALXN2030:C3 靶向 siRNA 疗法
4 月 24 日,阿斯利康 ALXN2030 注射液国内获批临床,适应症为用于肾脏移植后抗体介导的排斥反应的治疗。

截图来源:CDE 官网
ALXN2030 是一款靶向补体 C3 的 first-in-class siRNA 疗法。目前阿斯利康正在开展一项国际多中心Ⅱ期临床试验(NCT06744647),以评估 ALXN2030 对肾移植后发生抗体介导排斥反应的成年患者的疗效和安全性。
Insight 数据库显示,全球目前共有 14 款靶向补体 C3 的 siRNA 管线(仅统计活跃状态),阿斯利康的 ALXN2030 进度最快,处于 Ⅱ 期。此外,还有 6 款在研产品已进入临床或获批临床,来自圣因生物、Arrowhead、炫景生物、Apellis、Silence 、瑞博生物。
05
AZD9550: GLP1R/GCGR 双靶点激动剂
6 月 24 日,阿斯利康 AZD9550 注射液国内获批临床,适应症为联合 AZD6234 注射液用于在至少有一种肥胖相关合并症的超重或者肥胖成年人中的长期体重管理。

截图来源:CDE 官网
AZD9550 是一款在研 GLP1R/GCGR 双重受体激动剂,本次为其首次在国内获批临床。AZD6234 是一款长效胰淀素类似物,此前已在国内获批开展单药用于肥胖适应症的临床研究。
Insight 数据库显示,目前 AZD9550 正在开展三项临床试验,分别为:单药治疗代谢功能障碍相关脂肪性肝炎 (MASH) 的Ⅰ期临床、单药治疗肥胖和 2 型糖尿病的 I/II 期临床、联合 AZD9550 治疗肥胖的 II 期临床。
阿斯利康在肥胖领域共布局了 3 款创新产品,包括 AZD6234 、AZD9550、AZD5004,其中 AZD5004 是阿斯利康从诚益生物引进的一款小分子 GLP-1 受体激动剂吗,目前正在开展单药治疗糖尿病和肥胖的 II 期临床研究。
产业资讯
Medaverse
2026-03-30
11
产业资讯
药研界面
2026-03-30
7
产业资讯
医药魔方Pro
2026-03-30
10