会员动态
Insight数据库
2021-10-29
4362
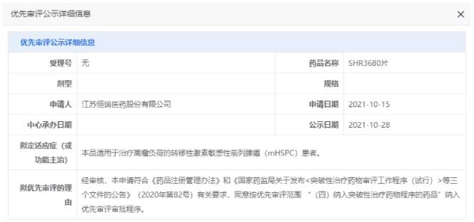
刚刚,CDE 官网显示,恒瑞二代 AR 拮抗剂 SHR3680 已经申报上市,拟纳入优先审评审批,用于高瘤负荷的转移性激素敏感性前列腺癌(mHSPC)患者。
这是恒瑞今年申报上市的第 2 款创新药。今年 4 月,恒瑞申报了 CDK4/6 抑制剂达尔西利(Dalpiciclib)。
雄激素受体(AR)是前列腺癌治疗的重要靶点。第一代 AR 拮抗剂长期使用具有部分激动特性,易产生耐药性。而二代拮抗剂克服了一代抑制剂的 AR 激动副作用,是当前临床开发的主流。恒瑞自主研发的 SHR3680 就属于第二代 AR 抑制剂。相较于第一代 AR 抑制剂,SHR3680 具有更强的 AR 抑制作用,且无激动作用,有望成为临床上更优的药物。
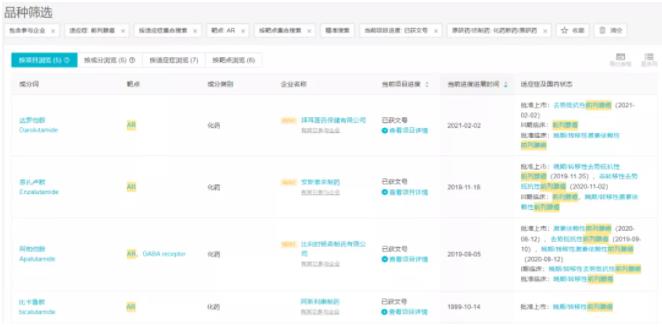
Insight 数据库显示,目前全球范围内已有 6 款 AR 抑制剂获批上市,其中 4 款在国内已经上市,分别是杨森制药的阿帕他胺、阿斯利康的比卡鲁胺、拜耳的达罗他胺以及安斯泰来的恩扎卢胺,除一代的比卡鲁胺外,其余均为二代 AR 拮抗剂。
国内获批上市的 AR 抑制剂
来自 Insight 数据库(http://db.dxy.cn/v5/home/)
恩扎卢胺作为首个二代 AR 拮抗剂,是其中最亮眼的明星。2020 年恩扎卢胺的全球销售额高达 43.25 亿美元,跻身全球单品销售 Top20 榜,成为当之无愧的重磅炸弹级产品。
而国内二代 AR 拮抗剂创新药,显然恒瑞是其中进展最快的一位。根据 Insight 数据库,SHR3680 已经启动 14 项临床试验,其中 2 项 III 期临床,分别用于高瘤负荷的转移性激素敏感性前列腺癌(mHSPC)、接受根治性前列腺切除术的局限高危或局部晚期前列腺癌。前一项即为本次申报的适应症(临床试验详情)。
根据恒瑞此前半年报披露的进展,SHR3680 不光在国内有临床布局,在欧洲也在进行 III 期临床研究。截至目前,SHR3680 项目已经投入 3 亿元。
来自:恒瑞半年报
此外,开拓药业的普克鲁胺和海思科的氘代恩扎卢胺也处于 III 期临床,其中普克鲁胺与 SHR3680 的首次临床申请时间相近,都在 2014 年 2 月,不过与恒瑞专注于前列腺癌适应症的开发不同,普克鲁胺近期用于新冠治疗的临床试验开展如火如荼,已达成多项 License-out 合作。
来自 Insight 数据库(http://db.dxy.cn/v5/home/)
会员动态
InxMed应世生物
2026-05-08
41
会员动态
维健医药
2026-04-27
426
会员动态
中国医药创新促进会
2026-04-27
415
热门资讯