EN
产业资讯 政策法规 研发追踪 医改专题
瞄准偏头痛百亿市场!国内首款抗 CGRP 疗法申报上市
产业资讯 Insight数据库 2022-04-08 4436

4 月 7 日,根据 CDE 官网,诺华与安进合作开发的偏头痛新药 Erenumab 提交上市申请并获受理。这是国内首款申报上市的抗 CGRPR 单抗(戳这里监控受理号:JXSS2200012)。

Erenumab(AMG334)最早由安进开发,是一种全人源 IgG2 单抗,通过结合并拮抗 CGRP 受体功能来治疗偏头痛。2015 年 8 月,诺华与安进达成合作,共同开发阿尔茨海默病和偏头痛领域新药,其中就包括了 Erenumab;2017 年 4 月,两家公司扩大了针对 Erenumab 的全球合作,共同在美国开发 Erenumab,安进保留在日本的独家商业化权利,而诺华则在世界其他地区商业化该产品。

2018 年 5 月 17 日,Erenumab 获美国 FDA 批准用于成人偏头痛的预防性治疗,成为针对 CGRP 通路首款获批上市新药,商品名为 Aimovig。迄今为止,该药已经在日本、欧盟、英国、加拿大、澳大利亚等七十余个国家获得批准。

Erenumab 研发重要节点概览

来自:Insight 数据库 全球新药模块(http://db.dxy.cn/v5/home/)

降钙素基因相关肽(Calcitonin Gene-Related Peptide,CGRP)是一种由 37 个氨基酸组成的神经肽,广泛分布于中枢和外周神经系统,在偏头痛的病理生理学中起重要作用。已有研究显示,偏头痛患者的 CGRP 水平升高,这使针对该通路的拮抗剂成为偏头痛治疗的潜力新疗法。

据统计,偏头痛影响了将近 14% 的世界人口,美国大约有 3300 万例,日本 800 万例,中国 1300 万例。其发作症状包括头痛,畏光,怕声、幻觉以及恶心,为患者带来巨大的精神负担和经济负担。而在首款 CGRP 受体拮抗剂获批之前,偏头痛治疗已经停滞了二十余年。

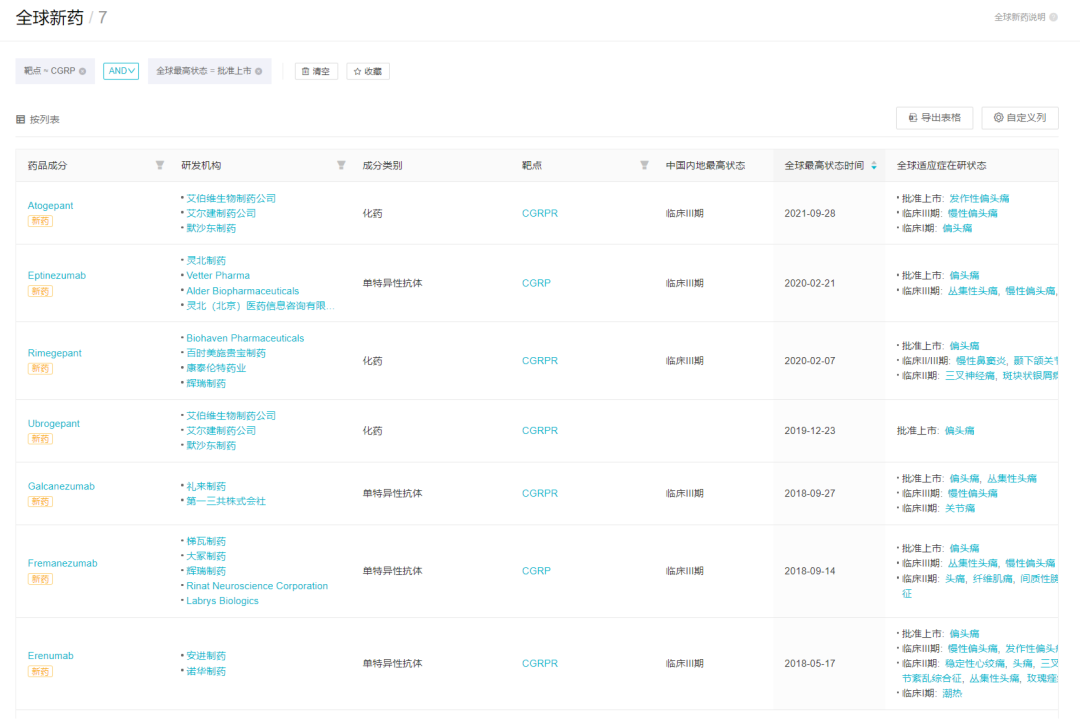
2018 年,三款 CGRP 单抗药物先后获 FDA 批准,打开了偏头痛药物市场的新局面,据 Insight 数据库显示,迄今全球范围内已有 7 款针对该通路的偏头痛疗法获批上市,既包括分别针对 CGRPR 和 CGRP 的单抗药物,也包括 CGRP 拮抗剂化药(-gepant)。

CGRP/CGRPR 靶点全球获批上市药物

来自:Insight 数据库 全球新药模块(http://db.dxy.cn/v5/home/)

相较于既往治疗偏头痛的曲坦类老药,CGRP 受体拮抗剂具有疗效更好、安全性更优的优势,因此前景颇受看好。一篇发表在 Nature 上的综述预估偏头痛全球市场规模在 2027 年有望超过 110 亿美元,而单 CGRP 药物就将攫取超过 65 亿美元的销售额。

偏头痛市场预测

(美国、法国、德国、意大利、西班牙、英国和日本)

https://doi.org/10.1038/nrd.2018.103

基于其市场潜力,2021 年 11 月 9 日辉瑞以高达 12.4 亿美元的总额与 Biohaven 公司达成合作,引进该公司的口服 CGRP 拮抗剂 Rimegepant(Nurtec® ODT)在美国以外的权益,并获得另一款治疗偏头痛的小分子 CGRP 受体拮抗剂 Zavegepant 的美国地区权益。交易金额包括 5 亿美元首付款(1.5 亿美元现金和 3.5 亿美元以 25% 市场溢价购买 Biohaven 股权)、高达 7.4 亿美元的潜在里程碑付款,以及基于美国以外净销售额的特许权使用费。高额交易无疑昭示着辉瑞对偏头痛领域新星的看好。

在国内,此前暂无同靶点药物申报上市。本次安进/诺华提交 Erenumab 上市申请为同领域首款,有望为国内偏头痛患者带来更新、更优的新型治疗方案。同时值得注意的是,也暂无国内企业有相应项目进入临床开发当中,这意味着在国内偏头痛一百亿市场仍属于蓝海,潜力仍待发掘。

您可能感兴趣
中国区收入增长30%,CLDN18.2单抗增长超400%
中国区收入增长30%,CLDN18.2单抗增长超400%
产业资讯 医药魔方Info 2026-05-04 19
23亿美元!礼来收购Ajax Therapeutics
23亿美元!礼来收购Ajax Therapeutics
产业资讯 Medaverse 2026-05-04 18