EN
产业资讯 政策法规 研发追踪 医改专题
本周 45 款创新药又有新进展!翰森制药 2 款新药启动临床 | Insight 创新药周报
产业资讯 Insight数据库 2022-04-26 3743

据 Insight 数据库统计,本周(4.18 - 4.23)国内共有 45 款创新药研发进度推进到了新的阶段,包括 1 款新获批上市,1 款申报上市,3 款进入到 III 期临床开发,12 款首次启动临床,23 款首次获批临床。

化药仍旧占大头(25/45),不过本周基因治疗(3)成为了化药之后的第 2 位,3 个项目进展至新的阶段;溶瘤病毒也有 2 个项目在本周有了新进展。Insight 将摘取部分重点项目做介绍。

本周发生变化的创新药在研进度分布

来自:Insight 数据库 项目进度可视化(http://db.dxy.cn/v5/home/)

兆科药业引进抗肿瘤新药获批上市

周四,NMPA 发布批件批准了兆科药业引进的新药 盐酸丙卡巴肼胶囊 。这是一款烷化剂药物,用于治疗霍奇金淋巴瘤及部分脑癌(例如多形性胶质母细胞瘤),本次在国内的获批适应症为晚期霍奇金淋巴瘤。

盐酸丙卡巴肼胶囊(Procarbazine Hydrochloride)最初由罗氏(Roche)研发,1969 年已在海外获批上市,由 Leadiant Biosciences(前身为 Sigma-Tau 公司)生产。李氏大药厂全资附属公司于 2018 年 5 月与 Leadiant 公司签署经销协议,以推进盐酸丙卡巴肼胶囊在大中华地区独家上市。2020 年 5 月,盐酸丙卡巴肼胶囊的上市申请获 CDE 受理。

14 款新药首次启动临床

1、翰森制药:两款新药首次启动临床

据 Insight 数据库,本周翰森制药启动了两项临床试验,分别涉及 1 类抗肿瘤新药 HS-10381 和引进抗真菌药物 HS-10366(Ibrexafungerp)。这两款药物均为首次启动临床。

Ibrexafungerp 是 20 多年来首个全新作用机制的第四代抗真菌类药物,已于 2021 年 6 月获 FDA 批准,用于治疗霉菌性阴道炎。该药由美国 SCYNEXIS 公司开发,具有广谱抗真菌活性,具有口服和注射两种剂型方便使用,治疗多种真菌引起的院内及院外感染。

2021 年 2 月,翰森制药以 1000 万美元首付款 + 潜在里程碑款及提成获得了 Ibrexafungerp 在中国的开发、监管批准和商业化权益。同年 12 月,Ibrexafungerp 片在中国获批临床,并于本周启动了 III 期临床试验,针对外阴阴道念珠菌病(VVC)。

HS-10366 项目概览

来自:Insight 数据库 项目进度(http://db.dxy.cn/v5/home/)

HS-10381 则在 2021 年 10 月首次获批临床,目前其靶点尚未披露。

来自:Insight 数据库 项目进度(http://db.dxy.cn/v5/home/)

此外,翰森制药的创新药研发正在不断提速中,今日又有一款新药 HS-10384 首次获批临床,用于更年期血管舒缩综合征。

来自:CDE 官网

2、超 21 亿美元获得,诺和诺德「泽韦奇单抗」国内启动临床

泽韦奇单抗(Ziltivekimab)是一款全人源单克隆抗体,通过抑制 IL-6 来减少全身炎症。该药经过长效化改造以延长半衰期,仅需每月一次皮下注射给药。

诺华对泽韦奇单抗寄予厚望。2020 年 6 月,诺和诺德以 7.25 亿美元首付款、潜在总额超 21 亿美元收购了阿斯利康子公司 Corvidia Therapeutics。该公司专注于心脏和肾脏疾病治疗药物的开发,泽韦奇单抗就是其主要候选药物,用于降低慢性肾病(CKD)患者的主要心血管不良事件(MACE)风险。

据 Insight 数据库,目前泽韦奇单抗全球正处于 III 期临床开发阶段,国内则在本周首次在 CDE 登记了 I 期临床,针对慢性肾脏病合并系统性炎症患者。

泽韦奇单抗全球适应症开发进度

来自:Insight 数据库 全球新药(http://db.dxy.cn/v5/home/)

3、石药集团新冠 mRNA 疫苗启动临床

4 月 3 日,石药集团宣布针对新冠的 mRNA 疫苗 SYS6006 获批临床。据悉,本周内,石药已经快速推进该项目,启动了相应临床试验。

根据官方资料,SYS6006 根据毒株的流行情况进行针对性的抗原突变设计,临床前研究表明,该产品对包含 Omicron 和 Delta 在内的当前主流突变毒株具有良好的免疫保护效力;通过体液免疫和细胞免疫对机体提供免疫保护,并可产生记忆性 B 细胞,提供长效保护效力。此外,临床前安全性评价数据也充分证明了该产品的安全性。

该产品使用先进的生产技术 ,工艺过程高度可控,批间一致性好,容易实现放大和产业化;而且稳定性好,可在 2-8℃ 长期储藏。石药集团实现了 mRNA 技术关键生产原料和辅料的内化生产和国产化替代,可满足大规模产能供应需求。

基于在安全性、有效性以及产业化方面的优势,并根据疫情防控的需要,该产品被国家药品监督管理局列入特别审批程序,快速批准进入临床。石药表示,以 mRNA 疫苗为先行军,后续将继续布局其它疫苗产品及小核酸领域的慢病产品。

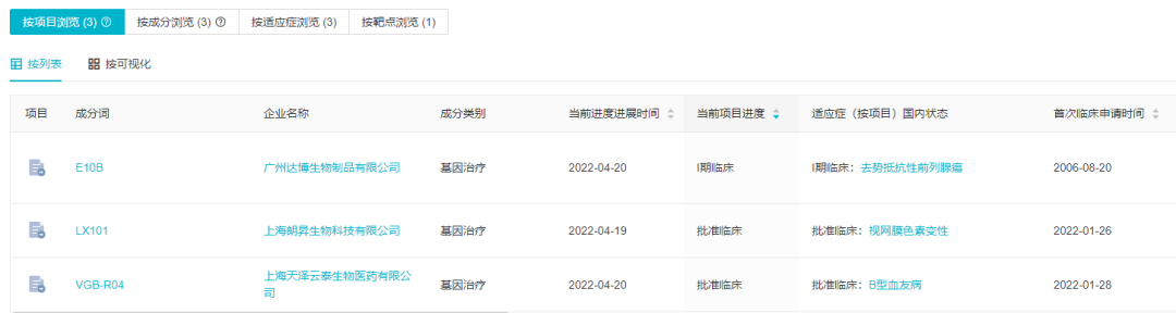
3 个基因疗法本周取得新进展

据 Insight 数据库显示,本周共有 3 个基因疗法取得了新进展,包括 2 个获批临床,1 个启动临床,均为 AAV 载体的基因治疗药物。

本周国内进度发生变动的基因疗法

来自:Insight 数据库 项目进度(http://db.dxy.cn/v5/home/)

E10B(即重组人 γ - 干扰素腺病毒注射液)是广州达博生物自主研发的第 2 款腺病毒载体类抗肿瘤药物,2021 年 5 月获批临床用于标准治疗无效的晚期去势抵抗性前列腺癌患者。E10B 具有直接杀伤肿瘤细胞、抑制肿瘤细胞增殖、抑制肿瘤血管生成、诱导肿瘤坏死因子等细胞因子分泌等功能,其携带的外源基因通过载体系统导入人体细胞,从而使集体细胞长期稳定表达有生物活性的目的蛋白,从而起到治疗作用。

据 Insight 数据库显示,其 I 期临床在 4 月 20 日首次公示启动,拟在国内招募 30 人。

来自:Insight 数据库 临床试验(http://db.dxy.cn/v5/home/)

LX101 眼用注射液由上海朗信启昇(朗信生物)生物制药有限公司研发,用于治疗 RPE65 双等位基因突变相关的遗传性视网膜变性(IRD)患者。由 RPE65 双等位基因突变引起的遗传性视网膜变性属于先天性黑朦(LCA) 2 型,该类患者大部分在婴儿期或儿童期开始出现严重视力障碍,并且由于进行性视网膜变性,在 30-40 岁时彻底失明。

LX101 是国内首个递交临床申请的先天性黑朦基因治疗新药,4 月 19 日这项 IND 申请获得 CDE 批准。此前于 2021 年 6 月,朗信生物已经启动了研究者发起的中国首项针对 LCA 的基因治疗临床研究,公开信息显示 LX101 具有良好的安全性,且已在多位患者中见到视力提高的疗效。

来自:Insight 数据库 项目进度(http://db.dxy.cn/v5/home/)

VGB-R04 是天泽云泰自主研发的首个 AAV 基因治疗产品,用于治疗血友病 B。VGB-R04 静脉注射后,通过 AAV 衣壳蛋白介导的肝脏细胞转导,将 VGB-R04 表达盒递送至细胞核。VGB-R04 表达盒以游离 DNA 的形式存在,在肝脏细胞中表达凝血因子Ⅸ高活性天然变体(hFIX Padua)蛋白。肝脏表达并分泌入血的 hFIX Padua 蛋白替代缺失的先天性凝血因子 IX 发挥作用,从而纠正血友病 B 患者的凝血障碍。

您可能感兴趣
北京带头,手术机器人进院方式变了
北京带头,手术机器人进院方式变了
产业资讯 MedTrend医趋势 2026-04-30 2
高瓴34亿抄底BMS剧本,你真看懂了吗?
高瓴34亿抄底BMS剧本,你真看懂了吗?
产业资讯 医药财经 2026-04-30 2
专访周辉:信达生物的加减法
专访周辉:信达生物的加减法
产业资讯 医药魔方 2026-04-30 2