EN
产业资讯 政策法规 研发追踪 医改专题
恒瑞 PD-1 美国报上市、奥希替尼 3 期临床 FLAURA2 试验成功、华东医药申报三靶降糖药…|Insight 新药周报
产业资讯 Insight数据库 2023-05-22 4700

据 Insight 数据库统计,本周(5 月 14 日—5 月 20 日)全球共有 48 款创新药(含改良新)研发进度推进到了新阶段,其中 4 款获批上市,1 款申报上市,18 款获批临床,11 款申报临床。

下文中,Insight 将分别摘取国内外部分重点项目做介绍。

国内创新药进展

国内部分,本周共有 46 款创新药(含改良新)研发进度推进到了新阶段,其中 2 款获批上市,1 款申报上市,14 款获批临床,16 款申报临床。

本周国内首次启动临床的 7 款创新药(含改良新)

来自:Insight 数据库网页版(http://db.dxy.cn/v5/home/)(下同)

获批上市

1、博锐生物:泽贝妥单抗获批上市

5 月 17 日,NMPA 发布公告批准浙江博锐生物制药有限公司申报的泽贝妥单抗注射液(商品名:安瑞昔)上市。该药品适用于 CD20 阳性弥漫大 B 细胞淋巴瘤,非特指性(DLBCL,NOS)成人患者,应与标准 CHOP 化疗(环磷酰胺、阿霉素、长春新碱、泼尼松)联合治疗。

据 Insight 数据库显示,这一项目最早在 2012 年首次申报临床,经过了 10 年临床开发,于 2022 年 1 月申报上市,如今终于获批,成为了博锐生物的第 6 款上市产品,同时也是首个获批上市的国产 CD20 单抗。

项目研发关键节点(Insight)

截图来自:Insight 数据库网页版

泽贝妥单抗注射液为针对 B 细胞表面 CD20 抗原的人-鼠嵌合型单克隆抗体,可特异性结合 B 细胞表面的 CD20 抗原,从而启动 B 细胞溶解的免疫反应,发挥抗肿瘤作用。

DLBCL 是起源于 B 淋巴细胞的一类存在较大异质性的恶性肿瘤,呈弥漫性生长,肿瘤细胞的核与正常组织细胞的核大小相近或大于组织细胞的核,通常大于正常淋巴细胞的 2 倍。DLBCL 是全球最常见的成人非霍奇金淋巴瘤(NHL),占所有地域 NHL 的 30%~40%。在中国,DLBCL 占所有 NHL 的 40.8%。

与美罗华相比,泽贝妥单抗具有不同的氨基酸序列和不同的结合表位。在体外生物学活性研究中表现出更强的 ADCC 活性;在人体药代动力学研究中表现出更大的稳态分布容积和较低的血清药物暴露水平;在人体药效动力学研究中具有对 B 细胞更持久的清除作用和对 CD3+/CD8+T 细胞更持久的激活作用。

在 III 期确证性临床研究中,泽贝妥单抗注射液联合 CHOP 治疗弥漫大 B 细胞淋巴瘤初治患者在 ORR 上非劣于 R-CHOP,且在治疗结束时 CR 率显著更高;在长期生存获益上,泽贝妥单抗注射液组的 1 年 PFS 和 OS 呈现出显著优于美罗华组的趋势;治疗生发中心 B 细胞样和骨髓未受累两个亚型人群中,泽贝妥单抗注射液组的 CR 率均显著更高,1 年 PFS 和 OS 同样有显著优于美罗华组的趋势。

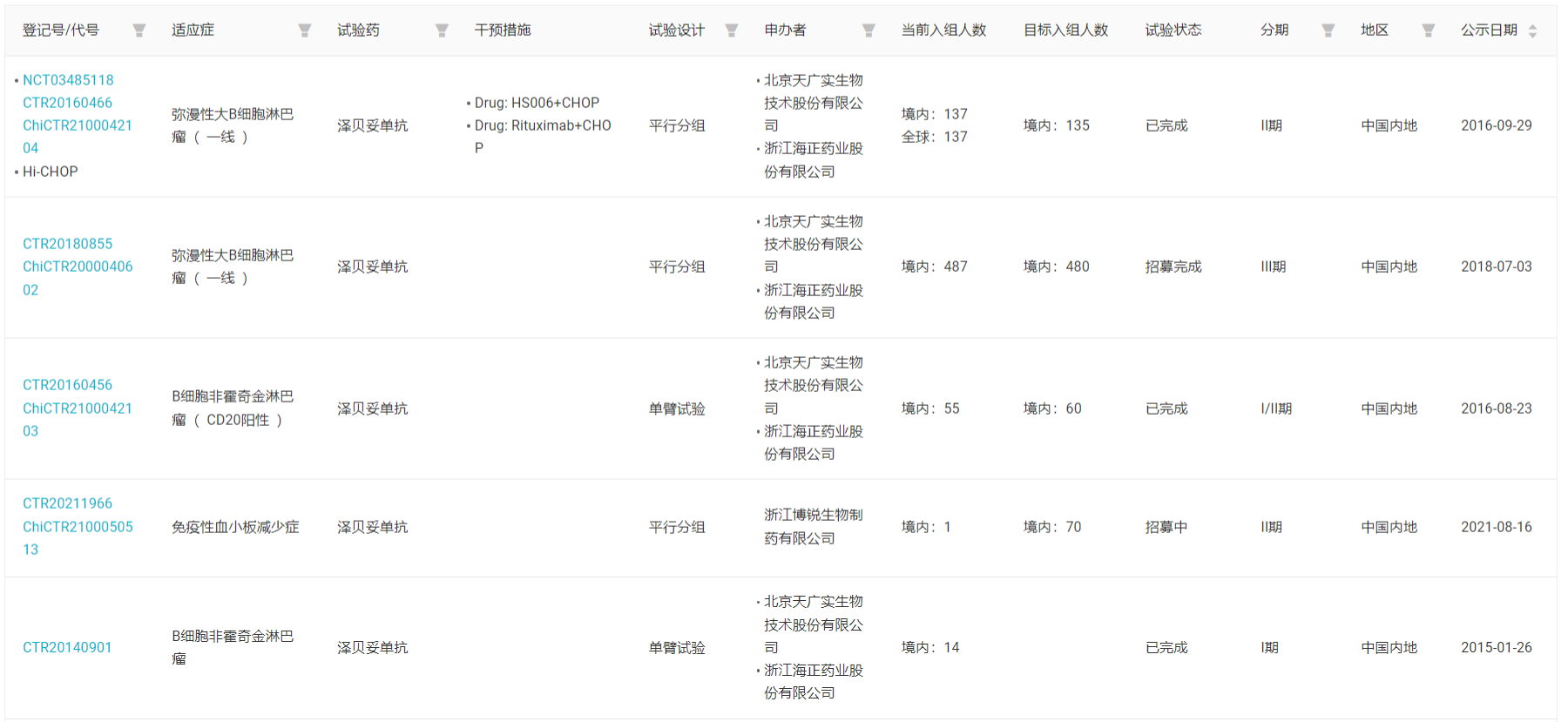
据 Insight 数据库,泽贝妥单抗共开展了 5 项临床试验,用于初治 CD20 阳性弥漫性大 B 淋巴瘤的 III 期临床于 2018 年启动,此外还在 2021 年 8 月针对自免领域的原发免疫性血小板减少症开展了 II 期临床。

泽贝妥单抗登记的临床试验

截图来自:Insight 数据库网页版

CD20(Cluster of Differentiation 20)是一种跨膜磷蛋白,位于 B 淋巴细胞表面,抗 CD20 单抗通过与跨膜抗原 CD20 特异性地结合启动 B 细胞溶解的免疫反应,被广泛应用于包括 B 细胞淋巴瘤和自身免疫性疾病在内的多种疾病。

根据人源化程度以及 Fc 片段修饰,抗 CD20 单抗可以分为三代:第一代主要以利妥昔为代表的嵌合或者鼠源单抗,第二代是以奥瑞珠单抗、奥法妥木单抗为代表的人源化单抗,第三代的抗 CD20 单抗以奥妥珠单抗为代表,其抗体的 Fc 片段经过了糖基化修饰。

尽管 CD20 单抗获批和在研均有,但这些抗 CD20 单抗在结构、适应症上都具有差异化特征,也分别在各自的领域斩获了不菲战绩。罗氏更是对 CD20 高达 12 款新药的广泛覆盖、从单抗迭代到双抗研发,取得的成果也充分证实了 CD20 靶点的潜力。

不光峰值销售额达到 75.35 亿美元的老「三驾马车」之一利妥昔单抗,二代 CD20 单抗奥瑞珠单抗也已经成为罗氏 TOP1 产品,22 年全球销售额高达 63.33 亿美元。

博锐生物的泽贝妥单抗此次获批上市,将为国内患者增添新的治疗选择,同时后续商业化成绩也值得期待。

2、圣和药业:1 类新药「奥磷布韦」获批上市

5 月 17 日,NMPA 发布公告官宣南京圣和药业的 1 类新药「奥磷布韦片」(受理号:CXHS2000042)获批上市,与盐酸达拉他韦联用,治疗初治或干扰素经治的泛基因型成人慢性丙型肝炎病毒(HCV)感染,可合并或不合并代偿性肝硬化。

奥磷布韦片是国内首个拥有自主知识产权的 NS5B 抑制剂,属于泛基因型慢性丙肝治疗直接抗病毒药物(Direct antiviral agent, DAA),此前在 2020 年 11 月申报上市并被纳入优先审评程序。

据 Insight 数据库显示,奥磷布韦在 2016 年首次申请临床,次年首个临床试验启动。

截图来自:Insight 数据库网页版

在一项纳入 326 位受试者的单臂、开放性、多中心 III 临床试验中,采用与历史对照进行优效性比较的单组目标值法设计,全部受试者接受了奥磷布韦(600 mg,每日 1 次)联合盐酸达拉他韦(60 mg,每日 1 次)治疗,服药周期为 12 周。完成治疗的受试者在治疗结束后第 4 周和第 12 周接受随访。在治疗结束后第 12 周随访时 HCV RNA 低于定量下限(LLOQ)的受试者,将在治疗结束后第 24 周进行额外随访。主要疗效指标为治疗结束后 12 周时获得持续病毒学应答(SVR12)的受试者的比例。

治疗期:在治疗期第 4 周时,92% 的受试者获得了 RVR4(治疗 4 周时 HCV RNA 低于最低定量下限的受试者比例);在治疗期结束(第 12 周)时,100% 的受试者获得了 ETVR(治疗 12 周时 HCV RNA 低于最低定量下限的受试者比例);

治疗结束后随访期:在治疗结束后第 4 周时,98% 的受试者获得了 SVR4。在治疗结束后第 12 周时,98% 的受试者获得了 SVR12,其中 GT3 型受试者 SVR12 为 95%(GT3a SVR12 94%,GT3b SVR12 100%)。治疗结束后第 24 周时,在治疗结束后 12 周基础上未新增复发受试者。

与国内目前已批准上市的三款泛基因型丙肝药物组合相比(索磷布韦/维帕他韦、格卡瑞韦/哌仑他韦和盐酸可洛派韦/索磷布韦),圣和药业自主研发的奥磷布韦片/达拉他韦片联用方案在 GT3 型丙肝患者(特别是 GT3b 型丙肝患者)中表现出了更优秀的病毒学应答率。

与现有治疗手段相比,奥磷布韦/达拉他韦具有更显著、更重要的治疗效果,可替换现有治疗手段,从增加国内丙肝患者治疗方案的角度,该药物是对现有治疗手段进行的重要补充。

获批临床

1、威斯克生物:首个针对 XBB 的二价/三价疫苗获批临床

5 月 17 日,由威斯克生物/川大华西医院针对最新流行 XBB 等新冠变异株研发的两个产品,即重组双价新冠病毒蛋白疫苗(Sf9 细胞)重组三价新冠病毒三聚体蛋白疫苗(Sf9 细胞),已获 NMPA 批准临床。

这两款疫苗也是在全球率先进入临床试验的针对 XBB 等变异株的新冠疫苗。

2023 年 5 月初,国务院联防联控机制召开新闻发布会,会上介绍,随着我国对外交流的增加,我国新冠病毒主要流行株的构成受国际影响明显增大。监测数据显示,目前我国新冠病毒主要流行株已变为 XBB 系列变异株。

在此背景下,威斯克生物利用国际先进的昆虫细胞生产重组蛋白疫苗技术平台,研发出重组双价新冠病毒(XBB 变异株+原型株)蛋白疫苗(Sf9 细胞)威克欣®二价和重组三价新冠病毒(XBB+BA.5+Delta 变异株)三聚体蛋白疫苗(Sf9 细胞)。针对最新流行的 XBB 等新冠变异株研发的双价与三价新冠两个产品,对当前 XBB 等变异株新冠病毒的感染预防有重大的意义,为新冠疫情的常态化管理贡献威斯克生物的力量。

重组双价新冠病毒(XBB 变异株+原型株)蛋白疫苗(Sf9 细胞)是成都威斯克生物在重组新型冠状病毒疫苗(Sf9 细胞)-- 威克欣®基础上开发的新升级版疫苗。

经测试,该疫苗可诱导产生针对 XBB.1.5、XBB.1.16、XBB.1.9.1、XBB.2.3、BA.5、BF.7、BQ.1 等多种变异株在内的高水平中和抗体,提示该疫苗是针对多种变异株的通用型新冠疫苗,尤其是针对 XBB 系列变异株的中和抗体水平升高特别明显。

重组三价新冠病毒(XBB+BA.5+Delta 变异株)三聚体蛋白疫苗(Sf9 细胞)则是成都威斯克生物与其子公司广州威斯克生物利用国际先进的昆虫细胞生产重组蛋白疫苗技术平台快速响应的优势,完成载体构建生产出的高纯度、高质量、可应用于人体的三价重组蛋白疫苗。

该疫苗针对新冠突变株 XBB 与 BA.5 等的 S-RBD 与 HR 蛋白,基于结构精准设计了亚单位疫苗抗原,可自组装为稳定的三聚体结构的蛋白颗粒。

经测试,该疫苗可诱导产生针对 XBB.1.5、XBB.1.16、XBB.1.9.1、XBB.2.3、BA.5、BF.7、BQ.1、BA.2.75 等变异株的高水平的中和抗体,提示该疫苗是针对等国内外流行的多种变异株的广谱的新冠疫苗。

此前,威斯克生物研发的重组新型冠状病毒疫苗(Sf9 细胞)威克欣® 已经在 2022 年 12 月经国家相关部门批准纳入紧急使用,目前已在中国 20 多个省份实现招标准入及供应接种。

申报临床

1、阿斯利康:CD3/CLDN18.2 双抗申报临床,引进自和铂医药

5 月 16 日,CDE 官网显示,阿斯利康的 AZD5863 首次申报临床。

AZD5863 即 2022 年 4 月从和铂医药引进的 CD3/CLDN18.2 双抗项目 HBM7022,这笔交易涉及 2500 万美元首付款和 3.25 亿美元里程碑款,阿斯利康由此获得了这款新药的全球权益。

截图来自:CDE 官网

HBM7022 由和铂医药的免疫细胞衔接器平台 HBICE® 开发,采用二价高亲和力抗 CLDN18.2 和单价低亲和力抗 CD3 结构,在保证高杀伤活性的同时,降低了产生细胞因子风暴的风险,展现出良好的安全性、药代动力学特征和可开发性;同时改造了 Fc 端,有效延长半衰期,规避 Fc 交联和 ADCC 功能。

HBM7022 分子设计

图源:和铂医药官方资料

临床前数据已经表现出对 CLDN18.2 高表达的肿瘤细胞系的高度杀伤作用。

图源:Antibody Therapeutics & Engineering Europe (June 8-10, 2021)

据 Insight 数据库显示,当前全球共有 14 个 CD3/CLDN18.2 双抗在开发,其中最快的 4 个项目处于 I 期临床阶段,分别来自安斯泰来(ASP2138)、信达生物(IBI389)、齐鲁制药(QLS31905)和安进/百济神州(AMG910);AZD5863 / HBM7022 如今也申报临床。可以看出,在第一梯队里中国企业身影频现。

全球已启动临床研究的 CD3/CLDN18.2 双抗

图源:Insight 数据库网页版

除此之外,其余 9 个项目都处在临床前开发阶段,5 个项目由中国企业布局:君实生物、友芝友、嘉和生物、天广实、道尔生物(华东医药)。

2、华东医药:长效 GLP-1R/GCGR/FGF21R 三靶点降糖药申报临床

5 月 18 日,CDE 官网显示,华东医药控股子公司道尔生物「注射用 DR10624」首次在国内申报临床并获得受理。Insight 数据库显示,此前在 22 年 4 月其 IND 申请在新西兰获批,并在同年 6 月启动了 I 期临床试验。

截图来自:CDE 官网

DR10624 为全球首创(first-in-class)的一种靶向 GLP-1 受体(GLP-1R)、GCG 受体(GCGR)和 FGFR1c/Klothoβ(FGF21R)的长效三靶点激动剂,拟用于治疗 2 型糖尿病、肥胖、代谢综合征等。这是同类药物中全球首款进入临床开发的品种。

随着人口老龄化、城市进程的加快,糖尿病患病数的不断上升,糖尿病领域仍存在较大未被满足的临床需求,糖尿病治疗用药长期具备广阔的发展空间。中国的糖尿病患者数位居世界第一,2019 年中国有 1.16 亿成年人糖尿病患者,仍在持续增长。因此,DR10624 不仅有望满足临床治疗需求,也存在巨大的潜在市场空间。

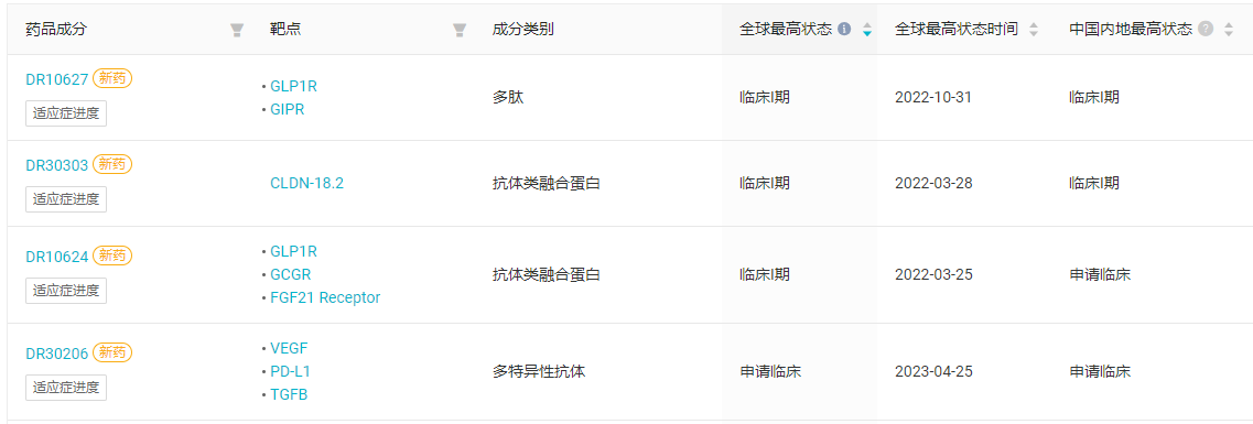
2021 年 4 月 27 日,华东医药宣布以 4.875 亿元人民币收购浙江道尔生物科技有限公司 75% 股权,成为其控股股东。道尔生物聚焦于开发基于多结构域的多特异性创新融合蛋白、抗体药物及多肽药物,以满足肿瘤、代谢、眼科等领域的未被满足的临床需求。

在该笔交易中,华东医药获得了道尔生物 4 大创新技术平台和 6 款重点在研产品。目前,已有 4 个项目进入临床开发,靶点及阶段如下:

道尔生物进入临床的新药项目

截图来自:Insight 数据库网页版

华东医药深耕糖尿病领域,在内分泌领域以 GLP-1 靶点为核心,打造了领先的肥胖、糖尿病和糖尿病并发症创新药物研发平台,并建立了涵盖口服、注射剂等多种剂型的长效和多靶点全球创新药和生物类似药相结合的 GLP-1 及相关靶点产品管线。

境外创新药进展

境外部分,本周共有 16 款创新药(含改良新)研发进度推进到了新阶段,其中 3 款获批上市, 2 款申报上市,9 款获批临床。

申报上市

1、恒瑞医药:PD-1 单抗在美国申报上市,一线肝细胞癌

5 月 17 日,Elevar Therapeutics 宣布,已向 FDA 递交 PD-1 卡瑞利珠单抗联合阿帕替尼一线治疗肝细胞癌的新药上市申请(BLA)。

据 Insight 数据库显示,Elevar Therapeutics 是阿帕替尼的海外权益持有者,与恒瑞 PD-1 卡瑞利珠单抗的联用临床合作在 2018 年 10 月达成。根据合作协议,恒瑞负责临床试验的管理,联用组合的境外临床费用双方均摊;Elevar 保留阿帕替尼的海外权益,恒瑞则拥有卡瑞利珠单抗的权益。

截图来自:Elevar Therapeutics 官网

恒瑞的「双艾组合」本次在美国递交上市申请,是基于 III 期临床试验 SHR-1210-III-310(登记号:NCT03764293),其结果在去年 ESMO 年会上作为 LBA 报告发布。这是一项由肝癌著名专家秦叔逵作为全球 leading PI 的随机、开放标签、国际多中心 III 期研究,对比索拉非尼,主要终点为 IRC 评估的 PFS 和 OS,关键次要终点为 ORR。

研究共纳入 543 例受试者,亚洲人占比近 83%,非亚洲人群占 17.3%;BCLC C 占比 86%,PS=1 占比 56%,HBV 病因学占比 76.5%,局部治疗占比 59.2%。

SHR-1210-III-310 入组患者基线特征

截图来自:ESMO

结果显示,相比索拉非尼,双艾可显著改善 mPFS(5.6 个月 vs 3.7 个月),降低 48% 疾病进展或死亡风险,p<0.0001;可显著延长 mOS(22.1 个月 vs 15.2 个月), 降低 38% 死亡风险,p<0.0001。索拉非尼后续免疫治疗比例为 33.5%。亚组分析显示,HBV 病因学肝细胞癌似乎更能从双艾中获益。

ITT 人群中 PFS 主要终点数据

这是在信达、君实、百济、天晴之后,第 5 家正式向 FDA 提交上市申请的国产 PD-1。而第 6 家也已经箭在弦上,复宏汉霖头对头罗氏 T 药的小细胞肺癌美国桥接临床试验正在进行中,拟报上市。

从申报适应症来看,目前活跃中的出海 PD-1 单抗选取的切入点都各不相同,一方面在癌种选择上侧重亚洲高发癌种,发病率差异或可为其临床证据积累和注册临床入组人种比例提供依据;另一方面则布局总体发病率居高的癌种,以获取更大的回报。

国产 PD-1 美国申报情况概览

数据来自 Insight 数据库网页版,人工整理如有纰漏还请指出

君实、正大天晴主攻鼻咽癌,这个适应症患者群体主要是亚洲人,在美国属于罕见癌种,在监管审批上有优势。百济选择食管鳞癌,恒瑞则选择肝细胞癌,这两个癌种同样是亚洲发病率高于欧美的癌种,不过在全球范围内也位列 TOP10 癌症之列。复宏汉霖选择小细胞肺癌为突破口,则主要基于临床数据上的独特优势。

疫情过后,FDA 的海外现场检查已经恢复,进展较快的君实和百济都有望在今年得到审评结论,这场 PD-1 们向美国市场发起的商业化争夺战已经即将决出冠军。

同时,在超过两年的出海征程中,国内药企也不再只盯美国市场,开始在欧洲、东南亚等全球市场广泛布局、多点开花,在内卷中诞生的创新成果即将在海外兑现商业和临床价值。

君实生物「特瑞普利单抗」对外合作和授权

截图来自:Insight 数据库网页版

关键临床结果

1、阿斯利康:奥希替尼联合化疗 III 期临床 FLAURA2 试验成功

5 月 17 日,阿斯利康宣布,III 期临床试验 FLAURA2 获得了高水平阳性结果,奥希替尼(Tagrisso,泰瑞沙®)联合化疗相较于奥希替尼单药一线治疗局部晚期(IIIB-IIIC 期)或转移性(IV 期)EGFR 突变 NSCLC 中表现出具有统计学显著性和临床意义的 PFS 改善。

目前,OS 数据尚未成熟,将在后续分析中继续评估;安全性方面则与既往各药物特征一致。阿斯利康将在后续医学大会上公布 FLAURA2 数据。

这项临床试验的成功,意味着 EGFRm NSCLC 患者有望迎来更优治疗方案,延长其一线疗法获益时间。

截图来自:阿斯利康官网

FLAURA2(登记号:NCT04035486)是一项随机、开放标签、全球多中心 III 期临床试验,纳入 586 名局部晚期(IIIB-IIIC 期)或转移性(IV 期)EGFRm NSCLC 患者进行一线治疗。患者接受每日一次奥希替尼 80 mg 联合每三周一次化疗(培美曲塞 [500 mg/m²] + 顺铂 [75 mg/m²] 或卡铂[AUC5]),持续四个周期;随后每三周接受一次奥希替尼 + 培美曲塞维持治疗。

这项试验登记于 2019 年 6 月,在美国、欧洲、亚洲等 20 多个国家的 150 多个中心招募患者,其中也包括了中国地区的 112 例患者。本次积极结果是对 PFS 主要终点的最终分析。试验仍在进行中,将继续评估 OS 的次要终点。

FLAURA2 试验历程

截图来自:Insight 数据库网页版

奥希替尼作为首款获批上市、临床证据最充分的三代 EGFR 抑制剂,其单药疗法已经在中美日欧在内的 100 多个国家或地区获批上市,获批适应症包括晚期 EGFRm NSCLC 二线、一线治疗以及早期 EGFRm NSCLC(IB/II/IIIA 期)辅助治疗。

除了在晚期疾病状态中评估奥希替尼与化疗的联合疗法(FLAURA2 研究)之外,阿斯利康还瞄准早期肺癌开展了多项 III 期临床,包括对于新辅助可切除环境(NeoADAURA 研究)、IA2-IA3 期辅助可切除环境(ADAURA2)和 III 期局部晚期不可切除环境(LAURA)。

同时,针对耐药问题,阿斯利康也在进行持续探索:联用口服 MET 抑制剂赛沃替尼开展 II 期临床 SAVANNAH 和 III 期临床 SAFFRON,联用多种其他药物的 II 期临床 ORCHARD。不光奥希替尼联合疗法,阿斯利康还基于自家平台开发了 EGFR/c-MET 双靶点 ADC 新药 AZD9592,同样旨在解决耐药问题。

2、礼来制药:PD-1 激动剂在自免领域首个临床成功

5 月 18 日,礼来宣布其 PD-1 激动剂 peresolimab 治疗类风湿关节炎(RA)的 2a 期临床试验结果发布在 NEJM。这是 PD-1 激动剂治疗自免疾病的首个临床证据。

截图来自:礼来官网

在 PD-1 为首的免疫检查点抑制剂们在肿瘤领域卷生卷死的同时,药企也在开发相应靶点的激动剂类药物,用于治疗自身免疫疾病。据 Insight 数据库显示,当前已有 15 个 PD-(L)1 项目被开发用于自免,而其中 5 个项目已启动临床试验,礼来是当中魁首。

开发自免疾病的 PD-(L)1 靶点新药

截图来自 Insight 数据库网页版

礼来本次发表的数据在 2022 年 11 月首先作为 LBA 摘要展示于 ACR(美国风湿病学会)年会。这项双盲、随机、安慰剂对照的 2a 期临床纳入了对 DMARDs 响应不足、无响应或不耐受的中至重度风湿性关节炎成人患者,按 2:1:1 比例随机分配,每 4 周一次静脉给药 700mg、300mg peresolimab 或安慰剂。

试验主要终点为基于 C 反应蛋白水平的 28 个关节疾病活动评分(DAS28-CRP)从基线至第 12 周的变化,主要比较 700 mg 组与安慰剂组之间的差异;次要终点则包括较基线实现 20%、50%、70% 缓解(即 ACR20、50、70)的患者比例等指标。

结果显示,该项试验达到了主要终点,在 12 周时 700mg 组患者 DAS28-CRP 评分相较于基线的改变显著强于安慰剂组(最小二乘平均变化 [±SE],-2.09±0.18 vs. -0.99±0.26,相差 -1.09 [95% CI, -1.73-0.46]; P<0.001)。次要终点方面,700mg 组 ACR20 应答优于安慰剂。

临床试验结果

截图来自 Insight 数据库网页版

安全性方面,peresolimab 耐受性良好,治疗组与安慰剂组副作用发生率相当。

本次结果支持 peresolimab 在风湿性疾病中的进一步开发,礼来也表示将继续开展临床试验以评估该药治疗 RA 的潜力,包括正在进行的 2b 期试验 RESOLUTION-1 (NCT05516758);也将考虑将该药应用于其他自身免疫疾病。

截图来自:礼来 2021 投资者日

多说一点

康宁杰瑞 PD-L1/CTLA-4 双抗肺癌 III 期临床数据延迟读出

5 月 19 日,康宁杰瑞发布公告宣布,自研 PD-L1/CTLA-4 双抗 KN046 的首个 III 期注册临床 ENREACH-LUNG-01(KN046-301)已于 2022 年 3 月完成第一次期中分析。

KN046-301 研究成功达到预设 PFS 终点,不过 OS 暂未达到统计学显著性差异,因此近期该项试验未能成功完成揭盲。独立数据监察委员会建议该研究继续进行,并进一步收集后续的 OS 数据直至最终 OS 分析。

在公告发布前日,康宁杰瑞股价已经跳水近 20%,当日中午最大跌幅又接近 22%,收跌 14.23%。近 5 日其股价共计跌落超过 30%

据此前业绩更新,康宁杰瑞预计 Q2 读出 1L 鳞状 NSCLC 关键临床数据,Q3 申报 BLA;另一项用于 1L 胰腺癌的关键临床则预计在 Q3 读出数据、Q4 申报 BLA,将成为该药的下一个重要里程碑。

您可能感兴趣
8.5亿美元!天境生物与Biogen达成合作
8.5亿美元!天境生物与Biogen达成合作
产业资讯 药时代 2026-04-22 13
222亿首付款!体内CAR-T史上最大一笔收购诞生
222亿首付款!体内CAR-T史上最大一笔收购诞生
产业资讯 动脉新医药 2026-04-22 13