产业资讯
Insight数据库
2023-05-25
4847
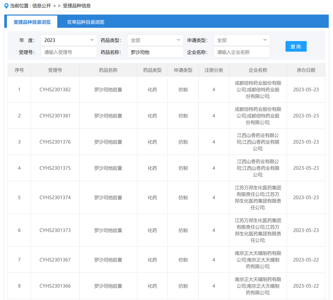
近 日,CDE 公示受理了 8 条罗沙司他仿制药上市申请,分别来自:南京正大天晴、万邦医药、山香药业、成都倍特。这是罗沙司他首次有仿制药申报上市,一次 4 家,赚足眼球。
罗沙司他(Roxadustat)是珐博进研发的一款口服小分子缺氧诱导因子脯氨酰羟化酶 (HIF-PH) 抑制剂,是 CKD 贫血症领域的首个 HIF-PH 抑制剂。从机制来看,罗沙司他通过增加促红细胞生成素的内源性产生、改善铁的吸收和动员以及下调铁调素,从而促进红细胞的产生。
在中国,罗沙司他由阿斯利康合作商业推广。
罗沙司他仿制药受理号公示
截图来自:CDE 官网
罗沙司他的全球首批在中国。早在 2018 年 12 月,罗沙司他就在中国获批上市,已经通过谈判进入医保乙类目录。根据阿斯利康财报,罗沙司他在 2022 年度获得的销售额已经达到 1.97 亿美元,折合人民币近 14 亿元(以当前汇率折算)。由于在美国暂未获批上市,这部分收入主要来自于中国区的销售。
除了中国之外,罗沙司他在 2019 年和 2021 年也分别在日本和欧盟取得了上市批准。根据珐博进的全球合作网络,这两大市场由安斯泰来负责。
根据 CDE 专利登记平台,罗沙司他的专利到期时间在 2024 年 6 月。Insight 数据库显示,迄今已有 15 家药企针对罗沙司他启动了 BE 试验,前 4 家已申报上市,后续企业还包括了齐鲁制药、石药集团、山东新时代、哈尔滨三联等。
罗沙司他国内竞争格局(Insight)
截图来自:Insight 数据库网页版
产业资讯
研发客
2026-04-03
914
产业资讯
医麦客
2026-04-20
92
产业资讯
生物制品前沿动态
2026-04-20
91