EN
产业资讯 政策法规 研发追踪 医改专题
科伦药业第 4 款 ADC 启动临床!盘点 ADC 管线现状
产业资讯 Insight数据库 2023-04-27 4074

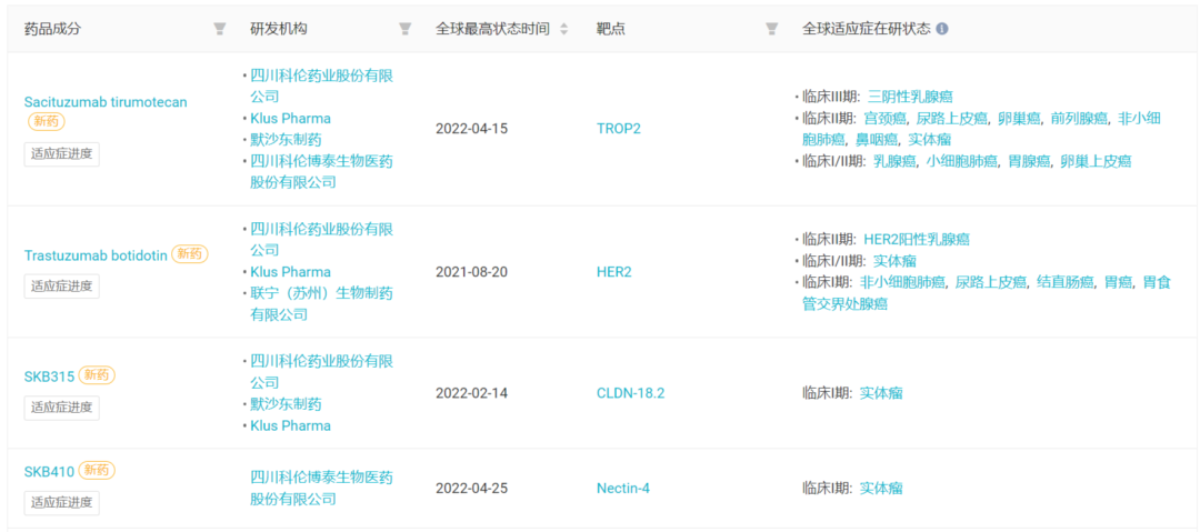
4 月 25 日,Insight 数据库显示,科伦药业的 Nectin-4 ADC SKB410 启动了 I 期临床试验,评价该药用于晚期实体瘤受试者的安全性、耐受性、药代动力学和初步疗效。

这是 SKB410 的首个临床试验,标志着这一项目正式进入了临床阶段,这也是科伦启动临床的第 4 个 ADC 项目。

临床试验登记信息

截图来自:Insight 数据库网页版(http://db.dxy.cn/v5/home/)下文如无标注则同一来源

当前全球肿瘤领域药企纷纷重押 ADC 领域,科伦作为 MNC 默沙东选中的合作伙伴,3 笔重磅合作 9 个 ADC 项目引起较大关注,累积合作额高达 118.21 亿美元,其中包括 2.57 亿美元的首付款。

据 Insight 数据库显示,9 个合作 ADC 项目中当前已有 4 款披露并启动临床,进展最快的是 TROP2 ADC SKB264,针对三阴乳腺癌已经启动 III 期临床。

科伦 4 款已披露 ADC 药物适应症研发进展

SKB264(TROP2)

SKB264 为科伦博泰拥有自主知识产权的 TROP-2 ADC,于 2020 年 4 月获得国家药品监督管理局的默示许可,为首家获批 IND 的国产 TROP-2 ADC。

据 Insight 数据库显示,获批临床仅 2 个月科伦就启动了 SKB264 的 I/II 期临床。其首次人体 I/II 期临床覆盖了多个癌种,包括三阴乳腺癌、卵巢上皮癌、非小细胞肺癌、小细胞肺癌、胃腺癌和尿路上皮癌。

SKB264 国内项目概览

SKB264 的早期临床研究结果显示了在转移性实体瘤患者中良好的耐受性、安全性和令人鼓舞的抗肿瘤活性,在 TNBC 和卵巢癌中的疗效数据尤为亮眼。根据最初在 CSCO 发布的数据,17 例既往经历多线治疗的实体瘤患者接受了至少一次疗效评估,总缓解率(ORR)为 41.2%(7/17),疾病控制率(DCR)为 70.6%(12/17)。其中 5 例 TNBC 患者中有 2 例 PR(ORR 为 40%),其他瘤种中也获得了较好的疗效反应。

SKB264 I/II 期临床结果

来自:CSCO,科伦药业官微

2022 SABCS 中,科伦又发布了新的 II 期临床数据,在 59 例患者中实现了 40% 的 ORR,其中 TROP2 高表达亚组 ORR 达到 55%。

SABCS 临床数据

2022 年 4 月,SKB264 已经启动 III 期临床试验,针对三阴乳腺癌(登记号:NCT05347134、CTR20220878),当前正在进展中。

SKB264 针对三阴乳腺癌研究进展甘特图

三阴乳腺癌适应症率先进入了临床 III 期开发,将是 SKB264 首个申报上市的适应症。通过这项 III 期临床,科伦期望未来 SKB264 在上市申报时获得完全批准。同时,和默沙东的合作临床研究也在推进中。

A166(HER2)

A166 是科伦首个 ADC 项目,2017 年首次申请临床,临床试验在 2018 年度启动。这款 ADC 针对同类药物中最「卷」的靶点 HER2,布局适应症包括 HER2 阳性乳腺癌、NSCLC、结直肠癌、胃癌、尿路上皮癌等。

项目关键节点

在设计上,A166 有差异化特点,采用高毒 payload 和更稳定的连接接头,在临床数据中已经看到差异化趋势:一是 A166 在 HER2 乳腺癌上的疗效,患者几次给药后就有早期的疗效反应;二是 A166 没有间质性肺炎,血液系统的毒性也相对较低。目前,有 2 项早期临床结果已经披露。

A166 已披露临床试验结果

据科伦此前投资者交流中透露的信息,当前 A166 已完成 Pre-NDA,计划年内向 CDE 递交上市申请并开展 III 期注册性研究。

SKB315(CLDN18.2)

SKB315 在 2021 年 8 月首次报临床,22 年 2 月在国内启动 1 项临床试验。

CLDN18.2 已经成为仅次于 HER2、TROP2、EGFR 的第 4 大 ADC 新药靶点,大部分项目近年才高速涌现。交易角度看,发生在这一靶点上的项目有 20 项之多,2022 年初迄今已经有 10 项。阿斯利康对这一靶点尤为关注,引进了 2 款国内企业开发的新药:CMG901(康诺亚,ADC)和 HBM7022(和铂,CD3/CLDN18.2)。

CLDN18.2 靶点交易趋势

研发阶段来看,据 Insight 数据库,当前有 19 个同靶点 ADC 项目。全球进展最快的也才刚处于 I/II 期临床阶段,布局者们进展差异并不大,但竞争格局很卷,药企要比拼执行力和新药设计硬实力。4 款 I/II 期临床阶段药物包括国内恒瑞的 SHR-A1904、荣昌的 RC118、礼新医药的 TPX-4589。

CLDN18.2 主要成分类别

SKB410(Nectin-4)

SKB410 是在去年 12 月首次在国内递交临床试验申请,并于今年 2 月获批临床,今日刚刚启动临床。

Nectin-4 在多种类型癌症中表达被重新激活并有高表达量,包括膀胱癌、三阴性乳腺癌、肺癌、结直肠癌、胰腺癌及卵巢癌。Nectin-4 的正调控也为一些癌症类型中总体生存率较差的独立生物标记物。由于在癌症中的选择性表达,Nectin-4 已成为有潜力用于治疗各种癌症的靶点。

与 HER2、TROP2 等热门靶点相比,Nectin-4 ADC 当前赛道并不拥挤,据 Insight 数据库显示,当前全球共有 5 款临床阶段在研产品,另有 1 款获批上市,Seagen/安斯泰来 Enfortumab Vedotin(Padcev)。

据 Seagen 财报显示,Padcev 2021 年销售额为 3.4 亿美元;2022 年为 4.51 亿美元,同比增长约 32.65%。

在 Padcev 之外,其余项目仍处于较早期阶段。除了科伦药业 SKB410,石药集团也以总金额 6.925 亿美元将其在研 Nectin-4  ADC 授权给美国 Corbus 公司。百奥泰以及迈威生物也有相应布局。

全球进入临床阶段的 Nectin-4 ADC 项目

来自:Insight 数据库网页版

您可能感兴趣
8.5亿美元!天境生物与Biogen达成合作
8.5亿美元!天境生物与Biogen达成合作
产业资讯 药时代 2026-04-22 30
222亿首付款!体内CAR-T史上最大一笔收购诞生
222亿首付款!体内CAR-T史上最大一笔收购诞生
产业资讯 动脉新医药 2026-04-22 30