EN
产业资讯 政策法规 研发追踪 医改专题
5 月 104 款新药研发进入新阶段,恒瑞、天晴高光! | Insight 创新药月报
产业资讯 Insight数据库 2022-06-02 3196

5 月已经进入最后一日。据 Insight 数据库 全球新药数据,本月共 104 款国内企业参与研发的创新药开发阶段发生了新变动:

3 款新药申报上市,分别来自正大天晴、恒瑞医药和兴盟药业

5 款新药启动 III 期临床,其中 2 款为针对 Omicron 开发的新冠疫苗

20 款新药首次启动临床,正大天晴独占 4 款

在 5 月月报中,Insight 筛选出 5 月最值得关注的临床后期新药和 MVP 企业做介绍。

3 款新药申报上市

5 月申报上市的国产创新药

来自:Insight 数据库 全球新药(http://db.dxy.cn/v5/home/)

1、兴盟生物:狂犬病抗体鸡尾酒疗法

5 月 27 日,兴盟生物 1 类新药泽美洛韦玛佐瑞韦单抗(SYN023)上市申请获 CDE 受理。这是中国境内首款申报上市的抗狂犬病毒复方抗体制剂。作为抗体鸡尾酒疗法,SYN023 能够有效覆盖突变株免疫逃逸,对诸如狂犬病这样的变异性强或者多亚型的病毒感染性疾病疗效和安全性更优。

SYN023 为两株人源化单克隆免疫球蛋白 IgG1κ 抗体:泽美洛韦单抗和玛佐瑞韦单抗,按照质量比 1:1 混合制成,通过对狂犬病毒多个糖蛋白位点的特异性结合,有效地实现对狂犬病毒的中和,从而消除狂犬病毒对神经细胞的感染能力。用于成人狂犬病病毒暴露者的被动免疫。

泽美洛韦单抗和玛佐瑞韦单抗对狂犬病毒糖蛋白具有高亲和力。两株单抗的抗原结合位点是特定且非重叠的,位于狂犬病毒糖蛋白序列不连续位置,无相互竞争效应,组合使用具有广谱的针对不同种群狂犬病毒株的中和保护和交叉保护作用。

至今已完成的中美临床超千例受试者研究结果显示:SYN023 具有良好的安全性和有效性,在狂犬疫苗接种响应空窗期内,具有比 HRIG 更高和更快达到人体血清保护滴度的优势,且不会影响狂犬疫苗中和抗体的产生。

本次上市申请是基于中国 III 期临床试验,研究数据显示截至目前所有受试者用药后的保护率为 100%(即无狂犬病死亡率),SYN023 试验组用药后第 8 天 RVNA(狂犬病毒中和抗体)几何平均滴度远高于 HRIG 对照组,达到全部主要疗效终点以及安全性终点要求。

此外,SYN023 在美国和菲律宾的多中心 IIb/III 期关键临床试验也已经完成全部 1 年期随访,顶线结果(Top Line Results)显示研究达到主要疗效终点和安全性终点。预计于今年第三季度向美国 FDA 递交上市申请

SYN023 项目适应症甘特图

来自:Insight 数据库 全球新药(http://db.dxy.cn/v5/home/)

2、恒瑞医药:降糖药复方药物

恒格列净二甲双胍缓释片(研发代号:HR20033)属于 2.3 类新复方药物,5 月 26 日其双规格上市申请获 CDE 受理。这是恒瑞医药自主研发的钠-葡萄糖协同转运体 2(SGLT2)抑制剂恒格列净与二甲双胍的固定剂量复方缓释制剂,通过两种不同作用机制达到降血糖作用。

来自:CDE 官网

SGLT2 抑制剂通过减少肾脏对葡萄糖的重吸收而降低血糖,是一类非胰岛素依赖性的降血糖药物,低血糖发生率较低。恒瑞的恒格列净是国产首个也是唯一一个获批上市的 SGLT2 抑制剂 1 类新药,不过目前国内小分子降糖药市场已被进口药及其仿制药占领,SGLT2 抑制剂竞争形势严峻。

HR20033 各适应症临床试验进展

来自:Insight 数据库 (http://db.dxy.cn/v5/home/)

目前据 Insight 数据库 显示,同类药物中勃林格殷格翰的恩格列净二甲双胍和华东医药的仿制药已经在国内获批上市,不过均非缓释剂型。缓释剂能够减少用药次数、简化降糖疗法,预期能够提高患者的治疗依从性。在本次恒瑞申报之前,国内乐普医药首家申报了卡格列净二甲双胍缓释片,阿斯利康也申报了达格列净二甲双胍缓释片。

国内 SGLT2+二甲双胍复方制剂

来自:Insight 数据库 (http://db.dxy.cn/v5/home/)

3、正大天晴:ALK 抑制剂

5 月 20 日,正大天晴 1 类新药 TQ-B3139 上市申请获 CDE 受理,用于 ALK 阳性晚期 NSCLC。这是正大天晴在安罗替尼之后申报上市的第 2 款 1 类新药。点此查看受理号

来自:CDE 官网

TQ-B3139(CT-1139)是正大天晴与首药控股联合开发的 c-Met/ALK/ROS 多靶点酪氨酸激酶抑制剂,由首药控股负责化合物分子的设计与优化,经过验证的临床前候选化合物转交天晴进行临床阶段开发,双方共同享有知识产权。

根据 Insight 数据库,TQ-B3139 进展最快的 III 期临床在 2019 年就已经启动,旨在比较该药与克唑替尼治疗 ALK 阳性晚期 NSCLC 的疗效和安全性;而 II 期临床则针对两项适应症:克唑替尼耐药后的 ALK 阳性晚期 NSCLC,以及 MET 基因异常 NSCLC。

除肺癌之外,TQ-B3139 还有两项不同癌种适应症获批临床,分别为弥散性大 B 细胞淋巴瘤和神经母细胞瘤,不过暂未启动临床。

TQ-B3139 各适应症临床试验进展

来自:Insight 数据库 (http://db.dxy.cn/v5/home/)

5 款新药进入 III 期临床

5 月启动 III 期临床的国产创新药

来自:Insight 数据库 全球新药(http://db.dxy.cn/v5/home/)

1、三款针对 Omicron 病毒株的新冠灭活疫苗

Omicron 突变株已经为全球疫情带来了新一轮挑战,国内企业也已经纷纷投入针对 Omicron 的疫苗研发中。在 5 月,科兴、北京生物制品研究所和武汉生物制品研究所的 Omicron 疫苗已经先后启动了 III 期临床。

北京生物的 Omicron 突变株新冠疫苗在今年 1 月 26 日开始滚动向 CDE 提交临床申请资料,于 4 月 26 日获得临床批件。首项 I/II 期临床(NCT05365724)在 5 月 1 日启动,5 月 13 日和 17 日又分别在香港和内地登记了两项 III 期临床。

在内地开展的随机、双盲、阳性对照 III 期临床试验(NCT05374954)拟招募 4200 人,评估 18 岁及以上既往接受过 2 针或 3 针新冠灭活疫苗接种的人群的安全性和免疫原性。在香港开展的临床试验(NCT05382871)则将招募 1800 人,该项临床同时评估北京生物(BIBP)和武汉生物(WIBP)的疫苗。

疫苗开发进展甘特图

来自:Insight 数据库 全球新药(http://db.dxy.cn/v5/home/)

科兴的 Omicron 疫苗同样在 4 月 26 日获得临床批件,其 III 期临床拟招募 1750 人。

疫苗开发进展甘特图

来自:Insight 数据库 全球新药(http://db.dxy.cn/v5/home/)

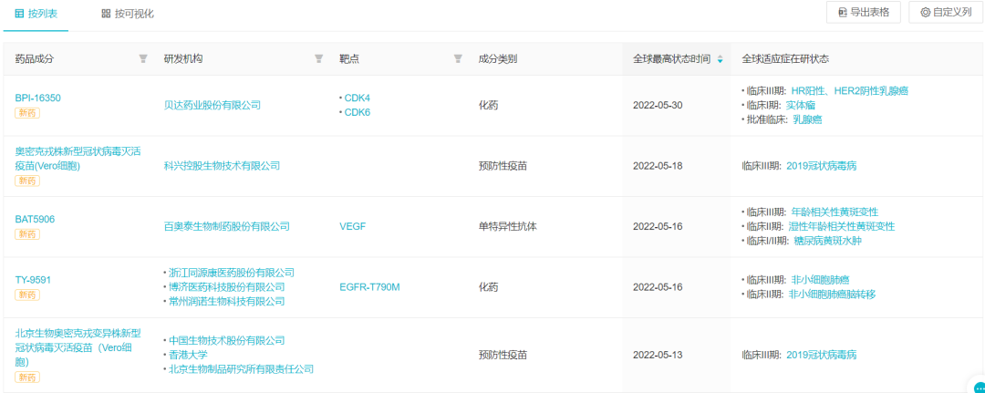
2、小分子新药:贝达 CDK4/6 抑制剂,同源康三代 EGFR-TKI

贝达药业的 CDK4/6 抑制剂 BPI-16350 在 5 月 30 日刚刚公示启动了 III 期临床,联合氟维司群治疗 HR+/HER2- 的局部晚期、复发或转移性乳腺癌(临床试验登记号:CTR20221037)。

据 Insight 数据库 显示,BPI-16350 在 2018 年 2 月首次申报临床,次年 1 月启动 I 期临床。

BPI-16350 适应症开发进度

来自:Insight 数据库 全球新药(http://db.dxy.cn/v5/home/)

辉瑞哌柏西利、礼来阿贝西利、诺华利柏西利三大主流 CDK4/6 抑制剂都已经在国内获批上市,哌柏西利已由齐鲁摘得首仿,后续一众仿制药企排队中;国产首款 CDK4/6 抑制剂、来自恒瑞医药的达尔西利也已经获批上市。据 Insight 数据库 显示,目前中国进度处于临床 III 期阶段的 CDK4/6 抑制剂还有 6 款,未来会有多大市场机会?还未可知。

国内临床 III 期+申报上市+获批上市 CDK4/6 抑制剂项目

来自:Insight 数据库 全球新药(http://db.dxy.cn/v5/home/)

同源康的三代 EGFR 抑制剂 TY-9591 也在 5 月 16 日公示启动了 III 期临床。不过 EGFR 属于热度更甚于 CDK4/6 的靶点,尤其是 EGFR-T790M。

恒瑞、天晴领衔,

齐鲁、先声、君实齐头并进

从研发机构分布来看,5 家企业在本月有超过 3 个项目开发阶段发生新变动,分别是恒瑞医药、正大天晴、齐鲁制药、先声药业和君实生物。

来自:Insight 数据库 全球新药(http://db.dxy.cn/v5/home/)

恒瑞医药 5 月申报临床新项目达到 2022 年迄今的高峰。前 4 个月,恒瑞合计申报了 6 个新药项目;而仅仅 5 月单月就达到了前四月合计申报量,其中 5 个为化药项目。

恒瑞医药新药项目 5 月进展

来自:Insight 数据库 全球新药(http://db.dxy.cn/v5/home/)*篇幅有限,详情可登陆 Insight 数据库查看

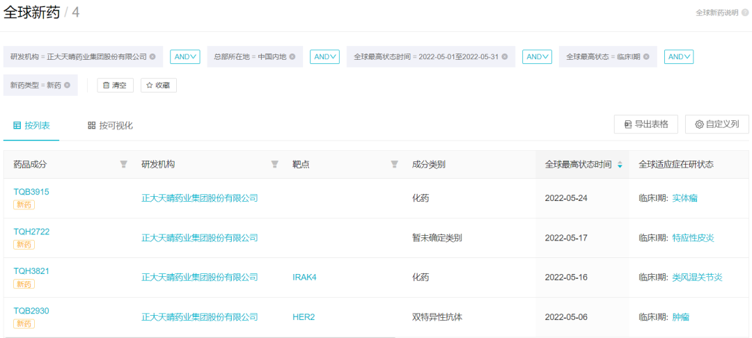
正大天晴在 5 月份有 4 个新药项目首次启动临床,包括 2 款抗肿瘤药(TQB3915、TQB2930)和 2 款自免新药(TQH2722、TQH3821)。

正大天晴 5 月启动临床的创新药

来自:Insight 数据库 全球新药(http://db.dxy.cn/v5/home/)

肿瘤领域仍遥遥领先,

新冠进展瞩目

从新药项目适应症分布来看,肿瘤(包括实体瘤及其他下级适应症)毫无意外占据绝大部分。不过仅次于肿瘤,新冠相关药物正在高速增长着,而疫苗在其中占据了绝大多数,针对 Omicron 毒株疫苗、mRNA 疫苗各显神通。

来自:Insight 数据库 全球新药可视化(http://db.dxy.cn/v5/home/)

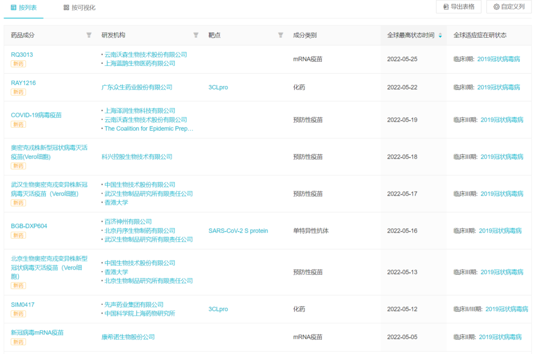
据 Insight 数据库,5 月份有新进展的新冠领域药物如下:

来自:Insight 数据库 全球新药(http://db.dxy.cn/v5/home/)